公布日:2023.09.08
申請日:2023.07.18
分類號:C02F1/04(2023.01)I;C02F103/38(2006.01)N;C02F101/32(2006.01)N
摘要
本發明提供了一種阻燃樹脂生產用甲苯廢水處理設備及方法,涉及阻燃樹脂生產技術領域。包括蒸汽輸送裝置,還包括蒸發器,所述蒸發器內設置有攪拌蒸發區,所述攪拌蒸發區包括若干個分隔設置的攪拌子區域,所述攪拌子區域內通過設置的攪拌結構對化工廢水進行攪拌。本發明通過將攪拌蒸發區分隔成多個攪拌子區域,使得液體分流進入各個攪拌子區域內,降低了單次加熱的液體的總量,從而降低了甲苯廢液發生爆沸現象的可能性,具有綠色節能,易于實施的優點。

權利要求書
1.一種阻燃樹脂生產用甲苯廢水處理設備,包括蒸汽輸送裝置,其特征在于,還包括蒸發器,所述蒸發器內設置有攪拌蒸發區,所述攪拌蒸發區包括若干個分隔設置的攪拌子區域,所述攪拌子區域內通過設置的攪拌結構對阻燃樹脂生產用甲苯廢水進行攪拌。
2.根據權利要求1所述的阻燃樹脂生產用甲苯廢水處理設備,其特征在于:所述攪拌蒸發區固定連接蒸發器內壁,或,所述攪拌蒸發區能夠在蒸發器內移動。
3.根據權利要求2所述的阻燃樹脂生產用甲苯廢水處理設備,其特征在于:所述攪拌蒸發區與蒸發器內壁滑動連接;和/或,所述攪拌子區域的底部設置移動板,所述移動板活動安裝于基座內,能夠抬升或降低移動板的至少一側。
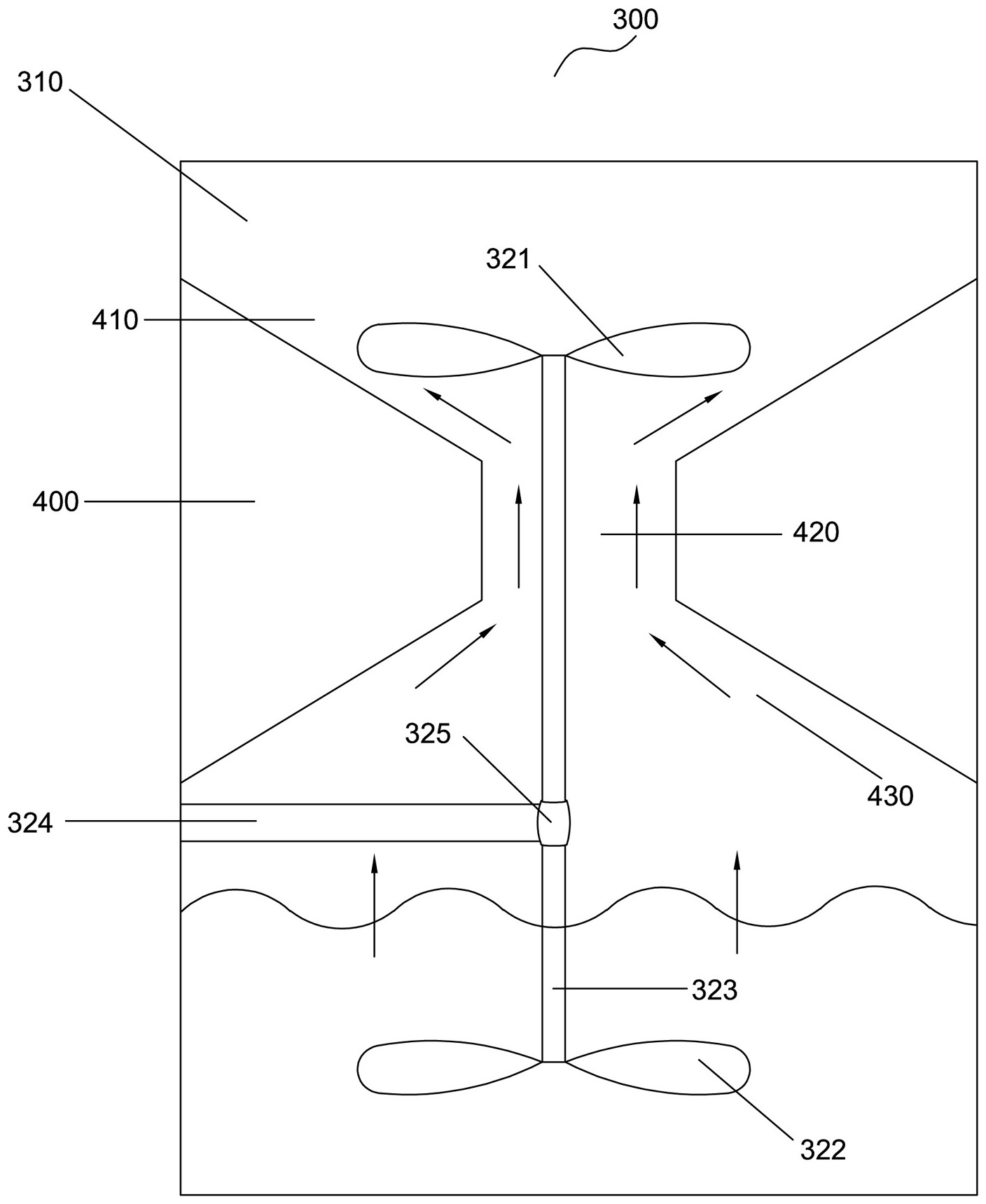
4.根據權利要求1所述的阻燃樹脂生產用甲苯廢水處理設備,其特征在于:所述攪拌結構包括設置于前述蒸發器的蒸汽出口處的蒸汽推動式的螺旋槳結構。
5.根據權利要求4所述的阻燃樹脂生產用甲苯廢水處理設備,其特征在于:所述螺旋槳結構包括通過中軸相連接的上部螺旋槳和下部螺旋槳;其中,所述上部螺旋槳位于液面上方,并且所述上臂螺旋槳被設置為能夠被蒸汽推動旋轉;所述下部螺旋槳位于液面下方。
6.根據權利要求5所述的阻燃樹脂生產用甲苯廢水處理設備,其特征在于:所述螺旋槳結構通過固定臂與攪拌子區域的內壁相連接;所述固定臂與中軸通過軸承轉動連接,上部螺旋槳轉動時,通過中軸帶動下部螺旋槳轉動。
7.根據權利要求5所述的阻燃樹脂生產用甲苯廢水處理設備,其特征在于:所述上部螺旋槳包括扇葉座,扇葉座上間隔設置有若干扇葉;所述扇葉座上貫穿設置有風洞,對應風洞設置有氣體管道,通過氣體管道將蒸汽引入至風洞中;和/或,所述下部螺旋槳與所述中軸通過齒輪組傳動連接。
8.根據權利要求5所述的阻燃樹脂生產用甲苯廢水處理設備,其特征在于:所述攪拌子區域的內壁上對稱設置有兩側傾斜的凸起部,前述上部螺旋槳位于凸起部之間;通過所述凸起部在上部螺旋槳周圍形成上寬下窄的V型結構的上部正V腔,以及在下部螺旋槳上方形成下寬上窄的倒V型結構的下部倒V腔。
9.根據權利要求8所述的阻燃樹脂生產用甲苯廢水處理設備,其特征在于:所述上部正V腔和所述下部倒V腔的交接處形成有收攏的狹窄段,所述的狹窄段的寬度小于或等于上部正V腔的下端寬度和所述下部倒V腔的上端寬度;所述攪拌子區域內的蒸汽經由下部倒V腔進入狹窄段后達到上部正V腔。
10.采用上述任一項權利要求所述的阻燃樹脂生產用甲苯廢水處理設備的廢水處理方法,其特征在于,該方法包括以下步驟:將含甲苯的阻燃樹脂生產廢水輸入蒸發器內;將含甲苯的阻燃樹脂生產廢水分流送入攪拌蒸發區內的若干攪拌子區域中;通過攪拌子區域的攪拌結構對含甲苯的阻燃樹脂生產廢水進行攪拌以蒸發含甲苯的阻燃樹脂生產廢水。
發明內容
本發明的目的是克服現有技術的不足,提供了一種阻燃樹脂生產用甲苯廢水處理設備及方法,通過將含甲苯的阻燃樹脂生產廢水分流進入分隔設置的攪拌子區域內,分開攪拌含甲苯的阻燃樹脂生產廢水,從而預防甲苯的爆發沸騰現象。
本發明提供了一種阻燃樹脂生產用甲苯廢水處理設備,包括蒸汽輸送裝置,還包括蒸發器,所述蒸發器內設置有攪拌蒸發區,所述攪拌蒸發區包括若干個分隔設置的攪拌子區域,所述攪拌子區域內通過設置的攪拌結構對含甲苯的阻燃樹脂生產廢水進行攪拌。
進一步,所述攪拌蒸發區固定連接蒸發器內壁,或,所述攪拌蒸發區能夠在蒸發器內移動。
進一步,所述攪拌蒸發區與蒸發器內壁滑動連接;和/或,所述攪拌子區域的底部設置移動板,所述移動板活動安裝于基座內,能夠抬升或降低移動板的至少一側。
進一步,所述攪拌結構包括設置于前述蒸發器的蒸汽出口處的蒸汽推動式的螺旋槳結構。
進一步,所述螺旋槳結構包括通過中軸相連接的上部螺旋槳和下部螺旋槳;其中,所述上部螺旋槳位于液面上方,并且所述上臂螺旋槳被設置為能夠被蒸汽推動旋轉;所述下部螺旋槳位于液面下方。
進一步,所述螺旋槳結構通過固定臂與攪拌子區域的內壁相連接;所述固定臂與中軸通過軸承轉動連接,上部螺旋槳轉動時,通過中軸帶動下部螺旋槳轉動。
進一步,所述上部螺旋槳包括扇葉座,扇葉座上間隔設置有若干扇葉;所述扇葉座上貫穿設置有風洞,對應風洞設置有氣體管道,通過氣體管道將蒸汽引入至風洞中;和/或,所述下部螺旋槳與所述中軸通過齒輪組傳動連接。
進一步,所述攪拌子區域的內壁上對稱設置有兩側傾斜的凸起部,前述上部螺旋槳位于凸起部之間;通過所述凸起部在上部螺旋槳周圍形成上寬下窄的V型結構的上部正V腔,以及在下部螺旋槳上方形成下寬上窄的倒V型結構的下部倒V腔。
進一步,所述上部正V腔和所述下部倒V腔的交接處形成有收攏的狹窄段,所述的狹窄段的寬度小于或等于上部正V腔的下端寬度和所述下部倒V腔的上端寬度;所述攪拌子區域內的蒸汽經由下部倒V腔進入狹窄段后達到上部正V腔。
本發明提供了一種采用上述任一項所述的阻燃樹脂生產用甲苯廢水處理設備的廢水處理方法,該方法包括以下步驟:將含甲苯的阻燃樹脂生產廢水輸入蒸發器內;將含甲苯的阻燃樹脂生產廢水分流送入攪拌蒸發區內的若干攪拌子區域中;通過攪拌子區域的攪拌結構對含甲苯的阻燃樹脂生產廢水進行攪拌以蒸發含甲苯的阻燃樹脂生產廢水。
本發明由于采用以上技術方案,與現有技術相比,作為舉例,具有以下的優點和積極效果:通過將攪拌蒸發區分隔成多個攪拌子區域,使得液體分流進入各個攪拌子區域內,降低了單次加熱的液體的總量,從而降低了廢液發生爆沸現象的可能性。
在攪拌子區域內設置攪拌結構,攪拌液體,使得液體受熱更均勻,從而降低了廢液發生爆沸現象的可能性。
攪拌結構通過采用蒸汽推動式的上部螺旋槳帶動下部螺旋槳旋轉,從而在攪拌子區域內形成一個以液體蒸發的蒸汽作為動力源推動螺旋槳結構對液體進行攪拌,輔助液體蒸發的一個良性循環,充分利用蒸汽,利于節能,降低設備能耗。
通過在攪拌結構兩側對稱設置凸起部,能夠對氣流起到匯集以及緩沖的作用,加強氣流對上部螺旋槳的作用力,上部螺旋槳在氣流的沖力作用下旋轉,并帶動下部螺旋槳旋轉,加強攪拌的效果。
(發明人:薛明)






