公布日:2024.02.13
申請日:2023.12.28
分類號:E03F5/02(2006.01)I
摘要
本申請提供一種雨污水分流裝置及檢查井,雨污水分流裝置包括隔離墻體、浮動組件、排放控制閘門、牽引組件和滑動支撐組件,牽引組件的兩端分別與排放控制閘門和浮動組件連接,滑動支撐組件能夠支撐牽引組件,使得排放控制閘門跟隨浮動組件運動;雨污水分流檢查井包括上述雨污水分流裝置,隔離墻體將井體空間隔離為第一井體空間和第二井體空間,當第一井體空間的第一水位線高度小于第一預設高度時,污水經污水排放管排出,當第一水位線高度大于第二預設高度時,雨水經雨水排放管排出,實現了雨污水自動分流,避免了雨水進入污水處理廠污水進入河道的問題,降低了污水處理廠的負擔和成本,保護了水環境安全。

權利要求書
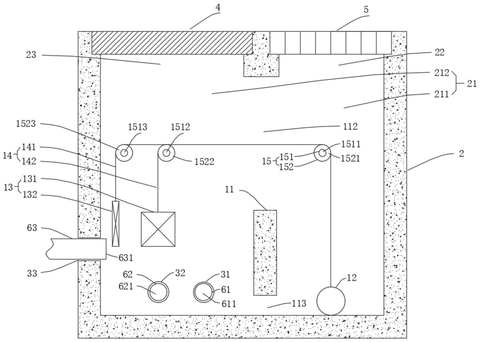
1.一種雨污水分流裝置,應用于雨污水分流檢查井,其特征在于,包括:隔離墻體,位于所述雨污水分流檢查井的底部;浮動組件,位于所述隔離墻體的一側,所述浮動組件漂浮于所述雨污水檢查井內的雨污水表面;排放控制閘門,位于所述隔離墻體的另一側;牽引組件,所述牽引組件的兩端分別與所述浮動組件及所述排放控制閘門連接,以使所述浮動組件帶動所述排放控制閘門運動;滑動支撐組件,位于所述浮動組件及所述排放控制閘門的上方,所述滑動支撐組件用于支撐所述牽引組件。
2.根據權利要求1所述的雨污水分流裝置,其特征在于,所述排放控制閘門包括用于控制污水排放的第一閘門和用于控制雨水排放的第二閘門。
3.根據權利要求2所述的雨污水分流裝置,其特征在于,所述牽引組件包括與所述第一閘門連接的第一牽引部以及與所述第二閘門連接的第二牽引部。
4.根據權利要求1所述的雨污水分流裝置,其特征在于,所述滑動支撐組件包括支撐部和滑輪組,所述支撐部連接至所述雨污水分流檢查井的側壁,所述滑輪組套設于所述支撐部上。
5.根據權利要求1所述的雨污水分流裝置,其特征在于,所述隔離墻體的底面開設有第一凹槽,以使所述雨污水檢查井內的雨污水能夠在所述隔離墻體的兩側之間流通。
6.一種雨污水分流檢查井,其特征在于,包括井體機構、管道安裝孔、井蓋、篦子以及如權利要求1至5任一項所述的雨污水分流裝置;所述井體機構內形成有井體空間,所述雨污水分流裝置的隔離墻體將所述井體空間分割為水平分布的第一井體空間和第二井體空間,所述雨污水分流裝置的滑動支撐組件連接至所述井體空間的側壁;所述第二井體空間位于所述井蓋的下方,所述管道安裝孔位于所述第二井體空間的側壁,所述雨污水分流裝置的排放控制閘門位于所述第二井體空間內;所述第一井體空間位于所述篦子的下方,所述雨污水分流裝置的浮動組件位于所述第一井體空間內。
7.根據權利要求6所述的雨污水分流檢查井,其特征在于,所述隔離墻體的頂面與所述井體機構之間形成有第三通孔,所述雨污水分流裝置的牽引組件通過所述第三通孔分別連接至所述浮動組件及所述排放控制閘門;所述隔離墻體的第一凹槽與所述井體空間的底面形成第四通孔,所述第四通孔用于連通所述第二井體空間與所述第一井體空間。
8.根據權利要求6所述的雨污水分流檢查井,其特征在于,所述管道安裝孔包括用于安裝進水管的第一安裝孔、用于安裝污水排放管的第二安裝孔以及用于安裝雨水排放管的第三安裝孔;所述進水管、所述污水排放管和所述雨水排放管分別具有第一開口、第二開口和第三開口,所述排放控制閘門能夠蓋合所述第二開口及所述第三開口,以控制雨污水的排放。
9.根據權利要求8所述的雨污水分流檢查井,其特征在于,所述第一開口的高度與所述第二開口的高度相同,所述第三開口的高度大于所述第一開口的高度;其中,所述第一開口的高度、所述第二開口的高度和所述第三開口的高度分別為所述進水管、所述污水排放管和所述雨水排放管與所述井體空間底面之間的距離。
10.根據權利要求8所述的雨污水分流檢查井,其特征在于,當第一水位線的高度H小于或等于第一預設高度H1時,所述第二開口完全打開;當所述第一水位線的高度大于或等于第二預設高度H2時,所述第三開口完全打開,且所述第二開口完全被所述排放控制閘門蓋合;當所述第一水位線的高度介于所述第一預設高度H1與所述第二預設高度之間H2時,所述第二開口和所述第三開口中的至少一個部分或完全打開;其中,所述第一水位線的高度H為所述第一井體空間內的雨污水水位線與所述第一井體空間底面之間的距離。
發明內容
本申請的目的在于提供一種雨污水分流裝置及檢查井,以對雨污水進行分流,降低污水處理廠的處理負擔及成本。
為達到上述目的及其他相關目的,本申請提供一種雨污水分流裝置,應用于雨污水分流檢查井,包括:
隔離墻體,位于所述雨污水分流檢查井的底部;
浮動組件,位于所述隔離墻體的一側,所述浮動組件漂浮于所述雨污水檢查井內的雨污水表面;
排放控制閘門,位于所述隔離墻體的另一側;
牽引組件,所述牽引組件的兩端分別與所述浮動組件及所述排放控制閘門連接,以使所述浮動組件帶動所述排放控制閘門運動;
滑動支撐組件,位于所述浮動組件及所述排放控制閘門的上方,所述滑動支撐組件用于支撐所述牽引組件。
可選地,所述排放控制閘門包括用于控制污水排放的第一閘門和用于控制雨水排放的第二閘門。
可選地,所述牽引組件包括與所述第一閘門連接的第一牽引部以及與所述第二閘門連接的第二牽引部。
可選地,所述滑動支撐組件包括支撐部和滑輪組,所述支撐部連接至所述雨污水分流檢查井的側壁,所述滑輪組套設于所述支撐部上。
可選地,所述隔離墻體的底面開設有第一凹槽,以使所述雨污水檢查井內的雨污水能夠在所述隔離墻體的兩側之間流通。
本申請還提供一種雨污水分流檢查井,包括井體機構、管道安裝孔、井蓋、篦子以及如前述實施方式中任一項所述的雨污水分流裝置;
所述井體機構內形成有井體空間,所述雨污水分流裝置的隔離墻體將所述井體空間分割為水平分布的第一井體空間和第二井體空間,所述雨污水分流裝置的滑動支撐組件連接至所述井體空間的側壁;
所述第二井體空間位于所述井蓋的下方,所述管道安裝孔位于所述第二井體空間的側壁,所述雨污水分流裝置的排放控制閘門位于所述第二井體空間內;
所述第一井體空間位于所述篦子的下方,所述雨污水分流裝置的浮動組件位于所述第一井體空間內。
可選地,所述隔離墻體的頂面與所述井體機構之間形成有第三通孔,所述雨污水分流裝置的牽引組件通過所述第三通孔分別連接至所述浮動組件及所述排放控制閘門;
所述隔離墻體的第一凹槽與所述井體空間的底面形成第四通孔,所述第四通孔用于連通所述第二井體空間與所述第一井體空間。
可選地,所述管道安裝孔包括用于安裝進水管的第一安裝孔、用于安裝污水排放管的第二安裝孔以及用于安裝雨水排放管的第三安裝孔;
所述進水管、所述污水排放管和所述雨水排放管分別具有第一開口、第二開口和第三開口,所述排放控制閘門能夠蓋合所述第二開口及所述第三開口,以控制雨污水的排放。
可選地,所述第一開口的高度與所述第二開口的高度相同,所述第三開口的高度大于所述第一開口的高度;
其中,所述第一開口的高度、所述第二開口的高度和所述第三開口的高度分別為所述進水管、所述污水排放管和所述雨水排放管與所述井體空間底面之間的距離。
可選地,當第一水位線的高度H小于或等于第一預設高度H1時,所述第二開口完全打開;
當所述第一水位線的高度大于或等于第二預設高度H2時,所述第三開口完全打開,且所述第二開口完全被所述排放控制閘門蓋合;
當所述第一水位線的高度介于所述第一預設高度H1與所述第二預設高度之間H2時,所述第二開口和所述第三開口中的至少一個部分或完全打開;
其中,所述第一水位線的高度H為所述第一井體空間內的雨污水水位線與所述第一井體空間底面之間的距離。
本申請提供的雨污水分流裝置及檢查井至少具有以下有益效果:
本申請的雨污水分流裝置包括隔離墻體、浮動組件、排放控制閘門、牽引組件和滑動支撐組件,牽引組件的兩端分別與排放控制閘門和浮動組件連接,滑動支撐組件能夠支撐牽引組件,使得排放控制閘門能夠跟隨浮動組件運動;本申請的雨污水分流檢查井,包括井體機構、管道機構以及上述雨污水分流裝置,雨污水分流裝置的隔離墻體將井體空間隔離為第一井體空間和第二井體空間,當第一水位線的高度H低于第一預設高度H1時,進水管的第一開口完全打開,使污水井經進水管流出,當H大于第二預設高度H2時,雨水排放管的第三開口完全打開,并且第一開口完全被排放控制閘門蓋合,使雨水經雨水排放管排出,實現了雨污水的自動分流,避免了雨水進入污水處理廠、污水進入河道的問題,降低了污水處理廠的處理負擔和成本,保護了水環境安全。
(發明人:洪邦鍵;楊紅;劉海臣)






