公布日:2024.03.22
申請日:2023.12.21
分類號:C02F3/12(2023.01)I;C02F1/52(2023.01)I;C02F7/00(2006.01)I;G05D27/02(2006.01)I
摘要
本發明提供了一種通過光照強度自動控制污水處理系統的方法,涉及水處理技術領域。本發明提供的控制方法,通過光照強度變化檢測污泥沉淀池污泥沉降性能變化和泥位變化,進而判斷污水處理系統的工況,并根據工況調控污水處理系統運行,該控制方案簡單,成本低廉,運行可靠。

權利要求書
1.一種污水處理系統的控制方法,所述污水處理系統包括依次連通的生化處理池和污泥沉淀池,其特征在于,包括以下步驟:a.在污泥沉淀池的泥位控制線位置處設置光源;在污泥沉淀池的水位控制線上方設置光強度傳感模塊,用于接收從所述光源發射的光,并輸出光強度信號;b.將污水處理系統在不同工況下運行,分別收集光強度傳感模塊的光強度信號;所述工況包括污泥泥位超過污泥控制線、污水處理系統曝氣量不足、污水處理系統營養不足或污水處理系統污泥絲狀菌膨脹;c.運行污水處理系統,根據光強度傳感模塊的光強度信號,判斷污水處理系統的工況;若工況為污泥泥位超過污泥控制線,則啟動排泥泵,將超出的污泥排出;若工況為污水處理系統曝氣量不足,則增大生化處理池的曝氣量;若工況為污水處理系統營養不足,則增大生化處理池的碳源添加量;若工況為污水處理系統污泥絲狀菌膨脹,則向生化處理池添加絮凝劑。
2.根據權利要求1所述的控制方法,其特征在于,c步驟中,通過PLC模塊分析光強度信號,判斷污水處理系統的工況,并調控排泥泵的啟停以及生化處理池的曝氣量、碳源添加量和絮凝劑添加量。
3.根據權利要求1所述的控制方法,其特征在于,所述絮凝劑包括PAC。
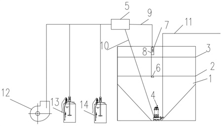
4.一種污水處理系統,其特征在于,包括生化處理池、鼓風機、碳源添加裝置、絮凝劑添加裝置、污泥沉淀池和PLC模塊;所述生化處理池用于污水的生化處理;所述鼓風機與生化處理池管道連通,用于給生化處理池曝氣;所述碳源添加裝置用于向生化處理池投加碳源;所述絮凝劑添加裝置用于向生化處理池投加絮凝劑;所述污泥沉淀池與生化處理池管道連通,用于沉降污泥;污泥沉淀池的底部設置有排泥泵,用于將污泥沉淀池內的污泥排出;污泥沉淀池的泥位控制線位置設置有光源;污泥沉淀池的水位控制線上方設置有光強度傳感模塊,用于接收從所述光源發射的光,并輸出光強度信號;所述PLC模塊接收分析來源于光強度傳感模塊的光強度信號,根據光強度信號控制所述排泥泵、鼓風機、碳源添加裝置和絮凝劑添加裝置的運行。
5.根據權利要求4所述的污水處理系統,其特征在于,所述光源包括可布置于水中的LED或白熾燈。
6.根據權利要求4所述的污水處理系統,其特征在于,所述光強度傳感模塊設置于光源的豎直上方;所述光源發射方向豎直向上,對準光強度傳感模塊。
7.根據權利要求4所述的污水處理系統,其特征在于,所述光強度傳感模塊設置有可輸出模擬量傳的感器,光強度測量數據范圍為0-70000勒克斯。
8.根據權利要求4所述的污水處理系統,其特征在于,還包括光強度傳感模塊保護裝置;所述光強度傳感模塊位于光強度傳感模塊保護裝置的內部。
9.根據權利要求8所述的污水處理系統,其特征在于,所述光強度傳感模塊保護裝置僅底部透光。
發明內容
本發明的第一目的在于提供一種污水處理系統的控制方法,以解決上述問題中的至少一種。
本發明的第二目的在于提供一種污水處理系統。
為了實現以上目的,提出以下技術方案:
第一方面,本發明提供了一種污水處理系統的控制方法,所述污水處理系統包括依次連通的生化處理池和污泥沉淀池,包括以下步驟:
a.在污泥沉淀池的泥位控制線位置處設置光源;在污泥沉淀池的水位控制線上方設置光強度傳感模塊,用于接收從所述光源發射的光,并輸出光強度信號;
b.將污水處理系統在不同工況下運行,分別收集光強度傳感模塊的光強度信號;所述工況包括污泥泥位超過污泥控制線、污水處理系統曝氣量不足、污水處理系統營養不足或污水處理系統污泥絲狀菌膨脹;
c.運行污水處理系統,根據光強度傳感模塊的光強度信號,判斷污水處理系統的工況;若工況為污泥泥位超過污泥控制線,則啟動排泥泵,將超出的污泥排出;若工況為污水處理系統曝氣量不足,則增大生化處理池的曝氣量;若工況為污水處理系統營養不足,則增大生化處理池的碳源添加量;若工況為污水處理系統污泥絲狀菌膨脹,則向生化處理池添加絮凝劑。
作為進一步技術方案,c步驟中,通過PLC模塊分析光強度信號,判斷污水處理系統的工況,并調控排泥泵的啟停以及生化處理池的曝氣量、碳源添加量和絮凝劑添加量。
作為進一步技術方案,所述絮凝劑包括PAC。
第二方面,本發明提供了一種污水處理系統,包括生化處理池、鼓風機、碳源添加裝置、絮凝劑添加裝置、污泥沉淀池和PLC模塊;
所述生化處理池用于污水的生化處理;
所述鼓風機與生化處理池管道連通,用于給生化處理池曝氣;
所述碳源添加裝置用于向生化處理池投加碳源;
所述絮凝劑添加裝置用于向生化處理池投加絮凝劑;
所述污泥沉淀池與生化處理池管道連通,用于沉降污泥;污泥沉淀池的底部設置有排泥泵,用于將污泥沉淀池內的污泥排出;污泥沉淀池的泥位控制線位置設置有光源;污泥沉淀池的水位控制線上方設置有光強度傳感模塊,用于接收從所述光源發射的光,并輸出光強度信號;
所述PLC模塊接收分析來源于光強度傳感模塊的光強度信號,根據光強度信號控制所述排泥泵、鼓風機、碳源添加裝置和絮凝劑添加裝置的運行。
作為進一步技術方案,所述光源包括可布置于水中的LED或白熾燈。
作為進一步技術方案,所述光強度傳感模塊設置于光源的豎直上方;
所述光源發射方向豎直向上,對準光強度傳感模塊。
作為進一步技術方案,所述光強度傳感模塊設置有可輸出模擬量傳的感器,光強度測量數據范圍為0-70000勒克斯。
作為進一步技術方案,還包括光強度傳感模塊保護裝置;
所述光強度傳感模塊位于光強度傳感模塊保護裝置的內部。
作為進一步技術方案,所述光強度傳感模塊保護裝置僅底部透光。
與現有技術相比,本發明具有如下有益效果:
本發明提供的污水處理系統的控制方法,通過光照強度變化檢測污泥沉淀池污泥沉降性能變化和泥位變化,進而判斷污水處理系統的工況,并根據工況調控污水處理系統運行,該控制方案簡單,成本低廉,運行可靠。
(發明人:李亞;魏曉龍;殷配福;周振聰;史亞微;蘇兆英;吳建立;杜文亮;韓秀燕)






