公布日:2023.10.10
申請日:2023.09.02
分類號:C02F1/38(2023.01)I;C02F103/20(2006.01)N
摘要
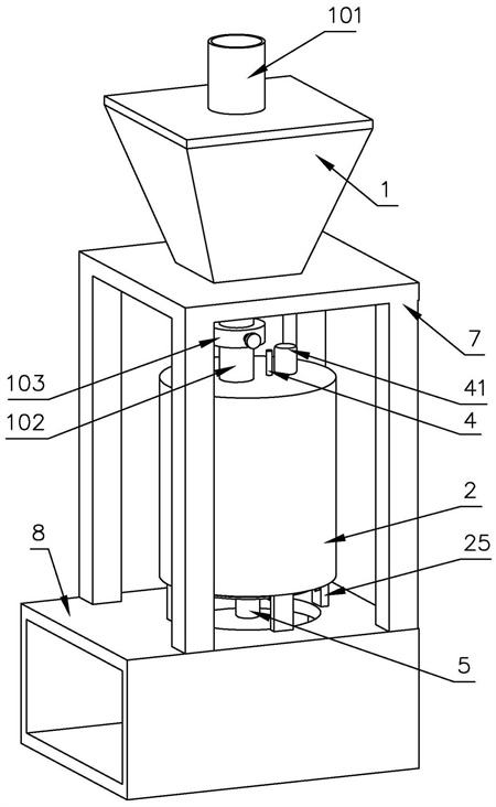
本發明公開了一種畜禽養殖污廢水資源化回收處理裝置,包括緩存箱、罐體、脫水筒、輥壓機構、封堵機構、刮除機構、支撐架、集料箱;支撐架固定在集料箱上,緩存箱固定在支撐架頂部,罐體設于支撐架下方,脫水筒設于罐體內部,輥壓機構、刮除機構設于脫水筒內部,封堵機構設于罐體底部;緩存箱頂部設有進水管,底部設有出水管并連接罐體,出水管上設有控制閥控制出水管啟閉;罐體頂部和底部分別設有第一限位套和第二限位套;罐體底部側壁上設有排水口,罐體底壁上設有排料口和T型滑臂,罐體底部設有支撐腿固定在集料箱上。本發明能夠降低固液分離時脫水筒的堵塞現象,提高脫水效率。

權利要求書
1.一種畜禽養殖污廢水資源化回收處理裝置,包括緩存箱、罐體、脫水筒、輥壓機構、封堵機構、刮除機構、支撐架、集料箱;其特征在于支撐架固定在集料箱上,緩存箱固定在支撐架頂部,罐體設于支撐架下方,脫水筒設于罐體內部,輥壓機構、刮除機構設于脫水筒內部,封堵機構設于罐體底部;所述緩存箱頂部設有進水管,底部設有出水管并連接罐體,出水管上設有控制閥控制出水管啟閉;所述罐體頂部和底部分別設有第一限位套和第二限位套;罐體底部側壁上設有排水口,罐體底壁上設有排料口和T型滑臂,罐體底部設有支撐腿固定在集料箱上;所述脫水筒頂部和底部套接第一限位套和第二限位套;脫水筒頂部設有齒牙,脫水筒側壁上設有安裝孔、頂板、推板,推板設于脫水筒內壁上,推板一側設有脫水套筒并設于安裝孔內,脫水套筒套接設有第一彈簧,推板另一側上設有若干凹槽;頂板設于脫水筒外壁上,頂板上設有若干頂針和固定柱并間隔設置,固定柱固定連接脫水筒外壁,頂針設于脫水套筒內;所述輥壓機構包括第一電機、主軸,第一電機固定在罐體頂部,第一電機軸端設有齒輪并嚙合脫水筒頂部的齒牙,主軸兩端轉動連接罐體頂壁和底壁,主軸頂部設有齒輪并嚙合第一電機軸端齒輪,主軸上下兩端設有固定臂,主軸頂部設有通管,通管外接氣源,通管一側設有第一氣管,第一氣管通過旋轉接頭連接第二氣管,第二氣管兩端轉動連接固定臂,第二氣管外接內筒,第二氣管上設有若干分管并聯通內筒用于充氣,內筒與第二氣管固定連接,第二氣管與內筒采用金屬材料制作;內筒外側設有氣囊;通過第二氣管與分管對氣囊充氣;所述封堵機構包括第二電機、托板、轉軸、齒環,第二電機通過固定座固定在罐體底部,托板設有若干并固定在罐體底部,轉軸設有若干并設于罐體底部且相互轉動連接,齒環設于托板上,轉軸上設有鏈輪、第一齒輪以及封板,第一齒輪嚙合齒環,封板上設有T型滑槽,T型滑槽滑動連接T型滑臂起到導向支撐的作用,第二電機輸出軸上設有鏈輪并嚙合轉軸上的鏈輪;所述刮除機構包括固定板、刮板、彈壓機構,固定板兩端固定連接罐體,刮板兩端轉動連接固定板,刮板上設有若干刮齒并與推板上的凹槽相互對應,彈壓機構連接固定板和刮板,彈壓機構包括支臂、推塊、導向軸、第二彈簧,導向軸兩端通過固定塊固定在固定板上,推塊滑動連接導向軸,第二彈簧套接導向軸,第二彈簧頂觸推塊,支臂兩端分別轉動連接推塊和刮板。
2.根據權利要求1所述的一種畜禽養殖污廢水資源化回收處理裝置,其特征在于第二電機輸出軸穿過罐體底壁并設有弧形的清理臂。
3.根據權利要求1所述的一種畜禽養殖污廢水資源化回收處理裝置,其特征在于脫水筒底部外壁上設有若干滾輪,滾輪輥壓第二限位套。
發明內容
本發明的目的是克服現有技術中不足,提供一種畜禽養殖污廢水資源化回收處理裝置,能夠降低固液分離時脫水筒的堵塞現象,提高脫水效率。
為了實現上述目的,本發明采用的技術方案是:
一種畜禽養殖污廢水資源化回收處理裝置,包括緩存箱、罐體、脫水筒、輥壓機構、封堵機構、刮除機構、支撐架、集料箱;支撐架固定在集料箱上,緩存箱固定在支撐架頂部,罐體設于支撐架下方,脫水筒設于罐體內部,輥壓機構、刮除機構設于脫水筒內部,封堵機構設于罐體底部。
所述緩存箱頂部設有進水管,底部設有出水管并連接罐體,出水管上設有控制閥控制出水管啟閉。
所述罐體頂部和底部分別設有第一限位套和第二限位套;罐體底部側壁上設有排水口,罐體底壁上設有排料口和T型滑臂,罐體底部設有支撐腿固定在集料箱上。
所述脫水筒頂部和底部套接第一限位套和第二限位套;脫水筒頂部設有齒牙,脫水筒側壁上設有安裝孔、頂板、推板,推板設于脫水筒內壁上,推板一側設有脫水套筒并設于安裝孔內,脫水套筒套接設有第一彈簧,推板另一側上設有若干凹槽;頂板設于脫水筒外壁上,頂板上設有若干頂針和固定柱并間隔設置,固定柱固定連接脫水筒外壁,頂針設于脫水套筒內;脫水筒底部外壁上設有若干滾輪,滾輪輥壓第二限位套,使脫水筒在轉動時變滑動為滾動,減小摩擦。
所述輥壓機構包括第一電機、主軸,第一電機固定在罐體頂部,第一電機軸端設有齒輪并嚙合脫水筒頂部的齒牙,主軸兩端轉動連接罐體頂壁和底壁,主軸頂部設有齒輪并嚙合第一電機軸端齒輪,主軸上下兩端設有固定臂,主軸頂部設有通管,通管外接氣源,通管一側設有第一氣管,第一氣管通過旋轉接頭連接第二氣管,第二氣管兩端轉動連接固定臂,第二氣管外接內筒,第二氣管上設有若干分管并聯通內筒用于充氣,內筒與第二氣管固定連接,第二氣管與內筒采用金屬材料制作;內筒外側設有氣囊;通過第二氣管與分管對氣囊充氣。
所述封堵機構包括第二電機、托板、轉軸、齒環,第二電機通過固定座固定在罐體底部,托板設有若干并固定在罐體底部,轉軸設有若干并設于罐體底部且相互轉動連接,齒環設于托板上,轉軸上設有鏈輪、第一齒輪以及封板,第一齒輪嚙合齒環,封板上設有T型滑槽,T型滑槽滑動連接T型滑臂起到導向支撐的作用,第二電機輸出軸上設有鏈輪并嚙合轉軸上的鏈輪;通過第二電機帶動轉軸轉動,進而通過第一齒輪帶動齒環在托板上轉動,進而通過齒環帶動其他轉軸同時轉動,從而帶動封板轉動打開排料口進行排料;第二電機反轉使封板關閉排料口。
所述刮除機構包括固定板、刮板、彈壓機構,固定板兩端固定連接罐體,刮板兩端轉動連接固定板,刮板上設有若干刮齒并與推板上的凹槽相互對應,彈壓機構連接固定板和刮板,彈壓機構包括支臂、推塊、導向軸、第二彈簧,導向軸兩端通過固定塊固定在固定板上,推塊滑動連接導向軸,第二彈簧套接導向軸,第二彈簧頂觸推塊,支臂兩端分別轉動連接推塊和刮板,通過第二彈簧推動推塊以及支臂實現刮板的緩沖效果。
優選的,第二電機輸出軸穿過罐體底壁并設有弧形的清理臂,同時弧形清理臂轉動將脫水后雜物清理至排料口。
本發明與現有技術相比較有益效果表現在:
1)通過第一電機提供動力帶動脫水筒轉動,同時帶動主軸轉動,主軸帶動氣囊轉動,氣囊通氣后膨脹并隨著轉動實現了對污水的攪拌,在脫水筒轉動離心力的作用下加速固液分離;
輥壓機構中設有氣囊,第一電機帶動主軸與氣囊轉動,氣囊轉動對脫水筒內壁上的推板進行擠壓,實現對推板上貼附的固態雜物的擠壓,使其擠壓后的廢水伴隨離心力快速通過推板上的脫水套筒進入脫水筒與罐體的夾層空間內;其中,在脫水筒轉動時和擠壓推板時,推板受離心力和擠壓的作用在安裝孔內滑動,此時頂板上的頂針相對于脫水套筒逐漸頂出,進而將堵塞脫水套筒的雜物頂出,避免脫水套筒堵塞影響脫水;同時,推板通過脫水套筒套接的第一彈簧的彈力緩沖在與氣囊輥壓時避免在壓力過大的情況下將雜物擠壓成結塊而不便清理;
2)通過刮除機構能夠對推板上脫水后的雜物進行刮除,首先通過刮板刮除推板表面,其次在刮除時通過刮齒契合凹槽進行刮除,利于刮齒鏟入雜物與推板表面的貼合層面,提供了刮齒與雜物的刮除切入口,從雜物根部進行刮除,從而利于將貼合推板表面緊實的雜物去除,提高了刮除效果,降低雜物堵塞脫水套筒的情況出現。
(發明人:劉叢;孫述娟;韓子叻;吳彤;韋亞南)






