公布日:2024.03.15
申請日:2023.12.14
分類號:F04D29/06(2006.01)I;F04D29/58(2006.01)I;F04D29/08(2006.01)I;F04D29/70(2006.01)I;F04D13/16(2006.01)I
摘要
一種液下污水泵自潤滑冷卻裝置,包括儲水罐、儲水罐上水管和出水端連接管和滑潤冷卻水入口,在所述儲水罐上水管上設置過濾器,所述出水端連接管另一端有二個出水端口,所述二個出水端口分別為上出水端口和下出水端口,對應下出水端口的出水端連接管管段上設置電動閥門,所述儲水罐另一端與液下污水泵的出水管路相連接;在所述液下污水泵葉輪的后蓋板后面設置有副葉片或在所述液下污水泵葉輪的后蓋板外周壁上設置密封環,且設有密封環的葉輪后蓋板上開設將葉輪入口與葉輪后蓋板前后貫通的水孔。該裝置不需要外接潔凈水及潔凈水的供水系統,對抽排的濁水進行水渣分離,然后利用分離后過濾水對導軸承冷卻和潤滑,性能可靠,運行安全。

權利要求書
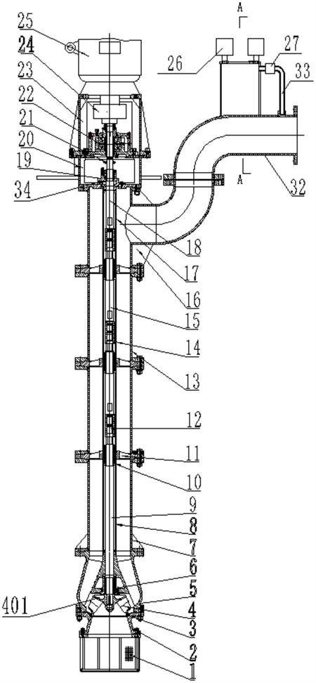
1.一種液下污水泵自潤滑冷卻裝置,包括儲水罐,在儲水罐上設有儲水罐上水管和出水端連接管,所述出水端連接管一端與所述滑潤冷卻水入口相通,所述滑潤冷卻水入口與液下污水泵內管相通,其特征是,所述儲水罐上水管上設置過濾器,所述出水端連接管另一端有二個出水端口,所述二個出水端口分別位于儲水罐上部和下部且分別為上出水端口和下出水端口,對應下出水端口的出水端連接管管段上設置電動閥門,由所述電動閥門控制出水端口的出水通斷,所述儲水罐另一端與液下污水泵的出水管路相連接;利用水在液下污水泵葉輪后蓋板處與儲水罐出水管之間形成壓差,使儲水罐中的水進入液下污水泵內管進行循環。
2.根據權利要求1所述的一種液下污水泵自潤滑冷卻裝置,其特征是,在所述液下污水泵葉輪的后蓋板后面設置有副葉片。
3.根據權利要求1所述的一種液下污水泵自潤滑冷卻裝置,其特征是,在所述液下污水泵葉輪的后蓋板外周壁上設置密封環,且設有密封環的葉輪后蓋板上開設將葉輪入口與葉輪后蓋板前后貫通的水孔。
4.根據權利要求1所述的一種液下污水泵自潤滑冷卻裝置,其特征是,所述滑潤冷卻水入口位于液下污水泵內管上方且與封堵液下污水泵內管上端口的密封填料上。
5.根據權利要求1所述的一種液下污水泵自潤滑冷卻裝置,其特征是,所述儲水罐出水端最低點高于所述滑潤冷卻水入口。
6.根據權利要求1所述的一種液下污水泵自潤滑冷卻裝置,其特征是,儲水罐出水管的上出水端口低于儲水罐上水管與儲水罐的連接端,確保有足夠的水潤滑導軸承。
7.根據權利要求1所述的一種液下污水泵自潤滑冷卻裝置,其特征是,所述儲水罐安裝在液下污水泵出水管路上。
8.根據權利要求1所述的一種液下污水泵自潤滑冷卻裝置,其特征是,所述儲水罐下部設有排污管和排污閥,用于將儲水罐內雜質及時排出。
9.利用如權利要求1所述液下污水泵自潤滑冷卻裝置的液下污水泵的啟動方法,其特征是,包括:S1.第一次啟動液下污水泵前,先將儲水罐灌滿潔凈水,開啟電動閥門,讓儲水罐中的潔凈水經過下出水端口冷卻潤滑液下污水泵內管之中的導軸承,保障泵軸正常運行;S2.液下污水泵延時啟動,待液下污水泵正常運轉,關閉電動閥門;S3.在液下污水泵運行時,污水經過外管、出水管路、儲水罐上水管、儲水罐上水管過濾器后變為清潔水,進入儲水罐,儲水罐中的水在重力和在液下污水泵葉輪后蓋板處與儲水罐出水管之間形成壓差的作用下經上出水端口、出水端連接管、滑潤冷卻水入口,進入液下污水泵內管,不間斷地對導軸承潤滑冷卻;S4.液下污水泵停機時,由于電動閥門已經關閉,將儲水罐中的水保留在儲水罐中,待下一次開機使用。
10.根據權利要求9所述液下污水泵的啟動方法,其特征是,液下污水泵延時啟動時間為15-20秒。
發明內容
為了解決背景技術存在的上述問題,本發明提供一種液下污水泵自冷卻潤滑裝置及啟動方法。本發明不需要外接潔凈水及潔凈水的供水系統,對抽排的濁水進行水渣分離,然后利用分離后過濾水對導軸承冷卻和潤滑;并且結構簡單,成本低,性能可靠,運行安全。
本發明的技術解決方案是:一種液下污水泵自潤滑冷卻裝置,包括儲水罐,在儲水罐上設有儲水罐上水管和出水端連接管,所述出水端連接管一端與所述滑潤冷卻水入口相通,所述滑潤冷卻水入口與液下污水泵內管相通,其特殊之處是:所述儲水罐上水管上設置過濾器,所述出水端連接管另一端有二個出水端口,所述二個出水端口分別位于儲水罐上部和下部且分別為上出水端口和下出水端口,對應下出水端口的出水端連接管管段上設置電動閥門,由所述電動閥門控制出水端口的出水通斷,所述儲水罐另一端與液下污水泵的出水管路相連接;利用水在液下污水泵葉輪后蓋板處與儲水罐出水管之間形成壓差,使儲水罐中的水進入液下污水泵內管進行循環。
進一步,在所述液下污水泵葉輪的后蓋板后面設置有副葉片。
進一步,在所述液下污水泵葉輪的后蓋板外周壁上設置密封環,且設有密封環的葉輪后蓋板上開設將葉輪入口與葉輪后蓋板前后貫通的水孔。
進一步,所述滑潤冷卻水入口位于液下污水泵內管上方且與封堵液下污水泵內管上端口的密封填料上。
進一步,所述儲水罐出水端最低點高于所述滑潤冷卻水入口。
進一步,儲水罐出水管的上出水端口低于儲水罐上水管與儲水罐的連接端,確保有足夠的水潤滑導軸承。
進一步,所述儲水罐安裝在液下污水泵出水管路上。
進一步,所述儲水罐下部設有排污管和排污閥,用于將儲水罐內雜質及時排出。
利用如上所述液下污水泵自潤滑冷卻裝置的液下污水泵的啟動方法,包括:
S1.第一次啟動液下污水泵前,先將儲水罐灌滿潔凈水,開啟電動閥門,讓儲水罐中的潔凈水經過下出水端口先冷卻潤滑液下污水泵內管之中的導軸承,保障泵軸正常運行;
S2.液下污水泵延時啟動,待液下污水泵正常運轉,關閉電動閥門;
S3.在液下污水泵運行時,污水經過外管、出水管路、儲水罐上水管、儲水罐上水管過濾器后變為清潔水,進入儲水罐,儲水罐中的水在重力和在液下污水泵葉輪后蓋板處與儲水罐出水管之間形成壓差的作用下經上出水端口、出水端連接管、滑潤冷卻水入口,進入液下污水泵內管,不間斷地對導軸承潤滑冷卻;
S4.液下污水泵停機時,由于電動閥門已經關閉,將儲水罐中的水保留在儲水罐中,待下一次開機使用。
進一步,液下污水泵延時啟動時間為15-20秒。
本發明的有益效果是:污水泵首次啟動瞬時利用儲水罐中潔凈水經過儲水罐下出水管進入污水泵內管進行導軸承潤滑冷卻,污水泵正常啟動后,利用污水泵自身輸送的水經過濾器過濾后經儲水罐、儲水罐上出水管進入污水泵內管,實現導軸承潤滑冷卻,帶有副葉片或帶有密封環的葉輪,可使儲水罐中的水水在自身重力和在液下污水泵葉輪后蓋板處與儲水罐出水管之間形成壓差的作用下,順利進入液下污水泵內管進行循環。本發明利用壓差形成污水過濾后清潔水的自然循環,無需采用復雜的密封,生產成本低,免維護,只需定期清洗過濾器中過濾網,無需采用復雜的密封結構,性能可靠,運行安全。
(發明人:殷華;尤峰;魏巍;孔令成;張斯琪;馬俊煬;張詠琪;孟沛宣)






