公布日:2023.08.22
申請日:2023.05.06
分類號:C02F3/30(2023.01)I;C02F101/10(2006.01)N;C02F101/16(2006.01)N;C02F101/38(2006.01)N;C02F101/30(2006.01)N
摘要
本發明涉及水處理的技術領域,尤其是涉及一種河道治理水處理系統,其包括依次相互連通的用于混合河道污水與碳源、除磷劑的反硝化碳源快混池、用于除廢水氮化合物的反硝化濾池、用于分解大分子有機物的缺氧池、用于降解有機物的活性污泥好氧池、用于沉淀污泥的沉淀池、用于降解有機物的接觸氧化好氧池、以及用于過濾污水的MBR產水池,還包括有用于壓濾污泥的壓濾機,所述沉淀池的底部分別連通于所述壓濾機與所述缺氧池,所述沉淀池內的污泥部分進入所述壓濾機、部分回流至所述缺氧池內,所述壓濾機的出水端連通于所述接觸氧化好氧池。本發明具有有效去除河道污水的有機質、氮、磷元素的效果。

權利要求書
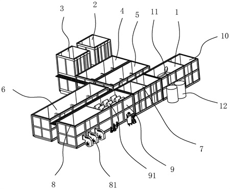
1.一種河道治理水處理系統,其特征在于:包括依次相互連通的用于混合河道污水與碳源、除磷劑的反硝化碳源快混池(1)、用于除廢水氮化合物的反硝化濾池、用于分解大分子有機物的缺氧池、用于降解有機物的活性污泥好氧池(6)、用于沉淀污泥的沉淀池(7)、用于降解有機物的接觸氧化好氧池(8)、以及用于過濾污水的MBR產水池(9),還包括有用于壓濾污泥的壓濾機,所述沉淀池(7)的底部分別連通于所述壓濾機與所述缺氧池,所述沉淀池(7)內的污泥部分進入所述壓濾機、部分回流至所述缺氧池內,所述壓濾機的出水端連通于所述接觸氧化好氧池(8)。
2.根據權利要求1所述的一種河道治理水處理系統,其特征在于:所述缺氧池包括第一缺氧池(4)與第二缺氧池(5),所述反硝化濾池包括第一反硝化濾池(2)與第二反硝化濾池(3),所述第一反應反硝化濾池的進水端與所述反硝化碳源快混池(1)的出水端連通,所述第一反硝化濾池(2)的出水端與所述第一缺氧池(4)的進水端連通,所述第一缺氧池(4)的出水端與所述第二反硝化濾池(3)的進水端連通,所述第二反硝化濾池(3)的出水端與所述第二缺氧池(5)的進水端連通,所述第二缺氧池(5)的出水端與所述活性污泥好氧池(6)的進水端連通。
3.根據權利要求1所述的一種河道治理水處理系統,其特征在于:所述活性污泥好氧池(6)設置有第一曝氣機構,所述第一曝氣機構包括第一鼓風機、設置于所述活性污泥好氧池(6)內的多根第一曝氣管、以及連通于所述第一曝氣管上的多個第一曝氣盤,所述第一鼓風機的出風端連通于多根所述第一曝氣管。
4.根據權利要求1所述的一種河道治理水處理系統,其特征在于:所述接觸氧化好氧池(8)內設置有聚乙烯纖維填料,所述接觸氧化好氧池(8)設置有第二曝氣機構,所述第二曝氣機構包括第二鼓風機(81)、設置于所述活性污泥好氧池(6)內的多根第二曝氣管、以及連通于所述第二曝氣管上的多個第二曝氣盤,所述第二鼓風機(81)的出風端連通于多根所述第二曝氣管。
5.根據權利要求1所述的一種河道治理水處理系統,其特征在于:所述反硝化碳源快混池(1)連通有兩個藥筒(11),兩個所述藥筒(11)分別盛裝有碳源藥劑與除磷劑,所述藥筒(11)與所述反硝化碳源快混池(1)之間連通有加藥泵,所述加藥泵用于將碳源藥劑與除磷劑泵入至所述反硝化碳源快混池(1)內。
6.根據權利要求1所述的一種河道治理水處理系統,其特征在于:所述反硝化碳源快混池(1)內設置有攪拌槳(12),所述反硝化碳源快混池(1)上設置有支板,所述支板上設置有電機,所述電機用于驅動所述攪拌槳(12)轉動。
7.根據權利要求1所述的一種河道治理水處理系統,其特征在于:所述MBR產水池(9)內設置有MBR膜(91),所述MBR膜(91)連通有沖洗管,所述MBR膜(91)連通有用于收集沖洗廢水的沖洗廢水收集池(10)。
8.根據權利要求7所述的一種河道治理水處理系統,其特征在于:所述反硝化濾池內設置有陶瓷顆粒濾料層。
發明內容
為了有效去除河道污水的有機質、氮、磷元素,本發明針對現有技術的問題提供一種河道治理水處理系統。
本發明提供的一種河道治理水處理系統,采用如下的技術方案:
一種河道治理水處理系統,包括依次相互連通的用于混合河道污水與碳源、除磷劑的反硝化碳源快混池、用于除廢水氮化合物的反硝化濾池、用于分解大分子有機物的缺氧池、用于降解有機物的活性污泥好氧池、用于沉淀污泥的沉淀池、用于降解有機物的接觸氧化好氧池、以及用于過濾污水的MBR產水池,還包括有用于壓濾污泥的壓濾機,所述沉淀池的底部分別連通于所述壓濾機與所述缺氧池,所述沉淀池內的污泥部分進入所述壓濾機、部分回流至所述缺氧池內,所述壓濾機的出水端連通于所述接觸氧化好氧池。
更進一步的,所述缺氧池包括第一缺氧池與第二缺氧池,所述反硝化濾池包括第一反硝化濾池與第二反硝化濾池,所述第一反應反硝化濾池的進水端與所述反硝化碳源快混池的出水端連通,所述第一反硝化濾池的出水端與所述第一缺氧池的進水端連通,所述第一缺氧池的出水端與所述第二反硝化濾池的進水端連通,所述第二反硝化濾池的出水端與所述第二缺氧池的進水端連通,所述第二缺氧池的出水端與所述活性污泥好氧池的進水端連通。
更進一步的,所述活性污泥好氧池設置有第一曝氣機構,所述第一曝氣機構包括第一鼓風機、設置于所述活性污泥好氧池內的多根第一曝氣管、以及連通于所述第一曝氣管上的多個第一曝氣盤,所述第一鼓風機的出風端連通于多根所述第一曝氣管。
更進一步的,所述接觸氧化好氧池內設置有聚乙烯纖維填料,所述接觸氧化好氧池設置有第二曝氣機構,所述第二曝氣機構包括第二鼓風機、設置于所述活性污泥好氧池內的多根第二曝氣管、以及連通于所述第二曝氣管上的多個第二曝氣盤,所述第二鼓風機的出風端連通于多根所述第二曝氣管。
更進一步的,所述反硝化碳源快混池連通有兩個藥筒,兩個所述藥筒分別盛裝有碳源藥劑與除磷劑,所述藥筒與所述反硝化碳源快混池之間連通有加藥泵,所述加藥泵用于將碳源藥劑與除磷劑泵入至所述反硝化碳源快混池內。
更進一步的,所述反硝化碳源快混池內設置有攪拌槳,所述反硝化碳源快混池上設置有支板,所述支板上設置有電機,所述電機用于驅動所述攪拌槳轉動。
更進一步的,所述MBR產水池內設置有MBR膜,所述MBR膜連通有沖洗管,所述MBR膜連通有用于收集沖洗廢水的沖洗廢水收集池。
綜上所述,本發明包括以下至少一種有益技術效果:
將污水經過反硝化碳源快混池、第一反硝化濾池、第二反硝化濾池、第一缺氧池、第二缺氧池、活性污泥好氧池、沉淀池、接觸氧化好氧池、MBR產水池。從而使污水達到潔凈,有效去除了河道污水中的有機物、氮磷等物質。
(發明人:李浩鋒;江文;沈路)






