公布日:2023.09.05
申請日:2023.08.03
分類號:C02F3/00(2023.01)I;C02F3/30(2023.01)I;C02F1/00(2023.01)N;C02F1/20(2023.01)N
摘要
本發明提供了一種分質排泥方法、分質排泥系統及其應用,涉及污水處理技術領域。分質排泥方法包括:步驟S1、在泥水分離裝置中形成環流沉淀區;步驟S2、調節環流沉淀區內混合液的上升流速,在環流沉淀區內形成第一沉降段和第二沉降段,其中第一沉降段位于第二沉降段的上方;步驟S3、環流沉淀區中沉降速率小于上升流速的污泥進入第一沉降段,環流沉淀區中沉降速率大于上升流速的污泥進入第二沉降段;步驟S4、分別排出進入到第一沉降段和第二沉降段中的污泥;步驟S5、將第一沉降段中排出的污泥進行二次沉降;步驟S6、將二次沉降后的污泥的上清液回流至環流沉淀區,通過調整上清液的回流速率從而對環流沉淀區的上升流速進行調整。

權利要求書
1.一種分質排泥方法,其特征在于,所述方法包括:步驟S1、在泥水分離裝置中形成環流沉淀區;步驟S2、調節所述環流沉淀區內混合液的上升流速,在所述環流沉淀區內形成第一沉降段和第二沉降段,其中第一沉降段位于第二沉降段的上方;步驟S3、所述環流沉淀區中沉降速率小于上升流速的污泥進入第一沉降段,所述環流沉淀區中沉降速率大于上升流速的污泥進入第二沉降段;步驟S4、排出進入到所述第一沉降段中的污泥;步驟S5、將所述第一沉降段中排出的污泥進行二次沉降;步驟S6、將二次沉降后的污泥的上清液回流至所述環流沉淀區,通過調整所述上清液的回流速率從而對所述環流沉淀區的上升流速進行調整;通過排泥回流裝置將進入到所述第一沉降段的污泥排出,所述排泥回流裝置包括排泥管、排泥桶和回流管;并且所述回流管上設有回流泵,用以調整所述上清液的回流速率;所述泥水分離裝置為一體式短程硝化-厭氧氨氧化反應器。
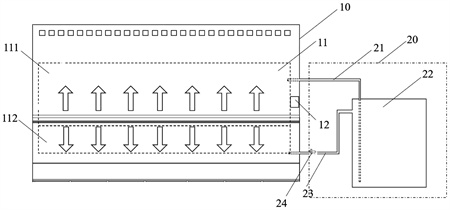
2.一種分質排泥系統,其特征在于,所述分質排泥系統包括:泥水分離裝置,所述泥水分離裝置中形成有環流沉淀區,通過調節所述環流沉淀區內混合液的上升流速從而在所述環流沉淀區內形成第一沉降段和第二沉降段,其中所述第一沉降段位于所述第二沉降段的上方;以及排泥回流裝置,用于排出進入到所述第一沉降段中的污泥;所述排泥回流裝置包括:排泥管,所述排泥管用于排出進入到所述第一沉降段中的污泥;排泥桶,用于將所述排泥管排出的污泥進行二次沉降;回流管,用于將所述二次沉降后的上清液回流至所述環流沉淀區;所述排泥管的一端開設在所述泥水分離裝置的側壁上,并對應所述第一沉降段的區域,其另一端連通至所述排泥桶的下部;所述回流管的一端開設在所述泥水分離裝置的側壁上,并位于所述第二沉降段的下方,其另一端連通至所述排泥桶的上部,并且所述回流管上設有回流泵;所述泥水分離裝置為一體式短程硝化-厭氧氨氧化反應器。
3.根據權利要求2所述的分質排泥系統,其特征在于,所述泥水分離裝置內的中部上方還設置有脫氣裝置。
4.根據權利要求2或3所述的分質排泥系統,其特征在于,所述分質排泥系統還包括控制設備,所述控制設備包括控制器、控制電路和設置在所述泥水分離裝置中的污泥濃度監測器,所述控制器通過所述控制電路連接所述污泥濃度監測器,并通過所述控制電路連接所述回流泵。
發明內容
針對現有技術的不足,本發明提供一種分質排泥方法、分質排泥系統及其應用。能夠根據不同污泥的不同性質進行排泥,將含有因快速生長而具有較高比例的AOB的污泥排出,而保留因生長緩慢而具有相對較低比例的AnAOB的污泥,從而維持兩種菌群比例在適宜的范圍,使得體系中亞硝氮的生成速率與AnAOB消耗亞硝氮的速率相同,從而保證體系穩定。
本發明的第一方面提供了一種分質排泥方法,所述方法包括:
步驟S1、在泥水分離裝置中形成環流沉淀區;
步驟S2、調節所述環流沉淀區內混合液的上升流速,在所述環流沉淀區內形成第一沉降段和第二沉降段,其中第一沉降段位于第二沉降段的上方;
步驟S3、所述環流沉淀區中沉降速率小于上升流速的污泥進入第一沉降段,所述環流沉淀區中沉降速率大于上升流速的污泥進入第二沉降段;
步驟S4、排出進入到所述第一沉降段中的污泥;
步驟S5、將所述第一沉降段中排出的污泥進行二次沉降;
步驟S6、將二次沉降后的污泥的上清液回流至所述環流沉淀區,通過調整所述上清液的回流速率從而對所述環流沉淀區的上升流速進行調整。
進一步地,步驟S5中,通過排泥回流裝置將進入到所述第一沉降段的污泥排出,所述排泥回流裝置包括排泥管、排泥桶和回流管。
進一步地,所述回流管上設有回流泵,用以調整所述上清液的回流速率。
根據本發明的第二方面提供了一種分質排泥系統,所述分質排泥系統包括:
泥水分離裝置,所述泥水分離裝置中形成有環流沉淀區,通過調節所述環流沉淀區內混合液的上升流速從而在所述環流沉淀區內形成第一沉降段和第二沉降段,其中所述第一沉降段位于所述第二沉降段的上方;以及
排泥回流裝置,用于排出進入到所述第一沉降段中的污泥。
進一步地,所述排泥回流裝置包括:
排泥管,所述排泥管用于排出進入到所述第一沉降段中的污泥;
排泥桶,用于將所述排泥管排出的污泥進行二次沉降;
回流管,用于將所述二次沉降后的上清液回流至所述環流沉淀區;
所述排泥管的一端開設在所述泥水分離裝置的側壁上,并對應所述第一沉降段的區域,其另一端連通至所述排泥桶的下部;
所述回流管的一端開設在所述泥水分離裝置的側壁上,并位于所述第二沉降段的下方,其另一端連通至所述排泥桶的上部,并且所述回流管上設有回流泵。
進一步地,所述泥水分離裝置內的中部上方還設置有脫氣裝置。
進一步地,所述分質排泥系統還包括控制設備,所述控制設備包括控制器、控制電路和設置在所述泥水分離裝置中的污泥濃度監測器,所述控制器通過所述控制電路連接所述污泥濃度監測器,并通過所述控制電路連接所述回流泵。
根據本發明的第三方面提供了一種前述第二方面的分質排泥系統在一體式短程硝化-厭氧氨氧化反應器中的應用。
如前所述,氨氧化菌(簡稱AOB)生長速度快導致體系中的亞硝氮濃度升高速率加快,而亞硝氮濃度過高會抑制AnAOB的生長,導致氨氮和過多的亞硝氮無法被轉化成氮氣,這樣會使得水處理裝置無法穩定高效脫氮。因此,需要在脫氮的過程中,按照一定的周期將生長速率較快的AOB污泥排出,并保留AnAOB污泥。試驗證明,在使用AOB和AnAOB的水處理過程中發現這兩種菌在反應器中的形態是不同的,AOB在體系中通常以絮狀污泥的形式存在,沉降速率慢,而AnAOB容易顆粒化,通常以顆粒污泥的形式存在,沉降速率快。由此,可以根據兩種菌的沉降性能差異,來選擇性地排出AOB,同時將AnAOB保留在反應器內,從而調控系統內污泥比例。
本發明提供了一種分質排泥方法、分質排泥系統及其應用。本發明的分質排泥方法直接在泥水分離裝置中環流沉淀區,通過調節環流沉淀區內混合液的上升流速,形成不同的沉降段,即根據污泥的不同性質,實現污泥的分質沉降,使沉降速率慢的污泥進入第一沉降段,而沉降速率較快的污泥快速沉淀進入第二沉降段。隨后將不同沉降段中的污泥采用不同的方式排出,能夠自行調控泥水分離裝置中的不同污泥比。將排出的污泥進行二次沉淀后,將上清液回流至泥水分離裝置中,進而調控環流沉淀區的上升流速,繼續保持不同污泥的不同狀態。由此,通過一個裝置實現了排泥、二次沉淀、回流和環流沉淀區內上升流速調控多方面的功能,方法簡單,便于控制。
本發明的分質排泥系統能夠通過自動控制系統,檢測反應池內污泥濃度的變化,自動控制排泥周期,保證水處理裝置中的AOB與AnAOB的比例穩定,通過泥水分離裝置和排泥回流裝置配合,特別設定了回流管23和排泥管21的位置,無需外設其他調節裝置即可實現上升流速的控制。通過控制設備管理,能夠自動運行,無需人工手動排泥,提高了系統運行的穩定性。
此外,本發明的分質排泥系統可以應用在短程硝化-厭氧氨氧化反應器中,該短程硝化-厭氧氨氧化反應器能夠連續穩定運轉,減少了人力成本,大大提高了經濟效益,并且能夠有效提高污水的脫氮效率。
(發明人:史緒川;王思琦;何鉅源;王艷青;陳福明;劉淑杰)






