公布日:2024.03.26
申請日:2023.12.28
分類號:C02F9/00(2023.01)I;C02F3/02(2023.01)N;C02F1/44(2023.01)N;C02F1/04(2023.01)N
摘要
本發明涉及污水處理領域,尤其涉及零廢水污水處理系統及零廢水污水處理工藝,所述零廢水污水處理系統其包括生化處理系統、粗濾單元、超濾單元、RO反滲透單元以及蒸發系統。本發明通過多種污水處理手段的聯用,從而能夠有效提升污水的處理效果。同時,發明中的污水處理系統能夠最大限度地利用污水處理過程中產生的廢水,采用濃縮液內循環模式,從而實現廢水中的水分和有用組分的回收和再利用,提高水資源的利用效率,最終達到零排放的目的。

權利要求書
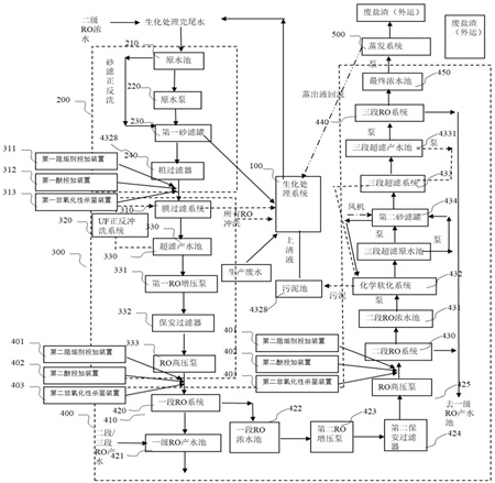
1.零廢水污水處理系統,其特征在于,包括:生化處理系統,其用于對生產廢水以及污水處理過程中形成的廢水進行生化處理;粗濾單元,其用于對從生化處理系統流出的生化處理完尾水進行初步過濾,從而得到粗濾水以及粗濾沖洗水,所述砂濾沖洗水回流至生化處理系統;超濾單元,其用于對粗濾單元中流出的粗濾水進行超濾處理,從而得到超濾水和超濾沖洗水,所述超濾沖洗水回流至生化處理系統;RO反滲透單元,其用于對超濾單元中流出的超濾水進行反滲透過濾,從而得到處理后的排放水以及反滲透濃水;蒸發系統,其用于對RO反滲透單元中的反滲透濃水進行蒸發處理,從而得到蒸出液以及廢鹽,所述蒸出液回流至生化處理系統,廢鹽外運處理。
2.根據權利要求1所述的零廢水污水處理系統,其特征在于,所述超濾單元包括膜過濾系統以及超濾正反沖洗系統;還包括設置在超濾單元進水側的第一酸投加裝置、第一阻垢劑投加裝置以及第一非氧化性殺菌裝置。
3.根據權利要求2所述的零廢水污水處理系統,其特征在于,所述第一阻垢劑投加裝中裝載有硫酸鈣阻垢劑。
4.根據權利要求2所述的零廢水污水處理系統,其特征在于,所述膜過濾系統包括三層結構的復合膜;所述復合膜包括依次設置的聚酰胺薄膜層、GE納濾膜以及聚砜多孔支撐層。
5.根據權利要求1-4中任意一項所述的零廢水污水處理系統,其特征在于,所述RO反滲透單元包括RO反滲透系統以及設置在RO反滲透系統進水側的第二酸投加裝置、第二阻垢劑投加裝置以及第二非氧化性殺菌裝置。
6.根據權利要求5所述的一種零廢水污水處理系統,其特征在于,所述第二阻垢劑投加裝置中裝載有二氧化硅阻垢劑。
7.根據權利要求5所述的零廢水污水處理系統,其特征在于,所述RO反滲透系統包括依次連接的一段RO反滲透系統、二段RO反滲透系統、三段DTRO反滲透系統或三段SWRO反滲透系統。
8.根據權利要求7所述的零廢水污水處理系統,其特征在于,所述二段RO反滲透系統、三段DTRO反滲透系統或三段SWRO反滲透系統之間還設置有化學軟化系統以及與化學軟化系統相連的三段超濾系統;所述化學軟化系統與污泥池相連接,所述污泥池與生化處理系統相連接。
9.根據權利要求8所述的零廢水污水處理系統,其特征在于,所述三段DTRO反滲透系統或三段SWRO反滲透系統還包括用于將三段DTRO反滲透系統或三段SWRO中流出的排放水對三段超濾系統進行反沖洗的第二超濾正反沖洗系統。
10.零廢水污水處理工藝,其特征在于,其基于權利要求1~9中任意一項所述的零廢水污水處理系統,其包括以下步驟:(S.1)將生產廢水通入到生化處理系統進行生化處理,獲得生化處理完尾水;(S.2)將生化處理完尾水通入到粗濾單元進行初步過濾,去除生化處理完尾中的大顆粒物,從而得到粗濾水,并對粗濾單元進行沖洗,得到粗濾沖洗水,所述粗濾沖洗水回流至生化處理系統;(S.3)將粗濾沖洗水通入到超濾單元中進行超濾處理,去除粗濾沖洗水中的膠體、懸浮顆粒、色度、濁度、細菌、大分子有機物,從而得到超濾水,并對超濾單元進行沖洗得到超濾沖洗水,所述超濾沖洗水回流至生化處理系統;(S.4)將超濾水通入到RO反滲透單元中進行反滲透過濾,去除超濾水中的離子,從而得到處理后的排放水以及反滲透濃水;(S.5)將反滲透濃水通入到蒸發系統中進行蒸發處理,從而得到蒸出液以及廢鹽,所述蒸出液回流至生化處理系統,廢鹽外運處理。
發明內容
本發明是為了克服現有技術中的污水處理系統其在進行污水處理過程中仍然會有大量的污水生成,無法實現零廢水的目的,因此提供了一種零廢水污水處理系統以及零廢水污水處理工藝以克服上述不足之處。
為實現上述發明目的,本發明通過以下技術方案實現:第一方面,本發明首先提供了一種零廢水污水處理系統,其包括:生化處理系統,其用于對生產廢水以及污水處理過程中形成的廢水進行生化處理;粗濾單元,其用于對從生化系統調節池流出的生化處理完尾水進行初步過濾,從而得到粗濾水以及粗濾沖洗水,所述砂濾沖洗水回流至生化處理系統;超濾單元,其用于對粗濾單元中流出的粗濾水進行超濾處理,從而得到超濾水和超濾沖洗水,所述超濾沖洗水回流至生化處理系統;RO反滲透單元,其用于對超濾單元中流出的超濾水進行反滲透過濾,從而得到處理后的排放水以及反滲透濃水;蒸發系統,其用于對RO反滲透單元中的反滲透濃水進行蒸發處理,從而得到蒸出液以及廢鹽,所述蒸出液回流至生化處理系統,廢鹽外運處理。
本發明中的零廢水污水處理系統通過生化處理系統對生產廢水以及污水處理過程中形成的廢水進行生化處理。這包括有機物的降解和轉化,以及營養物的去除。通過多個處理單元的協同作用,可以對廢水中的各類污染物進行全面處理,大大提高廢水處理的效果。在經過生化處理系統處理后,系統中的粗濾單元和超濾單元分別對生化處理完尾水和粗濾水進行過濾處理。
粗濾單元對流出的生化處理完尾水進行初步過濾,去除較大的固體顆粒和懸浮物。超濾單元則通過超濾技術對粗濾水進行更細致的過濾,去除更小的顆粒、微生物和膠體物質。這樣可以提高廢水凈化的效率。
而系統中的RO反滲透單元對超濾水進行反滲透過濾。反滲透過程通過半透膜的作用,將水中的離子、溶解性有機物和微生物等更小的顆粒去除,從而獲得處理后的排放水。同時,反滲透過程中也會產生反滲透濃水,即濃縮了廢水中的有害物質。這樣,通過RO反滲透單元的運用,可以進一步提高廢水的凈化效果。
最后,系統中的蒸發系統對RO反滲透單元中的反滲透濃水進行蒸發處理。在蒸發過程中,水分蒸發掉并得到蒸發液,而廢水中的污染物則會濃縮在廢鹽中。這種蒸發濃縮處理方式可以有效地將廢水中的有害物質濃縮,減少排放量,同時也從廢水中回收了部分水分。
此外,系統中的砂濾沖洗水、超濾沖洗水和蒸發液都會回流至生化處理系統進行再利用。這樣可以最大限度地利用廢水中的水分和有用組分,實現廢水資源的回收和再利用,提高水資源的利用效率。系統中廢水的處理過程中,通過蒸發系統將廢水中的有害物質進行濃縮,產生廢鹽。這些廢鹽可以外運處理,減少對環境的影響,降低廢物的排放量。
作為優選,所述超濾單元包括膜過濾系統以及超濾正反沖洗系統;還包括設置在超濾單元進水側的第一酸投加裝置、第一阻垢劑投加裝置以及第一非氧化性殺菌裝置。
本發明中超濾單元包括超濾正反沖洗系統,其采用濃縮液內循環模式,大部分濃水直接回流至高壓泵后,并與進水相混合,經循環泵提升壓力后再次進入超濾單元,從而在保證膜表面過濾流速,進而在降低膜污染的情況下,提高單元系統的回收率。
此外,超濾單元中主要會造成硫酸鈣結垢,一般硫酸鈣飽和度能達到660%,因此在超濾單元設置第一阻垢劑投加裝置從而投加專用硫酸鈣阻垢劑(能阻止800%的飽和度)能夠有效防止硫酸鈣結垢。另外由于垃圾滲濾液中的堿度較高,若在堿性條件下運行會造成碳酸鈣結垢所以在進水側設置第一酸投加裝置控制系統在偏酸性的情況運行,由于垃圾滲濾液通過處理后該廢水的CODcr可能達到300-800mg/L,所以在進水側設置第一非氧化性殺菌裝置對系統進行周期性投藥殺菌,從而控制系統中膜的微生物污染。
作為優選,所述第一阻垢劑投加裝中裝載有硫酸鈣阻垢劑。
作為優選,所述膜過濾系統包括三層結構的復合膜;所述復合膜包括依次設置的聚酰胺薄膜層、GE納濾膜以及聚砜多孔支撐層。
本申請發明人發現,針對于膜污染的控制,除了正反沖洗系統的設置,膜的選擇對于膜污染的防止也有較大的影響。其中,發明人發現,在超濾單元的膜過濾系統中選用三層結構的復合膜,三層膜結構是通過在膜元件的聚酰胺薄膜層(PA)和聚砜(PS)多孔支撐層之間插入GE納濾膜,從而使表層復合膜增加了光滑度,降低了污染物在表層膜上的附著力,從而提高膜的抗污染能力,即使在污染之后也容易清洗恢復,減少膜系統對精細預處理的苛求。
作為優選,所述RO反滲透單元包括RO反滲透系統以及設置在RO反滲透系統進水側的第二酸投加裝置、第二阻垢劑投加裝置以及第二非氧化性殺菌裝置。
現有技術中認為納濾能起到部分軟化作用,反滲透阻垢劑加藥量可減少甚至不加。然而實際情況并非如此,超濾單元對SiO2基本不截留,而對硫酸鹽截留率較高,對鈣、鎂的截留率由于電荷效應截留率只有50%左右因此并不高。
反滲透(RO)是一種借助于選擇透過(半透過)性膜的功能,以壓力差為推動力的膜分離技術,當系統中所加的壓力大于溶液滲透壓時,水分子不斷地透過膜,經過產水流道流入中心管,然后在出水端流出,進水中的雜質,如:離子、有機物、細菌、病毒等被截留在膜的進水側,然后在濃水出水端流出,從而達到分離凈化目的。反滲透與一般單純的篩分分離過程不同,無法像普通過濾那樣可以無限濃縮(反滲透有濃差極化問題)。
超濾出水進入反滲透膜組,在壓力作用下,大部分水分子和極微量一價離子透過反滲透膜,經收集后成為透過水,通過產水管道進入后續設備;水中的大部分鹽分和膠體、有機物等不能透過膜,殘留在少量濃水中,由濃水管排出。
本發明中RO反滲透單元膜濃水中的CaSO4、CaCO3、Mg(OH)2、SiO2等的飽和濃度超過溶度積指數KSP,就會在膜面(尤其是濃水側)沉淀結垢。因此,RO系統中主要會造成二氧化硅結垢,二氧化硅的飽和度可能達到180,因此在本申請中特意增加了第二阻垢劑投加裝置從而投放專用二氧化硅阻垢劑(能阻止250%的飽和度)能夠有效防止二氧化硅結垢。另外由于垃圾滲濾液中的堿度較高,若在堿性條件下運行會造成碳酸鈣結垢所以在進水側設置第二酸投加裝置控制系統在偏酸性的情況運行,由于垃圾滲濾液通過納濾處理后該廢水的CODcr可能達到300mg/L,所以在進水側設置第二非氧化性殺菌裝置對系統進行周期性投藥殺菌控制系統中膜的微生物污染。系統采用大流量的循環泵加大膜面的錯流速率來有效的控制膜的污染,采用內循環加大循環的方式來實現產水量。
作為優選,所述第二阻垢劑投加裝置中裝載有二氧化硅阻垢劑。
作為優選,所述RO反滲透系統包括依次連接的一段RO反滲透系統、二段RO反滲透系統、三段DTRO反滲透系統或三段SWRO反滲透系統。
目前垃圾滲濾液的主流工藝通常采用一段超濾+一段RO,通常一段超濾最高的回收率做到80-85%,一段RO的回收率做到80%,因此整體系統的回收率在70-75%,按照要求也打不到整體系統85%的回收率。另外一段RO處理的是一段NF的產水(一段NF對氨氮、總氮的基本沒有截留)勢必會造成氨氮和總氮的分離全靠一段RO進行,而RO對氨氮和總氮的去除也是有限,通過單段RO處理是達不到氨氮≤5mg/L,總氮≤8.8mg/L的要求。
為了克服上述不足之處,申請人曾提出采用采用“一段RO+二段RO+三段RO、產水二級RO工藝”,保證出水達標。一段RO系統回收率控制在66%左右,二段RO系統回收率控制在52%左右,三段RO系統回收率控制在47%左右,產水二級RO控制回收率在72%左右,整體工藝通過小試實驗論證出水水質完全達到要求。然而,在該工藝下,三段RO濃水的COD在1350mg/L左右,因此最大的風險會出現在三段RO,如果出現損壞,肯定是三段RO的膜先損壞。為了降低風險申請人在第三段RO采用DTRO工藝或者SWRO工藝,相應的工藝會變成“一段RO+二段RO+三段DTRO或三段SWRO,產水二級RO工藝”該工藝的操作性更強,經濟性更高,從而能夠有效降低第三段RO的運行風險,延長三段RO膜的使用壽命。
作為優選,所述二段RO反滲透系統、三段DTRO反滲透系統或三段SWRO反滲透系統之間還設置有化學軟化系統以及與化學軟化系統相連的三段超濾系統;所述化學軟化系統與污泥池相連接,所述污泥池與生化處理系統相連接。
原廢水通過組合一段、二段膜處理濃縮后,二段反滲透的濃水鈣鎂離子、二氧化硅、氟離子、硫酸根離子、碳酸根離子含量較高,需要進行化學軟化處理除去鈣鎂離子、二氧化硅、氟離子、碳酸根離子,防止其進入后續膜處理系統。
作為優選,所述三段DTRO反滲透系統或三段SWRO反滲透系統還包括用于將三段DTRO反滲透系統或三段SWRO中流出的排放水對三段超濾系統進行反沖洗的第二超濾正反沖洗系統。
第二方面,本發明還提供了一種零廢水污水處理工藝,其基于所述的零廢水污水處理系統,其包括以下步驟:(S.1)將生產廢水通入到生化處理系統進行生化處理,獲得生化處理完尾水;(S.2)將生化處理完尾水通入到粗濾單元進行初步過濾,去除生化處理完尾中的大顆粒物,從而得到粗濾水,并對粗濾單元進行沖洗,得到粗濾沖洗水,所述粗濾沖洗水回流至生化處理系統;(S.3)將粗濾沖洗水通入到超濾單元中進行超濾處理,去除粗濾沖洗水中的膠體、懸浮顆粒、色度、濁度、細菌、大分子有機物,從而得到超濾水,并對超濾單元進行沖洗得到超濾沖洗水,所述超濾沖洗水回流至生化處理系統;(S.4)將超濾水通入到RO反滲透單元中進行反滲透過濾,去除超濾水中的離子,從而得到處理后的排放水以及反滲透濃水;(S.5)將反滲透濃水通入到蒸發系統中進行蒸發處理,從而得到蒸出液以及廢鹽,所述蒸出液回流至生化處理系統,廢鹽外運處理。
因此,本發明具有以下有益效果:本發明通過多種污水處理手段的聯用,從而能夠有效提升污水的處理效果。同時,發明中的污水處理系統能夠最大限度地利用污水處理過程中產生的廢水,從而實現廢水中的水分和有用組分的回收和再利用,提高水資源的利用效率,最終達到零排放的目的。
此外,本發明超濾和反滲透系統均采用濃縮液內循環模式,大部分濃水直接回流至高壓泵后,并與進水相混合,經循環泵提升壓力后再次進入膜系統,從而在保證膜表面過濾流速,降低膜污染的情況下,提高單元系統的回收率;另外,反滲透不僅采用濃縮內循環模式,而且部分濃水回流至納濾系統再處理,提高整個膜系統的回收率。
(發明人:干建文;張閏容)






