公布日:2024.04.12
申請日:2024.02.28
分類號:E03F5/04(2006.01)I;E03F5/06(2006.01)I;E03F5/14(2006.01)I;E03F7/00(2006.01)I
摘要
本發明提供了一種簡易可預處理污水的自動傾倒地漏裝置,包括下水連接管和地漏,下水連接管左側設有帶坡度的雜質收集區,下水連接管上連接有雜質過濾區,雜質過濾區上方連接有地漏輸送管,雜質過濾區左側連接有地漏分離區,地漏輸送管側面連接有污水導流管。污水導流管和地漏輸送管的頂端均與地面一齊,雜質過濾區的外壁面上設有電機和齒輪聯動器,雜質過濾區內設有地漏固定器,電機的驅動端與齒輪聯動器相連,齒輪聯動器與地漏固定器相連;雜質過濾區與地漏分離區連通,且地漏分離區左側為開口設置。本發明涉及日常污水預處理領域,本發明的簡易可預處理污水的自動傾倒地漏裝置,可以對毛發、沐浴液等雜質進行統一過濾及回收。

權利要求書
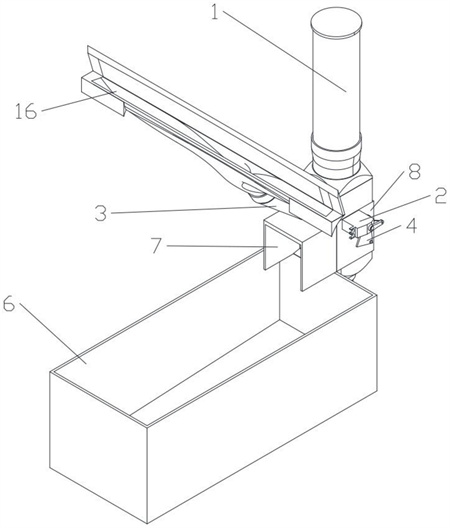
1.一種簡易可預處理污水的自動傾倒地漏裝置,包括下水連接管(5)和地漏(10),所述下水連接管(5)左側設有帶坡度的雜質收集區(6),所述下水連接管(5)上連接有雜質過濾區(8),所述雜質過濾區(8)上方連接有地漏輸送管(1),所述雜質過濾區(8)左側連接有地漏分離區(7),所述地漏輸送管(1)側面連接有污水導流管(3),其特征在于:所述污水導流管(3)和所述地漏輸送管(1)的頂端均與地面一齊,所述雜質過濾區(8)的外壁面上設有電機(2)和齒輪聯動器(4),所述雜質過濾區(8)內設有地漏固定器(9),所述電機(2)的驅動端與所述齒輪聯動器(4)相連,所述齒輪聯動器(4)與所述地漏固定器(9)相連;所述雜質過濾區(8)與所述地漏分離區(7)連通,且所述地漏分離區(7)左側及底部為開口設置。
2.根據權利要求1所述的簡易可預處理污水的自動傾倒地漏裝置,其特征在于:所述地漏固定器(9)包括地漏固定架(11)和導向板(12);所述地漏固定架(11)底部設有軸,通過所述軸與地漏固定器(9)上的所述齒輪聯動器(4)連接;所述導向板(12)與所述齒輪聯動器(4)連接,所述導向板(12)位于所述地漏固定架(11)左側。
3.根據權利要求2所述的簡易可預處理污水的自動傾倒地漏裝置,其特征在于:所述齒輪聯動器(4)的數量為兩個,兩個所述齒輪聯動器(4)分別安裝于所述地漏固定器(9)相對的兩個外壁面上;所述齒輪聯動器(4)包括主動齒輪(13)、從動齒輪(14)和半齒輪(15);所述主動齒輪(13)的齒輪軸安裝于所述雜質過濾區(8)的外壁上;所述從動齒輪(14)的齒輪軸穿過所述雜質過濾區(8)與導向板(12)連接;兩個所述半齒輪(15)分別與所述軸的兩端連接,以便于控制所述地漏固定架(11)擺動;所述主動齒輪(13)與所述電機(2)的動力輸出端相連;所述主動齒輪(13)與所述從動齒輪(14)嚙合和所述半齒輪(15)嚙合。
4.根據權利要求1所述的簡易可預處理污水的自動傾倒地漏裝置,其特征在于:所述污水導流管(3)上設有污水收集口(16)以及與所述污水收集口(16)所匹配的可開合的蓋體,所述地漏輸送管(1)上設有與所述地漏輸送管(1)所匹配的蓋體。
5.根據權利要求1所述的簡易可預處理污水的自動傾倒地漏裝置,其特征在于:所述地漏(10)內部設有小勾以便于毛發倒掛;所述地漏(10)上方設有斜長條形漏水口;所述地漏(10)采用可降解材質。
6.根據權利要求1所述的簡易可預處理污水的自動傾倒地漏裝置,其特征在于:所述帶坡度的雜質收集區(6)內部靠近所述地漏分離區(7)側為坡度高處,所述帶坡度的雜質收集區(6)內部遠離所述地漏分離區(7)側為坡度低處。
發明內容
有鑒于此,本發明旨在提出一種簡易可預處理污水的自動傾倒地漏裝置,以解決現如今無法對毛發、沐浴液等雜質進行統一過濾及回收的問題,從而降低人為清潔頻次及成本。
為達到上述目的,本發明的技術方案是這樣實現的:
一種簡易可預處理污水的自動傾倒地漏裝置,包括下水連接管和地漏,所述下水連接管左側設有帶坡度的雜質收集區,所述下水連接管上連接有雜質過濾區,所述雜質過濾區上方連接有地漏輸送管,所述雜質過濾區左側連接有地漏分離區,所述地漏輸送管側面連接有污水導流管,所述污水導流管和所述地漏輸送管的頂端均與地面一齊,所述雜質過濾區的外壁面上設有電機和齒輪聯動器,所述雜質過濾區內設有地漏固定器,所述電機的驅動端與所述齒輪聯動器相連,所述齒輪聯動器與所述地漏固定器相連;
所述雜質過濾區與所述地漏分離區連通,且所述地漏分離區左側及底部為開口設置。
進一步的,所述地漏固定器包括地漏固定架和導向板;
所述地漏固定架底部設有軸,通過所述軸與所述地漏固定器上的齒輪聯動器連接;
所述導向板與所述齒輪聯動器連接,所述導向板位于所述地漏固定架左側。
進一步的,所述齒輪聯動器的數量為兩個,兩個所述齒輪聯動器分別安裝于所述地漏固定器相對的兩個外壁面上;
所述齒輪聯動器包括主動齒輪、從動齒輪和半齒輪;
所述主動齒輪的齒輪軸安裝于所述雜質過濾區的外壁上;
所述從動齒輪的齒輪軸穿過所述雜質過濾區與導向板連接;
兩個所述半齒輪分別與所述軸的兩端連接與所述地漏固定器連接,以便于控制所述地漏固定架擺動;
所述主動齒輪與所述電機的動力輸出端相連;
所述主動齒輪與所述從動齒輪嚙合和所述半齒輪嚙合。
進一步的,所述污水導流管上設有污水收集口以及與所述污水收集口所匹配的可開合的蓋體,所述地漏輸送管上設有與所述地漏輸送管所匹配的蓋體。
進一步的,所述地漏內部設有小勾以便于毛發倒掛;
所述地漏上方設有斜長條形漏水口;
所述地漏采用可降解材質。
進一步的,所述帶坡度的雜質收集區內部靠近所述地漏分離區側為坡度高處,所述帶坡度的雜質收集區內部遠離所述地漏分離區側為坡度低處。
相對于現有技術,本發明具有以下優勢:
本發明所述的簡易可預處理污水的自動傾倒地漏裝置,可美化浴室表面。污水收集口嵌于浴室側面內部且平行于地面,從而做到更加隱形。同時通過在污水排入下水管前放置本裝置可有效地初步過濾雜質,通過大型污水收集口降低污水在浴室表面堵塞的可能性,提升表面的美觀整潔度。
本裝置通過過濾分離大型雜質,如:毛發、沐浴液泡沫;從而大幅降低下水管中堵塞的可能性。安裝本裝置可避免使用化學溶解劑,從而提升浴室及相連的水管的耐用性能。從而可以幫助延長管道使用年限。
降低人為清潔頻次及成本,環保耗材可回收。經過過濾的雜質可通過傾倒裝置自動與污水分離,在降低人工清潔的必要性的同時,也對環境進行了保護。
(發明人:王天賜;姜欣;謝晚儀)






