公布日:2023.09.26
申請日:2023.05.26
分類號:C02F1/52(2023.01)I;B01J2/16(2006.01)I
摘要
本發明提供了一種小水量封閉式一體化循環結團造粒流化床水處理設備,其中,罐體的底端封閉且頂端封閉,外筒的頂端封閉,罐體位于外筒的頂端以上的內部腔體為集水區,外筒的底端以下且位于封閉的混合筒外部的罐體的內部腔體為污泥濃縮區;外筒的底端開放,形成分離入水口,外筒和罐體之間為分離區;分離區的頂部與集水區相連通;分離區的底部與污泥濃縮區相連通。本發明用于處理污染物含量低的水質,采取封閉式頂端,采用頂部出水管出水。采用了內筒、中筒、外筒和罐體同軸設置的四層結構,將分離區設置在外筒和罐體之間,解決了現有技術中位于頂部的分離區內的構造復雜,水質水量適應性較差等問題,進一步提升系統經濟性。

權利要求書
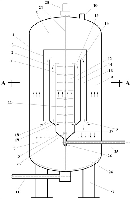
1.一種小水量封閉式一體化循環結團造粒流化床水處理設備,包括罐體(4),其特征在于,所述的罐體(4)內從內至外依次套裝有內筒(1)、中筒(2)和外筒(3),內筒(1)、中筒(2)、外筒(3)和罐體(4)均同軸固定設置;所述的中筒(2)的底端開放,所述的中筒(2)的底端連通有底端封閉的混合筒(5);所述的罐體(4)的底端封閉且頂端封閉,所述的外筒(3)的頂端封閉,罐體(4)的頂端高于外筒(3)的頂端,罐體(4)位于外筒(3)的頂端以上的內部腔體為集水區(6),所述的外筒(3)的底端以下且位于封閉的混合筒(5)外部的罐體(4)的內部腔體為污泥濃縮區(7);所述的外筒(3)的底端開放,形成分離入水口(8),所述的外筒(3)和罐體(4)之間為分離區(9);所述的分離區(9)的頂部與集水區(6)相連通;所述的分離區(9)的底部與污泥濃縮區(7)相連通;所述的集水區(6)上方的罐體(4)的頂部設置有出水管(10);所述的罐體(4)外壁上設置有連通罐體(4)內的污泥濃縮區(7)的排泥管(11);所述的混合筒(5)的底端與進水管(25)相連通,進水管(25)穿過罐體(4)的側壁伸出至罐體(2)的外部。
2.如權利要求1所述的小水量封閉式一體化循環結團造粒流化床水處理設備,其特征在于,所述的內筒(1)的底端開放,所述的內筒(1)內為造粒流化區(12);所述的內筒(1)的頂端開放,所述的中筒(2)的頂端高于內筒(1)的頂端,形成回流入水口(13),所述的內筒(1)和中筒(2)之間為循環區(14);所述的中筒(2)的頂端開放,所述的外筒(3)的頂端高于中筒(2)的頂端,形成污泥沉降口(15),所述的中筒(2)和外筒(3)之間為污泥沉降區(16),污泥沉降區(16)的底部與所述的污泥濃縮區(7)相連通;所述的混合筒(5)內為混合區(17),混合區(17)的頂部與造粒流化區(12)和循環區(14)相連通。
3.如權利要求2所述的小水量封閉式一體化循環結團造粒流化床水處理設備,其特征在于,所述的中筒(2)的底端靠近內筒(1)的底端的位置向內收縮形成收縮內壁(18),內筒(1)的底端和中筒(2)的收縮內壁(18)之間形成回流出水狹縫(19),用于形成局部負壓,提供回流動力;所述的中筒(2)的收縮內壁(18)的底端連接有混合筒(5),回流出水狹縫(19)與混合區(17)的頂端連通。
4.如權利要求1所述的小水量封閉式一體化循環結團造粒流化床水處理設備,其特征在于,罐體(4)封閉的頂端安裝有攪拌驅動電機(20),攪拌驅動電機(20)驅動攪拌軸(21);所述的攪拌軸(21)依次穿過集水區(6)、外筒(3)封閉的頂端、內筒(1)和混合筒(5)且伸入至罐體(4)的底部;所述的內筒(1)中的攪拌軸(21)上安裝有攪拌槳葉(22),所述的攪拌軸(21)以混合筒(5)內固定安裝的布水器(23)作為轉動支撐座,所述的攪拌軸(21)的底端與安裝在罐體(4)的底部的刮泥板(24)相連,攪拌軸(21)的轉動帶動攪拌槳葉(22)和刮泥板(24)轉動。
5.如權利要求4所述的小水量封閉式一體化循環結團造粒流化床水處理設備,其特征在于,所述的進水管(25)的底部與攪拌軸(21)之間設置有滑動密封套(26)。
6.如權利要求1所述的小水量封閉式一體化循環結團造粒流化床水處理設備,其特征在于,所述的罐體(4)的底部為弧形底,混合筒(5)的底部為錐形斗底。
7.如權利要求1所述的小水量封閉式一體化循環結團造粒流化床水處理設備,其特征在于,所述的罐體(4)采用鋼材料制成。
8.如權利要求1所述的小水量封閉式一體化循環結團造粒流化床水處理設備,其特征在于,罐體(4)安裝在基架(27)上。
9.如權利要求1所述的小水量封閉式一體化循環結團造粒流化床水處理設備,其特征在于,所述的混合筒(5)的內徑小于或等于內筒(1)的內徑。
發明內容
針對現有技術存在的不足,本發明的目的在于,提供一種小水量封閉式一體化循環結團造粒流化床水處理設備,解決現有技術中的封閉式系統在小水量條件下的運行經濟性差的技術問題。
為了解決上述技術問題,本發明采用如下技術方案予以實現:
一種小水量封閉式一體化循環結團造粒流化床水處理設備,包括罐體,所述的罐體內從內至外依次套裝有內筒、中筒和外筒,內筒、中筒、外筒和罐體均同軸固定設置;所述的中筒的底端開放,所述的中筒的底端連通有底端封閉的混合筒。
所述的罐體的底端封閉且頂端封閉,所述的外筒的頂端封閉,罐體的頂端高于外筒的頂端,罐體位于外筒的頂端以上的內部腔體為集水區,所述的外筒的底端以下且位于封閉的混合筒外部的罐體的內部腔體為污泥濃縮區。
所述的外筒的底端開放,形成分離入水口,所述的外筒和罐體之間為分離區;所述的分離區的頂部與集水區相連通;所述的分離區的底部與污泥濃縮區相連通。
所述的集水區上方的罐體的頂部設置有出水管。
所述的罐體外壁上設置有連通罐體內的污泥濃縮區的排泥管。
所述的混合筒的底端與進水管相連通,進水管穿過罐體的側壁伸出至罐體的外部。
本發明還具有如下技術特征:
所述的內筒的底端開放,所述的內筒內為造粒流化區;所述的內筒的頂端開放,所述的中筒的頂端高于內筒的頂端,形成回流入水口,所述的內筒和中筒之間為循環區;所述的中筒的頂端開放,所述的外筒的頂端高于中筒的頂端,形成污泥沉降口,所述的中筒和外筒之間為污泥沉降區,污泥沉降區的底部與所述的污泥濃縮區相連通;所述的混合筒內為混合區,混合區的頂部與造粒流化區和循環區相連通。
所述的中筒的底端靠近內筒的底端的位置向內收縮形成收縮內壁,內筒的底端和中筒的收縮內壁之間形成回流出水狹縫,用于形成局部負壓,提供回流動力;所述的中筒的收縮內壁的底端連接有混合筒,回流出水狹縫與混合區的頂端連通。
罐體封閉的頂端安裝有攪拌驅動電機,攪拌驅動電機驅動攪拌軸;所述的攪拌軸依次穿過集水區、外筒封閉的頂端、內筒和混合筒且伸入至罐體的底部;所述的內筒中的攪拌軸上安裝有攪拌槳葉,所述的攪拌軸以混合筒內固定安裝的布水器作為轉動支撐座,所述的攪拌軸的底端與安裝在罐體的底部的刮泥板相連,攪拌軸的轉動帶動攪拌槳葉和刮泥板轉動。
所述的進水管的底部與攪拌軸之間設置有滑動密封套。
所述的罐體的底部為弧形底,混合筒的底部為錐形斗底。
所述的罐體采用鋼材料制成。
所述的罐體安裝在基架上。
所述的混合筒的內徑小于或等于內筒的內徑。
本發明與現有技術相比,具有如下技術效果:
(Ⅰ)本發明用于處理污染物含量低的水質,采取封閉式頂端,采用頂部出水管出水。本發明的設備采用了內筒、中筒、外筒和罐體同軸設置的四層結構,將分離區設置在外筒和罐體之間,罐體的頂部封閉,解決了現有技術中位于頂部的分離區內的構造復雜,水質水量適應性較差等問題,進一步提升系統經濟性。
(Ⅱ)本發明中的多筒體結構,提升了系統水力停留時間,有效優化了微小顆粒沉降效果,使得分離區中的水濁度和懸浮物明顯降低,在小水量條件下獲得良好的去除效果。
(Ⅲ)本發明取消了現有技術中的系統的分離區中的懸浮層過濾固液分離裝置,降低了設備整體高度,減少了設備安裝高度。同時避免了懸浮珠的定期更換,減少了設備安裝與后期維護工作量,運行更加簡單便捷,設備造價降低。
(Ⅳ)本發明很好地利用了顆粒的高密度性能。原水中的細小顆粒經過在造粒區的結團絮凝過程,逐漸形成了具有較大有效密度的球形體。較大的球體顆粒經過內筒后直接翻入污泥濃縮區,底部無法去除的微小顆粒通過污泥沉降區和分離區后得到有效去除。由于將現有技術中的分離區中的攪拌葉片的去除,有效降低了轉動電機的能量消耗,進一步提升了系統的經濟效益。
(Ⅴ)本發明對各種小水量條件下的各類水質都有很好的處理效果。基于現有技術的運行經驗,在處理有機質含量較高的水質,懸浮物密度較低時,本發明裝置的運行以加砂循環造粒為主;在處理溶解性有機物含量較高水質時,本裝置運行以粉碳循環造粒為主。
(發明人:胡瑞柱;黃廷林;卜建偉;邢翔軒)






