公布日:2023.09.29
申請日:2023.08.28
分類號:F28B9/08(2006.01)I;B01D29/64(2006.01)I;B01D29/68(2006.01)I;B01D29/66(2006.01)I;B01D29/72(2006.01)I;F28F19/01(2006.01)I
摘要
本發明涉及蒸汽凝結水回收技術領域,尤其為一種高溫凝結水閃蒸回收凝結水和乏汽裝置,包括底板,所述底板上端面左側固定連接有凝結水罐,所述底板上端面右側固定連接有集水器,所述凝結水罐內腔下端固定連接有過濾板,所述集水器后端中部通過銷軸轉動連接有第二轉動塊,所述第二轉動塊前端設置有第二清刷組件,本發明實現了可對凝結水罐內部的過濾板以及集水器內部的吸附板起到一個自動清理效果,避免了出現堵塞的情況,提高了水流的通過效率,也省去了人工手動將其取下進行清理的過程,節省時間人力,可對輸入管內腔壁附著的污泥等雜質起到一個自動刮取效果,避免了出現輸入管堵塞的情況。

權利要求書
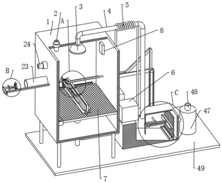
1.一種高溫凝結水閃蒸回收凝結水和乏汽裝置,包括底板,其特征在于:所述底板上端面左側設置有凝結水罐,所述底板上端面右側設置有集水器,所述凝結水罐內腔下端設置有過濾板,所述集水器內腔壁右側設置有吸附板,所述凝結水罐右端中部通過銷軸轉動設置有鏈輪和第三連桿,所述第三連桿左端通過銷軸轉動連接有第二連桿,所述第二連桿左端通過銷軸轉動連接有安裝桿,所述安裝桿左端設置有第一清刷組件,所述集水器后端中部通過銷軸轉動連接有第二轉動塊,所述第二轉動塊前端設置有第二清刷組件;所述第一清刷組件包括毛刷輥,所述毛刷輥上滑動設置有第一毛刷板,所述毛刷輥內側設置有彈性氣囊,所述毛刷輥側上端橫向滑動設置有集水管;所述第二清刷組件包括毛刷架,所述毛刷架側端滑動設置有第二毛刷板,所述毛刷架內設置有空腔,所述第二毛刷板在空腔內的一側設置有活塞板,所述活塞板遠離第二毛刷板的一側設置有第一彈簧,所述毛刷架上設置有氣管,所述氣管與彈性氣囊連通設置;所述凝結水罐左端中部設置有輸入管和矩形板,所述輸入管側端設置有轉盤,所述轉盤外側滑動設置有刮板,所述刮板側端設置有彈性圓墊,所述矩形板靠近凝結水罐的一側還設置有距離傳感器;所述毛刷輥中部通過銷軸設置有第二齒輪,所述毛刷輥與第二齒輪均通過銷軸轉動連接于安裝桿,所述安裝桿后端上下兩側均通過銷軸分別轉動連接有第三齒輪和第一齒輪,所述第一齒輪與第三齒輪相互嚙合,所述第一齒輪與第二齒輪相互嚙合,所述第三齒輪與安裝桿的連接處通過銷軸設置有蝸桿,所述安裝桿左端面后側通過銷軸轉動連接有蝸輪和第一轉動塊,所述蝸輪與蝸桿相互嚙合,所述第一轉動塊左端面后側通過銷軸嵌入有第一凹槽桿并與其滑動相連,所述第一凹槽桿側端設置有集水管;所述集水管上端中部滑動連接有限位桿,所述限位桿兩端通過連接架設置于安裝桿上,所述集水管下端設置有噴頭,所述凝結水罐內腔壁后端面下側設置有齒條,所述齒條與第一齒輪相互嚙合,所述集水管上端連通有軟管,所述軟管與凝結水罐貫穿并滑動相連,所述軟管右端通過水泵連通有清潔水箱,所述清潔水箱主體部分設置于凝結水罐;所述第二清刷組件還包括第三電機,所述第三電機下端設置于集水器,所述第三電機輸出端銷軸轉動穿過集水器,所述第三電機的輸出端銷軸在集水器內外兩側分別設置有第二轉動塊和鏈輪,所述鏈輪嚙合連接有鏈條,所述第二轉動塊通過銷軸嵌入有毛刷架并與其滑動相連,所述毛刷架左端滑動連接有固定桿,所述固定桿上下兩端均設置于集水器,所述凝結水罐左端中部和集水器右端下側均插接有收集盒;所述凝結水罐左端面中部滑動設置有第一連接桿,所述第一連接桿穿過凝結水罐設置于安裝桿側端,所述第一連接桿遠離凝結水罐的一側設置有矩形板,所述矩形板前端滑動設置有滑桿,所述滑桿右端面設置于凝結水罐;所述矩形板右端面后側設置有第一電機,所述第一電機輸出端通過銷軸設置有第二連接桿,所述第二連接桿右端設置有固定盤,所述第二連接桿右端面設置有第二電機,所述第二電機輸出端通過銷軸設置有轉盤,所述固定盤沿徑向分布并滑動連接有刮板,所述刮板左端面中部通過銷軸轉動連接有第一連桿,所述第一連桿遠離刮板的一端通過銷軸與轉盤轉動相連。
2.根據權利要求1所述的一種高溫凝結水閃蒸回收凝結水和乏汽裝置,其特征在于:所述輸入管采用彈性橡膠材料,所述輸入管外側設置有移動板,所述凝結水罐靠近輸入管的一側設置有限位滑槽,所述移動板在限位滑槽內進行滑動,所述移動板與限位滑槽之間設置有第二彈簧。
3.根據權利要求1所述的一種高溫凝結水閃蒸回收凝結水和乏汽裝置,其特征在于:所述集水器上端面左側設置有換熱器,所述換熱器的換熱管纏繞有連接管,且所述換熱管輸入端和輸出端分別設置在換熱器輸出端和輸入端上,所述連接管左端與凝結水罐貫穿并連通有閃蒸水收集器,所述連接管下端與集水器連通。
4.根據權利要求1所述的一種高溫凝結水閃蒸回收凝結水和乏汽裝置,其特征在于:所述集水器右端中部連通有抽液泵,所述抽液泵下端面固定連接于底板,所述抽液泵出液端連通有輸出管,所述凝結水罐內壁還設置有壓力傳感器。
5.根據權利要求1所述的一種高溫凝結水閃蒸回收凝結水和乏汽裝置,其特征在于:所述凝結水罐上端左側中部設置有安全閥,所述凝結水罐左側上端中部設置有排氣閥,所述凝結水罐下端設置有與集水器連通的連通管,所述連通管上設置有排水管,所述連通管上設置有流量計。
發明內容
本發明的目的在于提供一種高溫凝結水閃蒸回收凝結水和乏汽裝置,以解決上述背景技術中提出的問題。
為實現上述目的,本發明提供如下技術方案:
一種高溫凝結水閃蒸回收凝結水和乏汽裝置,包括底板,所述底板上端面左側設置有凝結水罐,所述底板上端面右側設置有集水器,所述凝結水罐內腔下端設置有過濾板,所述集水器內腔壁右側設置有吸附板,所述凝結水罐右端中部通過銷軸轉動設置有鏈輪和第三連桿,所述第三連桿左端通過銷軸轉動連接有第二連桿,所述第二連桿左端通過銷軸轉動連接有安裝桿,所述安裝桿左端設置有第一清刷組件,所述集水器后端中部通過銷軸轉動連接有第二轉動塊,所述第二轉動塊前端設置有第二清刷組件;
所述第一清刷組件包括毛刷輥,所述毛刷輥上滑動設置有第一毛刷板,所述毛刷輥內側設置有彈性氣囊,所述毛刷輥側上端橫向滑動設置有集水管;
所述第二清刷組件包括毛刷架,所述毛刷架側端滑動設置有第二毛刷板,所述毛刷架內設置有空腔,所述第二毛刷板在空腔內的一側設置有活塞板,所述活塞板遠離第二毛刷板的一側設置有第一彈簧,所述毛刷架上設置有氣管,所述氣管與彈性氣囊連通設置;
所述凝結水罐左端中部設置有輸入管和矩形板,所述輸入管側端設置有轉盤,所述轉盤外側滑動設置有刮板,所述刮板側端設置有彈性圓墊,所述矩形板靠近凝結水罐的一側還設置有距離傳感器。
本發明通過設置彈性氣囊、彈性圓墊、移動板、流量計和距離傳感器等裝置,通過各個部件之間相互的配合使過濾板通過水流沖擊、震動、刮掃和氣流反沖的作用進行清堵,也使吸附板進行刮掃和震動清理,進而使過濾板和吸附板在對雜質進行過濾時效果更好,并且通過彈性圓墊和刮板的輔助也能夠對輸入管內壁的雜質進行清理,使設備在進行回收凝結水時效果更好,并且設備對過濾板和吸附板的自行清理減少了人工的參與,節省了人力。
優選的,所述毛刷輥中部通過銷軸設置有第二齒輪,所述毛刷輥與第二齒輪均通過銷軸轉動連接于安裝桿,所述安裝桿后端上下兩側均通過銷軸分別轉動連接有第三齒輪和第一齒輪,所述第一齒輪與第三齒輪相互嚙合,所述第一齒輪與第二齒輪相互嚙合,所述第三齒輪與安裝桿的連接處通過銷軸設置有蝸桿,所述安裝桿左端面后側通過銷軸轉動連接有蝸輪和第一轉動塊,所述蝸輪與蝸桿相互嚙合,所述第一轉動塊左端面后側通過銷軸嵌入有第一凹槽桿并與其滑動相連,所述第一凹槽桿側端設置有集水管。
優選的,所述集水管上端中部滑動連接有限位桿,所述限位桿兩端通過連接架設置于安裝桿上,所述集水管下端設置有噴頭,所述凝結水罐內腔壁后端面下側設置有齒條,所述齒條與第一齒輪相互嚙合,所述集水管上端連通有軟管,所述軟管與凝結水罐貫穿并滑動相連,所述軟管右端通過水泵連通有清潔水箱,所述清潔水箱主體部分設置于凝結水罐。
優選的,所述第二清刷組件還包括第三電機,所述第三電機下端設置于集水器,所述第三電機輸出端銷軸轉動穿過集水器,所述第三電機的輸出端銷軸在集水器內外兩側分別設置有第二轉動塊和鏈輪,所述鏈輪嚙合連接有鏈條,所述第二轉動塊通過銷軸嵌入有毛刷架并與其滑動相連,所述毛刷架左端滑動連接有固定桿,所述固定桿上下兩端均設置于集水器,所述凝結水罐左端中部和集水器右端下側均插接有收集盒。
優選的,所述凝結水罐左端面中部滑動設置有第一連接桿,所述第一連接桿穿過凝結水罐設置于安裝桿側端,所述第一連接桿遠離凝結水罐的一側設置有矩形板,所述矩形板前端滑動設置有滑桿,所述滑桿右端面設置于凝結水罐。
優選的,所述矩形板右端面后側設置有第一電機,所述第一電機輸出端通過銷軸設置有第二連接桿,所述第二連接桿右端設置有固定盤,所述第二連接桿右端面設置有第二電機,所述第二電機輸出端通過銷軸設置有轉盤,所述固定盤沿徑向分布并滑動連接有刮板,所述刮板左端面中部通過銷軸轉動連接有第一連桿,所述第一連桿遠離刮板的一端通過銷軸與轉盤轉動相連。
優選的,所述輸入管采用彈性橡膠材料,所述輸入管外側設置有移動板,所述凝結水罐靠近輸入管的一側設置有限位滑槽,所述移動板在限位滑槽內進行滑動,所述移動板與限位滑槽之間設置有第二彈簧。
優選的,所述集水器上端面左側設置有換熱器,所述換熱器的換熱管纏繞有連接管,且所述換熱管輸入端和輸出端分別設置在換熱器輸出端和輸入端上,所述連接管左端與凝結水罐貫穿并連通有閃蒸水收集器,所述連接管下端與集水器連通。
優選的,所述集水器右端中部連通有抽液泵,所述抽液泵下端面固定連接于底板,所述抽液泵出液端連通有輸出管,所述凝結水罐內壁還設置有壓力傳感器。
優選的,所述凝結水罐上端左側中部設置有安全閥,所述凝結水罐左側上端中部設置有排氣閥,所述凝結水罐下端設置有與集水器連通的連通管,所述連通管上設置有排水管,所述連通管上設置有流量計。
與現有技術相比,本發明的有益效果是:
1.本發明通過設置毛刷輥、集水管、齒條和第一齒輪等裝置,使安裝桿在進行往復移動的過程中,通過齒條、第一齒輪、第二齒輪和第三齒輪等裝置的配合使毛刷輥轉動對過濾板進行清理,并且使集水管往復移動且噴水對過濾板清掃下的雜質進行沖洗,避免了雜質對過濾板使用的影響,使過濾板在進行使用時其過濾效果更好,提高了設備使用的效果和使用的穩定性。
2.本發明通過設置第二轉動塊、固定桿和毛刷架等裝置,使第二轉動塊的轉動能夠通過固定桿等裝置的輔助帶動毛刷架的上下往復移動,而毛刷架的上下往復移動使第二毛刷板能夠對吸附板上的雜質進行上下刮掃,避免雜質對吸附板使用的影響。
3.本發明通過設置第一電機、第二電機、刮板和彈性圓墊等裝置,通過第二電機的輔助使刮板靠近輸入管內壁,通過第一電機的輔助使固定盤進行轉動,從而使刮板能夠對輸入管內壁進行清理,并且隨著第一連接桿的往復移動,使輸入管內壁進行全面的清理,同時在彈性圓墊的輔助下將清理下來的雜質排出輸入管。
4.本發明通過設置彈性氣囊、彈性圓墊、移動板、流量計和距離傳感器等裝置,通過各個部件之間相互的配合使過濾板通過水流沖擊、震動、刮掃和氣流反沖的作用進行清堵,也使吸附板進行刮掃和震動清理,進而使過濾板和吸附板在對雜質進行過濾時效果更好,并且通過彈性圓墊和刮板的輔助也能夠對輸入管內壁的雜質進行清理,使設備在進行回收凝結水時效果更好,并且設備對過濾板和吸附板的自行清理減少了人工的參與,節省了人力。
(發明人:劉永祥;牛宗峰;李小龍;徐海;周成杰;張奉磊;成浩;李彤彤)






