公布日:2023.10.03
申請日:2023.08.09
分類號:C02F3/28(2023.01)I;B01F27/91(2022.01)I
摘要
本發明屬于污水處理設備技術領域,尤其是一種復合厭氧反應器,本發明包括:反應器罐體,用于對污水的厭氧處理,反應器罐體上分別連接有進料管和出料管;浮渣清理機構,用于對反應器罐體頂部浮渣層清理;攪拌機構,攪拌機構包括攪拌電機、連接在攪拌電機上的轉動軸,轉動軸轉動時帶動浮渣清理機構對浮渣層清理;攪拌器,用于對反應器罐體底部污泥層攪拌,固定安裝在轉動軸上,反應器罐體底部設有排污泥管;本發明通過在反應器罐體頂部設有浮渣清理機構,對反應器罐體頂部的浮渣進行清理,避免反應器罐體頂部浮渣聚集影響混合液反應。

權利要求書
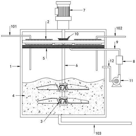
1.一種復合厭氧反應器,其特征在于,包括:反應器罐體(1),用于對污水的厭氧處理,所述反應器罐體(1)上分別連接有進料管(101)和出料管(102);浮渣清理機構(2),用于對反應器罐體(1)頂部浮渣層(5)清理;攪拌機構,所述攪拌機構包括攪拌電機(7)、連接在攪拌電機(7)上的轉動軸(6),轉動軸(6)轉動時帶動浮渣清理機構(2)對浮渣層(5)清理;攪拌器(3),用于對反應器罐體(1)底部污泥層(4)攪拌,固定安裝在所述轉動軸(6)上,所述反應器罐體(1)底部設有排污泥管(103)。
2.根據權利要求1所述的一種復合厭氧反應器,其特征在于,所述浮渣清理機構(2)包括:環形結構的收集殼體(21),設置在轉動軸(6)的外圍;若干個可以轉動的外筒(22),均勻設置在所述收集殼體(21)的周側,所述外筒(22)表面沿其徑向均勻設有若干個進料口(221);若干個內筒(24),設置在對應所述外筒(22)內部且與收集殼體(21)固定連接;所述內筒(24)表面設有進料嘴(241);外筒(22)轉動時,浮渣通過進料口(221)進入外筒(22)后,再通過進料嘴(241)進入內筒(24)內。
3.根據權利要求2所述的一種復合厭氧反應器,其特征在于,所述外筒(22)內部固定連接有轉動桿(25),轉動連接在所述收集殼體(21)上,所述轉動桿(25)一端延伸至所述收集殼體(21)內圈且固定連接有從動錐齒輪(23),所述轉動軸(6)上固定連接有與所述從動錐齒輪(23)嚙合的主動錐齒輪(10);所述轉動桿(25)表面連接有螺旋葉片(27),設置在內筒(24)內部,用于將內筒(24)內的浮渣輸送至收集殼體(21)內。
4.根據權利要求3所述的一種復合厭氧反應器,其特征在于,所述所述浮渣清理機構(2)還包括安裝環(28),與反應器罐體(1)內壁固定連接,用于將浮渣清理機構(2)固定在所述反應器罐體(1)內部,所述外筒(22)與所述安裝環(28)轉動連接。
5.根據權利要求4所述的一種復合厭氧反應器,其特征在于,所述外筒(22)表面位于所述進料口(221)一側設有導料板(26),外筒(22)轉動時,浮渣沿著導料板(26)表面通過進料口(221)進入外筒(22)內。
6.根據權利要求5所述的一種復合厭氧反應器,其特征在于,所述導料板(26)包括:直板(261),與外筒(22)外表面固定連接,所述直板(261)表面設有若干濾水孔(263);彎板(262),設置在直板(261)上;且所述導料板(26)兩端設有擋板(264)。
7.根據權利要求6所述的一種復合厭氧反應器,其特征在于,所述收集殼體(21)上連接有排渣管(9),所述排渣管(9)的一端連接有排渣泵(11);所述排渣泵(11)上連接有循環管(12),與反應器罐體(1)連接;且所述排渣管(9)上連接有濾渣裝置(8);排渣泵(11)通過排渣管(9)將收集殼體(21)內的浮渣和污水的混合物抽出,混合物通過濾渣裝置(8)過濾,浮渣停留在濾渣裝置(8)內,污水過濾后經過循環管(12)再次進入反應器罐體(1)內。
8.根據權利要求7所述的一種復合厭氧反應器,其特征在于,所述濾渣裝置(8)包括濾筒(81),所述濾筒(81)內通過支架(83)固定連接有濾板(82),所述濾筒(81)上設有用于清理濾板(82)表面浮渣的清理口(84)。
9.根據權利要求1或8所述的一種復合厭氧反應器,其特征在于,所述攪拌器(3)包括:連接座(31),呈“工”字形結構,與轉動軸(6)固定連接;若干個攪拌葉片(32),所述攪拌葉片(32)上連接有葉片轉軸(33),所述葉片轉軸(33)與所述連接座(31)轉動連接。
10.根據權利要求9所述的一種復合厭氧反應器,其特征在于,所述葉片轉軸(33)上固定連接有拉桿(34),所述拉桿(34)與連接座(31)之間連接有拉簧(35),且所述連接座(31)上設有用于對拉桿(34)限位的擋塊(36)。
發明內容
針對現有技術的不足,本發明提供了一種復合厭氧反應器,通過在反應器罐體頂部設有浮渣清理機構,對反應器罐體頂部的浮渣進行清理,旨在解決背景技術中的問題。
為達到上述技術目的,本發明的具體技術方案如下,本發明提出的一種復合厭氧反應器,包括:反應器罐體,用于對污水的厭氧處理,所述反應器罐體上分別連接有進料管和出料管;浮渣清理機構,用于對反應器罐體頂部浮渣層清理;攪拌機構,所述攪拌機構包括攪拌電機、連接在攪拌電機上的轉動軸,轉動軸轉動時帶動浮渣清理機構對浮渣層清理;攪拌器,用于對反應器罐體底部污泥層攪拌,固定安裝在所述轉動軸上,所述反應器罐體底部設有排污泥管。
作為本發明的一種優選技術方案,所述浮渣清理機構包括:環形結構的收集殼體,設置在轉動軸的外圍;若干個可以轉動的外筒,均勻設置在所述收集殼體的周側,所述外筒表面沿其徑向均勻設有若干個進料口;若干個內筒,設置在對應所述外筒內部且與收集殼體固定連接;所述內筒表面設有進料嘴;外筒轉動時,浮渣通過進料口進入外筒后,再通過進料嘴進入內筒內。
作為本發明的一種優選技術方案,所述外筒內部固定連接有轉動桿,轉動連接在所述收集殼體上,所述轉動桿一端延伸至所述收集殼體內圈且固定連接有從動錐齒輪,所述轉動軸上固定連接有與所述從動錐齒輪嚙合的主動錐齒輪;所述轉動桿表面連接有螺旋葉片,設置在內筒內部,用于將內筒內的浮渣輸送至收集殼體內。
作為本發明的一種優選技術方案,所述所述浮渣清理機構還包括安裝環,與反應器罐體內壁固定連接,用于將浮渣清理機構固定在所述反應器罐體內部,所述外筒與所述安裝環轉動連接。
作為本發明的一種優選技術方案,所述外筒表面位于所述進料口一側設有導料板,外筒轉動時,浮渣沿著導料板表面通過進料口進入外筒內。
作為本發明的一種優選技術方案,所述導料板包括:直板,與外筒外表面固定連接,所述直板表面設有若干濾水孔;彎板,設置在直板上;且所述導料板兩端設有擋板。
作為本發明的一種優選技術方案,所述收集殼體上連接有排渣管,所述排渣管的一端連接有排渣泵;所述排渣泵上連接有循環管,與反應器罐體連接;且所述排渣管上連接有濾渣裝置;排渣泵通過排渣管將收集殼體內的浮渣和污水的混合物抽出,混合物通過濾渣裝置過濾,浮渣停留在濾渣裝置內,污水過濾后經過循環管再次進入反應器罐體內。
作為本發明的一種優選技術方案,所述濾渣裝置包括濾筒,所述濾筒內通過支架固定連接有濾板,所述濾筒上設有用于清理濾板表面浮渣的清理口。
作為本發明的一種優選技術方案,所述攪拌器包括:連接座,呈“工”字形結構,與轉動軸固定連接;若干個攪拌葉片,所述攪拌葉片上連接有葉片轉軸,所述葉片轉軸與所述連接座轉動連接。
作為本發明的一種優選技術方案,所述葉片轉軸上固定連接有拉桿,所述拉桿與連接座之間連接有拉簧,且所述連接座上設有用于對拉桿限位的擋塊。
本發明中的有益效果為:
1、本發明通過在反應器罐體頂部設有浮渣清理機構,浮渣清理機構通過設有外筒、內筒和收集殼體,外筒轉動時,浮渣通過進料口和進料嘴進入內筒內,并通過螺旋葉片輸送至收集殼體,然后通過排渣泵抽出,達到對反應器罐體頂部浮渣清理的目的,避免反應器罐體頂部浮渣聚集影響混合液反應。
2、本發明攪拌器通過設有可轉動的攪拌葉片,葉片轉動軸上連接有拉桿,拉桿與連接座之間連接有拉簧,當其攪拌器啟動時,由于污泥粘性大、阻力大,攪拌葉片在受到阻力后由傾斜狀態轉動至近似水平狀態,減小了攪拌葉片與污泥之間的接觸面積,進而減小了轉動阻力,對攪拌葉片和攪拌器起到保護的作用。
(發明人:陸軍;卓順智;張維;易鑫榮;徐河民)






