公布日:2023.10.03
申請日:2023.07.28
分類號:C02F9/00(2023.01)I;C02F1/00(2023.01)N;C02F1/66(2023.01)N;C02F1/52(2023.01)N;C02F3/12(2023.01)N;C02F3/28(2023.01)N;C02F101/16(2006.01)N
摘要
本發明公開了一種低碳高效脫氮的方法,快速混合器的DO濃度值控制在0.5㎎/L~1㎎/L,反硝化反應區的DO濃度值控制在0.1㎎/L~0.2㎎/L;厭氧氨氧化反應區的DO濃度值為0㎎/L~0.05㎎/L,污泥回流比控制在30%~60%,內回流比控制在150%~200%,通過嚴格控制DO濃度值,將DO濃度值控制在最適宜的有效值內,持續穩定的創造了亞硝態氮環境,為后續厭氧氨氧化菌獲取穩定反應基質亞硝態氮提供了前提條件,設置反復多次周期性回流循環,呈多倍提升脫氮反應效率,低碳氮比條件下實現厭氧氨氧化協同脫氮,提高功能菌群的豐度,能夠節省80%有機碳源,進而降低了污泥產量和溫室氣體排放。

權利要求書
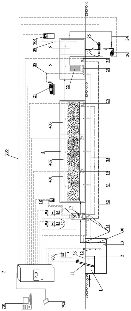
1.一種低碳高效脫氮的方法,其特征在于,包括以下步驟:S1、市政污水經過收集管導流后進入格柵井,通過格柵機去除粗大的懸浮物;S2、調節池對市政污水進行水量調節、水質均化,得到中和污水;S3、將中和污水經過潛水提升泵輸送至快速混合器,隨之中和污水依次進入循環式厭氧氨氧化生物反應器的亞硝態氮穩定獲取區、反硝化反應區和厭氧氨氧化反應區,經過循環式厭氧氨氧化生物反應器處理的少量剩余污泥通過內回流管線回流至快速混合器,同時投加PAC藥劑,經快速混合器混合后進入循環式厭氧氨氧化生物反應器,反復循環,將NH4氧化為N2,直至氨氮質量濃度小于1.3㎎/L,其中,快速混合器的DO濃度值控制在0.5㎎/L~1㎎/L,反硝化反應區的DO濃度值控制在0.1㎎/L~0.2㎎/L,厭氧氨氧化反應區的DO濃度值控制在0㎎/L~0.05㎎/L,污泥回流比控制在30%~60%,內回流比控制在150%~200%;S4、將步驟S3中的污水通入MBR膜池,MBR膜池用于實現泥水固液分離,污泥混合液通過污泥回流管線回流至快速混合器,再生水進入回用水池。
2.如權利要求1所述的一種低碳高效脫氮的方法,其特征在于:在步驟S3中,包括如下步驟:S31、少量剩余污泥經過快速混合器快速混合后進入亞硝態氮穩定獲取區,高濃度的NO3-抑制的正向反應,亞硝態氮穩定獲取區化學反應式為:NH4++2O2→NO2-+2H2ONH3+1.5O2→NO2-+2H++H2O經過亞硝態氮穩定獲取區提高亞硝態氮NO2-的濃度;S32、步驟S31出水進入反硝化反應區中,通過反硝化作用將NO3-還原為NO2-,在通過反硝化作用將NO2-還原為氮氣;之后,進入厭氧氨氧化反應區,厭氧氨氧化反應區利用厭氧氨氧化菌,以NO2-作為電子受體,將NH4氧化為N2,反硝化反應區、厭氧氨氧化反應區化學反應式為:NH4++1.5NO3-→0.5N2+2H2ONH4++1.5NO2-+0.5H2O→0.5N2+2H++2H2O。
3.如權利要求1所述的一種低碳高效脫氮的方法,其特征在于:格柵機后端設有進水水質檢測管線,進水水質檢測管線連接進水水質檢測系統,進水水質檢測系統將采集的COD、BOD、氨氮、總磷和總氮數據通過網線傳送至PLC智能控制系統,通過AI程序實時監測進水碳氮比值。
4.如權利要求3所述的一種低碳高效脫氮的方法,其特征在于:調節池內部設有浮球液位計,調節池末端設有潛水提升泵連接提升管線,提升管線上設有電磁流量計,浮球液位計通過信號線將液位信號傳輸至PLC智能控制系統。
5.如權利要求1~4任意一項所述的一種低碳高效脫氮的方法,其特征在于:快速混合器內設有DO傳感器和PH傳感器,DO傳感器和PH傳感器經多參數在線檢測儀將采集到的DO和PH數據通過數據傳輸線傳送至PLC智能控制系統;快速混合器通過加藥管線分別與碳源加藥裝置、PAC加藥裝置連接。
6.如權利要求5所述的一種低碳高效脫氮的方法,其特征在于:MBR膜池內部設有膜組件,膜組件下端設有曝氣裝置,曝氣裝置通過曝氣管線與風機連接,膜組件上端通過產水管線與產水泵進水端、反洗泵出水端連接,其中,產水泵出水連接回用水池,反洗泵進水端通過反洗管線連接回用水池;MBR膜池末端底部設有污泥回流泵,污泥回流泵通過污泥回流管線連接快速混合器,污泥回流管線上設有電磁流量計;MBR膜池底部設有放空排泥管線以連通調節池。
7.如權利要求5所述的一種低碳高效脫氮的方法,其特征在于:回用水池末端設有出水水質檢測管線;出水水質檢測管線連接出水水質檢測系統,出水水質檢測系統將采集的COD、BOD、氨氮、總磷和總氮數據通過數據傳輸線傳送至PLC智能控制系統,通過程序實時監測出水水質。
8.如權利要求7所述的一種低碳高效脫氮的方法,其特征在于:PLC智能控制系統包括AI算力模塊,AI算力模塊讀取DO濃度和PH濃度實時數據,根據實時采集DO濃度值大小與設定限值進行對比計算,控制增強或減弱污泥回流泵運行頻率,調節回流比數值大小,控制快速混合器的DO濃度保持在1mg/L。
9.如權利要求8所述的一種低碳高效脫氮的方法,其特征在于:亞硝態氮穩定獲取區和反硝化反應區內部均設有循環推流器,厭氧氨氧化反應區內末端設有內回流泵,內回流泵通過內回流管線連接快速混合器,內回流管線上設有電磁流量計。
10.如權利要求9所述的一種低碳高效脫氮的方法,其特征在于:亞硝態氮穩定獲取區、反硝化反應區和厭氧氨氧化反應區底部均設有放空排泥管線連通調節池。
發明內容
為了克服現有技術的不足,本發明提供一種低碳高效脫氮的方法,以解決污水出水總氮過高的問題,從而實現市政污水高效處理的同時,提高再生水品質。
本發明技術方案如下:一種低碳高效脫氮的方法,包括以下步驟:
S1、市政污水經過收集管導流后進入格柵井,通過格柵機去除粗大的懸浮物;
S2、調節池對市政污水進行水量調節、水質均化,得到中和污水;
S3、將中和污水經過潛水提升泵輸送至快速混合器,隨之中和污水依次進入循環式厭氧氨氧化生物反應器的亞硝態氮穩定獲取區、反硝化反應區和厭氧氨氧化反應區,經過循環式厭氧氨氧化生物反應器處理的少量剩余污泥通過內回流管線回流至快速混合器,同時投加PAC藥劑,經快速混合器混合后進入循環式厭氧氨氧化生物反應器,反復循環,將NH4氧化為N2,直至氨氮質量濃度小于1.3㎎/L,其中,快速混合器的DO濃度值控制在0.5㎎/L~1㎎/L,反硝化反應區的DO濃度值控制在0.1㎎/L~0.2㎎/L,厭氧氨氧化反應區的DO濃度值控制在0㎎/L~0.05㎎/L,污泥回流比控制在30%~60%,內回流比控制在150%~200%;
S4、將步驟S3中的污水通入MBR膜池,MBR膜池用于實現泥水固液分離,污泥混合液通過污泥回流管線回流至快速混合器,再生水進入回用水池。
值得一體的是,外回流比也叫污泥回流比,與之相對的內回流比是硝化液回流比,污泥回流比的定義是污泥回流量與曝氣池進水量的比值。
進一步地,在步驟S3中,包括如下步驟:
S31、少量剩余污泥經過快速混合器快速混合后進入亞硝態氮穩定獲取區,高濃度的NO3-抑制的正向反應,亞硝態氮穩定獲取區化學反應式為:
NH4++2O2→NO2-+2H2O
NH3+1.5O2→NO2-+2H++H2O
經過亞硝態氮穩定獲取區提高亞硝態氮NO2-的濃度,然后進入下一個除氮處理周期;
S32、步驟S31出水進入反硝化反應區中,通過反硝化作用將NO3-還原為NO2-,在通過反硝化作用將NO2-還原為氮氣;之后,進入厭氧氨氧化反應區,厭氧氨氧化反應區利用厭氧氨氧化菌,以NO2-作為電子受體,將NH4氧化為N2,反硝化反應區、厭氧氨氧化反應區化學反應式為:
NH4++1.5NO3-→0.5N2+2H2O
NH4++1.5NO2-+0.5H2O→0.5N2+2H++2H2O。
進一步地,格柵機后端設有進水水質檢測管線;進水水質檢測管線連接進水水質檢測系統,進水水質檢測系統將采集的COD、BOD、氨氮、總磷和總氮數據通過網線傳送至PLC智能控制系統,通過AI程序實時監測進水碳氮比值。
進一步地,調節池內部設有浮球液位計,調節池末端設有潛水提升泵連接提升管線,提升管線上設有電磁流量計,浮球液位計通過信號線將液位信號傳輸至PLC智能控制系統。
進一步地,快速混合器內設有DO傳感器和PH傳感器,DO傳感器和PH傳感器經多參數在線檢測儀將采集到的DO和PH數據通過數據傳輸線傳送至PLC智能控制系統;快速混合器通過加藥管線分別與碳源加藥裝置、PAC加藥裝置連接。
進一步地,MBR膜池內部設有膜組件,膜組件下端設有曝氣裝置,曝氣裝置通過曝氣管線與風機連接,膜組件上端通過產水管線與產水泵進水端、反洗泵出水端連接,其中,產水泵出水連接回用水池,反洗泵進水端通過反洗管線連接回用水池;MBR膜池末端底部設有污泥回流泵,污泥回流泵通過污泥回流管線連接快速混合器,污泥回流管線上設有電磁流量計;MBR膜池底部設有放空排泥管線以連通調節池。
進一步地,回用水池末端設有出水水質檢測管線;出水水質檢測管線連接出水水質檢測系統,出水水質檢測系統將采集的COD、BOD、氨氮、總磷和總氮數據通過數據傳輸線傳送至PLC智能控制系統,通過程序實時監測出水水質。
進一步地,PLC智能控制系統包括AI算力模塊,AI算力模塊讀取DO濃度和PH濃度實時數據,根據實時采集DO濃度值大小與設定限值進行對比計算,控制增/減污泥回流泵運行頻率,調節回流比數值大小,控制快速混合器的DO濃度保持在1mg/L。
進一步地,亞硝態氮穩定獲取區和反硝化反應區內部均設有循環推流器,厭氧氨氧化反應區內末端設有內回流泵,內回流泵通過內回流管線連接快速混合器,內回流管線上設有電磁流量計。
進一步地,亞硝態氮穩定獲取區、反硝化反應區和厭氧氨氧化反應區底部均設有放空排泥管線連通調節池。
根據上述方案的本發明,其有益效果在于:
(1)本發明提供了一種低碳高效脫氮的方法,快速混合器的DO濃度值控制在0.5㎎/L~1㎎/L,反硝化反應區的DO濃度值控制在0.1㎎/L~0.2㎎/L;厭氧氨氧化反應區的DO濃度值為0㎎/L~0.05㎎/L,污泥回流比控制在30%~60%,內回流比控制在150%~200%,通過嚴格控制DO濃度值,將DO濃度值控制在最適宜的有效值內,持續穩定的創造了亞硝態氮環境,為后續厭氧氨氧化菌獲取穩定反應基質亞硝態氮提供了前提條件,設置反復多次周期性回流循環,呈多倍提升脫氮反應效率,低碳氮比條件下實現厭氧氨氧化協同脫氮,提高功能菌群的豐度,能夠節省80%有機碳源,進而降低了污泥產量和溫室氣體排放,而且,能夠使得出水水質穩定達標且優于國家一級A標準和《城市污水再生利用城市雜用水水質》標準。
(2)本發明提供了一種低碳高效脫氮的方法,應用搭載AI算力模塊的PLC智能控制技術,高效、科學、實時計算循環式厭氧氨氧化生物反應器前端亞硝態氮穩定獲取區的需氧量、內外回流比,使生物系統運行和出水水質更加穩定,同時應用搭載AI算力模塊的PLC智能控制技術更符合生化系統運行,降低人工操作強度,提高了污水處理的效率和效果,從而實現節能降耗目標,實現智能與水資源循環利用的高度吻合。
(發明人:彭加順;吳利肖;朱樂樂;劉高軍)






