公布日:2024.04.16
申請日:2023.12.11
分類號:B01D33/01(2006.01)I;B01D33/44(2006.01)I;B01D33/80(2006.01)I;B01D36/00(2006.01)I
摘要
本發明涉及污水除渣技術領域,提出了一種餐廚垃圾污水除渣裝置,包括箱體、過濾板、彈性件和轉輥,其中,所述箱體的底側開設有開口;所述過濾板滑動設置在所述箱體上,所述過濾板上開設有通水孔,所述過濾板上固定設置有限位凸起;所述彈性件設置在所述箱體和所述過濾板之間;所述轉輥的周側上固定設置有螺旋葉片,所述螺旋葉片選擇性地與所述過濾板滑動連接,并選擇性地抵持所述限位凸起。本發明通過在箱體上設置滑動的過濾板,利用彈性件與螺旋葉片和限位凸起的配合,可以讓過濾板沿轉輥的軸向往復移動,不僅可以加快本除渣裝置的除渣效率,還不會對整個裝置以及裝置內的污水造成較大幅度的振動,起到了良好的防護效果。

權利要求書
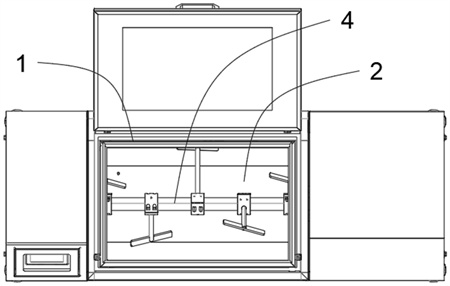
1.餐廚垃圾污水除渣裝置,其特征在于:包括箱體(1)、過濾板(2)、彈性件(3)和轉輥(4),其中,所述箱體(1)側視呈U形,所述箱體(1)的底側開設有開口(101);所述過濾板(2)滑動設置在所述箱體(1)上,并封堵所述開口(101),所述過濾板(2)上開設有通水孔(201),所述過濾板(2)上固定設置有限位凸起(21);所述彈性件(3)設置在所述箱體(1)和所述過濾板(2)之間,用于使所述過濾板(2)的一端與所述箱體(1)相抵持;所述轉輥(4)轉動設置在所述箱體(1)上,所述轉輥(4)的周側上固定設置有螺旋葉片(41),所述螺旋葉片(41)選擇性地與所述過濾板(2)滑動連接,并選擇性地抵持所述限位凸起(21),所述螺旋葉片(41)抵持所述限位凸起(21)時,先帶動所述限位凸起(21)與所述螺旋葉片(41)進行滑動,再與所述限位凸起(21)相分離。
2.如權利要求1所述的餐廚垃圾污水除渣裝置,其特征在于:所述箱體(1)上固定設置有接水盒(11),所述接水盒(11)位于所述通水孔(201)的底部。
3.如權利要求2所述的餐廚垃圾污水除渣裝置,其特征在于:所述接水盒(11)內固定設置有滑桿(111);所述過濾板(2)上固定設置有多個加強板(22),且所述滑桿(111)與所述加強板(22)滑動連接。
4.如權利要求3所述的餐廚垃圾污水除渣裝置,其特征在于:所述彈性件(3)為拉簧,所述彈性件(3)的兩端分別固定設置在所述箱體(1)和所述加強板(22)上。
5.如權利要求4所述的餐廚垃圾污水除渣裝置,其特征在于:所述通水孔(201)為長條孔;所述接水盒(11)內固定設置有清潔桿(112),所述清潔桿(112)遠離所述接水盒(11)的一端位于所述通水孔(201)內,并與之滑動連接。
6.如權利要求5所述的餐廚垃圾污水除渣裝置,其特征在于:所述清潔桿(112)遠離所述接水盒(11)的一端與所述過濾板(2)遠離所述接水盒(11)的一側相平齊。
7.如權利要求6所述的餐廚垃圾污水除渣裝置,其特征在于:所述過濾板(2)傾斜設置,且所述過濾板(2)與地面的間距沿由所述過濾板(2)靠近所述彈性件(3)的一端至所述過濾板(2)遠離所述彈性件(3)的一端逐漸增大。
8.如權利要求1所述的餐廚垃圾污水除渣裝置,其特征在于:所述螺旋葉片(41)設置有多個,多個所述螺旋葉片(41)沿所述轉輥(4)的中心線螺旋分布。
9.如權利要求8所述的餐廚垃圾污水除渣裝置,其特征在于:其中一個所述螺旋葉片(41)與所述限位凸起(21)選擇性抵持。
10.如權利要求1所述的餐廚垃圾污水除渣裝置,其特征在于:還包括加熱管(5),所述加熱管(5)固定設置在所述箱體(1)的底部。
發明內容
有鑒于此,本發明提出了餐廚垃圾污水除渣裝置,利用讓過濾板進行往復滑動,在保證污水除渣效率得到提升的前提下,可以減小對裝置使用壽命和污水除渣質量所造成的影響。
本發明的技術方案是這樣實現的:本發明提供了餐廚垃圾污水除渣裝置,包括箱體、過濾板、彈性件和轉輥,其中,
所述箱體側視呈U形,所述箱體的底側開設有開口;
所述過濾板滑動設置在所述箱體上,并封堵所述開口,所述過濾板上開設有通水孔,所述過濾板上固定設置有限位凸起;
所述彈性件設置在所述箱體和所述過濾板之間,用于使所述過濾板的一端與所述箱體相抵持;
所述轉輥轉動設置在所述箱體上,所述轉輥的周側上固定設置有螺旋葉片,所述螺旋葉片選擇性地與所述過濾板滑動連接,并選擇性地抵持所述限位凸起,所述螺旋葉片抵持所述限位凸起時,先帶動所述限位凸起與所述螺旋葉片進行滑動,再與所述限位凸起相分離。
在以上技術方案的基礎上,優選的,所述箱體上固定設置有接水盒,所述接水盒位于所述通水孔的底部。
更進一步優選的,所述接水盒內固定設置有滑桿;
所述過濾板上固定設置有多個加強板,且所述滑桿與所述加強板滑動連接。
更進一步優選的,所述彈性件為拉簧,所述彈性件的兩端分別固定設置在所述箱體和所述加強板上。
更進一步優選的,所述通水孔為長條孔;
所述接水盒內固定設置有清潔桿,所述清潔桿遠離所述接水盒的一端位于所述通水孔內,并與之滑動連接。
更進一步優選的,所述清潔桿遠離所述接水盒的一端與所述過濾板遠離所述接水盒的一側相平齊。
更進一步優選的,所述過濾板傾斜設置,且所述過濾板與地面的間距沿由所述過濾板靠近所述彈性件的一端至所述過濾板遠離所述彈性件的一端逐漸增大。
在以上技術方案的基礎上,優選的,所述螺旋葉片設置有多個,多個所述螺旋葉片沿所述轉輥的中心線螺旋分布。
更進一步優選的,其中一個所述螺旋葉片與所述限位凸起選擇性抵持。
在以上技術方案的基礎上,優選的,還包括加熱管,所述加熱管固定設置在所述箱體的底部。
本發明的餐廚垃圾污水除渣裝置相對于現有技術具有以下有益效果:
(1)通過在箱體上設置滑動的過濾板,利用彈性件與螺旋葉片和限位凸起的配合,可以讓過濾板沿轉輥的軸向往復移動,不僅可以加快本除渣裝置的除渣效率,還不會對整個裝置以及裝置內的污水造成較大幅度的振動,起到了良好的防護效果;
(2)通過設置接水盒,并在接水盒中設置與通水孔滑動連接的清潔桿,可以在過濾板滑動的過程中對通水孔進行清潔,從而避免了通水孔發生堵塞;
(3)通過設置加熱管,可以對污水進行加熱,避免污水中的油污凝固后阻礙污水除渣操作的快速進行。
(發明人:王德奎;王德坤;周宇霖)






