公布日:2024.04.19
申請日:2024.03.01
分類號:C02F1/00(2023.01)I;C02F1/50(2023.01)I;B01F27/95(2022.01)I;B01F35/12(2022.01)I
摘要
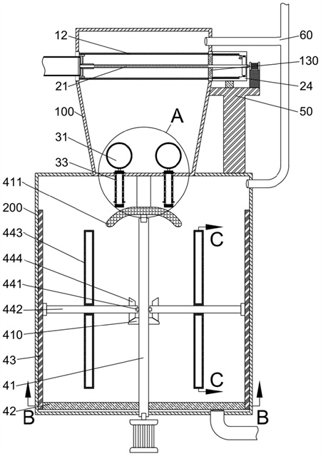
本發明提供一種工業污水的除臭裝置,污水處理領域,包括分離箱(100)與除臭箱(200),分離箱(100)設置在除臭箱(200)頂面且分離箱(100)上側設置離心轉筒組件,離心轉筒組件通過螺桿驅動組件控制其轉動,分離箱(100)底面且繞其中軸線均勻設置多個浮力連通組件;除臭箱(200)底面設置旋轉桿(41),旋轉桿(41)外壁對稱設置兩根連接桿(42),連接桿(42)遠離旋轉桿的一端分別設置弧形刮板(43),旋轉桿(41)中部設置攪拌進料組件,且攪拌進料組件與弧形刮板(43)內壁中部連接。該裝置能夠對污水進行有效的固液分離、同時實現除臭劑與污水的均勻混合,確保快速、全面、高效的污水除臭。

權利要求書
1.一種工業污水的除臭裝置,其特征在于:包括分離箱與除臭箱,分離箱固定設置在除臭箱頂面且分離箱上側設置離心轉筒組件,離心轉筒組件包括第一轉盤、過濾筒與第二轉盤,第一轉盤與第二轉盤同軸設置且分別與分離箱兩側側壁轉動連接,過濾筒設置在分離箱內腔,其兩端分別與第一轉盤、第二轉盤相互靠近的一側側面固定連接,離心轉筒組件通過螺桿驅動組件控制其轉動;分離箱底面且繞其中軸線均勻設置多個浮力連通組件;除臭箱底面中部同軸設置旋轉桿,旋轉桿位于除臭箱底面上側的外壁對稱設置兩根連接桿,連接桿遠離旋轉桿的一端分別設置弧形刮板,弧形刮板外壁與除臭箱內壁相抵,旋轉桿中部設置攪拌進料組件,且攪拌進料組件與弧形刮板內壁中部連接。
2.根據權利要求1所述的一種工業污水的除臭裝置,其特征在于:所述第一轉盤中部同軸設置進水管,進水管貫穿第一轉盤且與其轉動連接,進水管遠離第一轉盤的一端與污水排放端連通。
3.根據權利要求1或2所述的一種工業污水的除臭裝置,其特征在于:所述螺桿驅動組件包括螺桿、螺紋套、環形刮板、驅動套與棘輪機構,進水管內壁設置支撐架,第二轉盤中部開設錐孔且錐孔內設置封閉板;螺桿一端與支撐架中部轉動連接、另一端貫穿封閉板中部,螺桿位于封閉板左側的外壁由右向左依次設置螺紋段、第一光滑段且螺桿位于封閉板右側的外壁設置第二光滑段,支撐架靠近第二轉盤的一側側面且位于螺桿外壁固定設置第一彈簧;螺紋套同軸設置在螺桿外壁且螺紋套內壁能與螺桿的螺紋段螺紋連接,環形刮板同軸設置在螺紋套靠近第一轉盤的一側且環形刮板內壁通過多根支撐桿與螺紋套外壁連接,環形刮板外壁與過濾筒內壁接觸;驅動套固定設置在第二轉盤遠離第一轉盤的一側側面且驅動套與第二轉盤同軸設置,驅動套為環形結構且驅動套遠離第二轉盤的一端內壁設置環形凸臺,環形凸臺與封閉板之間通過多根第二彈簧連接;螺桿對應環形凸臺的外壁設置棘輪機構。
4.根據權利要求3所述的一種工業污水的除臭裝置,其特征在于:所述棘輪機構包括定位盤、轉軸、棘爪與彈片,定位盤固定套接在螺桿位于環形凸臺的外壁且定位盤外壁通過密封滾珠軸承與環形凸臺內壁轉動連接,定位盤靠近第二轉盤的一側側面設置轉軸且轉軸外壁設置棘爪,環形凸臺內壁對應棘爪開設棘輪孔,棘爪遠離轉軸的一端通過彈片與定位盤對應端面連接。
5.根據權利要求1~4任一項所述的一種工業污水的除臭裝置,其特征在于:所述除臭箱頂面且對應驅動套設置支撐座,支撐座對應驅動套設置轉動座、驅動套轉動卡接在轉動座內;螺桿遠離第一轉盤的端部與第一電機輸出軸固定連接,支撐座對應第一電機設置電機座,第一電機固定設置在電機座上。
6.根據權利要求3所述的一種工業污水的除臭裝置,其特征在于:所述浮力連通組件包括浮球、連接繩與連通管,連通管貫穿分離箱底面且與其滑動連接,連通管內部設置空腔,連通管外壁由上至下依次設置多列與空腔連通的通孔且每列通孔繞連通管的中軸線均勻分布;浮球設置在分離箱內且浮球底部通過連接繩與對應的連通管頂部連接。
7.根據權利要求1所述的一種工業污水的除臭裝置,其特征在于:所述除臭箱下側設置第二電機,旋轉桿底端貫穿除臭箱底面后、與第二電機輸出軸固定連接;除臭箱底面一側設置出水管。
8.根據權利要求1所述的一種工業污水的除臭裝置,其特征在于:所述攪拌進料組件包括出液咀、攪拌桿、分散盤與第一錐齒輪,出液咀分別設置在旋轉桿兩側,攪拌桿對應出液咀設置且攪拌桿一端與出液咀轉動連接、另一端與對應的弧形刮板轉動連接;分散盤為圓盤結構,分散盤固定套接在攪拌桿中部外壁且與攪拌桿同軸設置,分散盤中部設置分散空腔且分散空腔側壁均勻設置分散微孔,出液咀通過設置在攪拌桿內部的導管與分散空腔連通且出液咀與導管轉動連接;攪拌桿靠近旋轉桿的一端外壁固定套接第一錐齒輪,旋轉桿外壁固定套接第二錐齒輪且第二錐齒輪分別與兩個第一錐齒輪嚙合,出液咀與設置在旋轉桿內部的導管連通。
發明內容
針對以上現有技術存在的問題,本發明的目的在于提供一種工業污水的除臭裝置,該除臭裝置一是有效解決污水中含有的固體雜質易反復產生臭味的問題,二是解決除臭劑擴散速率慢、除臭劑與污水混合均勻性差的問題,從而實現及時、全面、高效的污水除臭。
本發明的目的通過以下技術方案實現:
一種工業污水的除臭裝置,包括分離箱與除臭箱,分離箱固定設置在除臭箱頂面且分離箱上側設置離心轉筒組件,離心轉筒組件包括第一轉盤、過濾筒與第二轉盤,第一轉盤與第二轉盤同軸設置且分別與分離箱兩側側壁轉動連接,過濾筒設置在分離箱內腔,其兩端分別與第一轉盤、第二轉盤相互靠近的一側側面固定連接,離心轉筒組件通過螺桿驅動組件控制其轉動;分離箱底面且繞其中軸線均勻設置多個浮力連通組件,浮力連通組件用于連通分離箱與除臭箱內腔;除臭箱底面中部同軸設置旋轉桿,旋轉桿位于除臭箱底面上側的外壁對稱設置兩根連接桿,連接桿遠離旋轉桿的一端分別設置弧形刮板,弧形刮板外壁與除臭箱內壁相抵,旋轉桿中部設置攪拌進料組件,且攪拌進料組件與弧形刮板內壁中部連接,用于除臭劑的導入與混合。
基于上述方案的進一步優化,所述第一轉盤中部同軸設置進水管,進水管貫穿第一轉盤且與其轉動連接,進水管遠離第一轉盤的一端與污水排放端連通。
基于上述方案的進一步優化,所述螺桿驅動組件包括螺桿、螺紋套、環形刮板、驅動套與棘輪機構,進水管內壁設置支撐架,第二轉盤中部開設錐孔且錐孔內設置封閉板;螺桿一端與支撐架中部轉動連接、另一端貫穿封閉板中部,螺桿位于封閉板左側的外壁由右向左依次設置螺紋段、第一光滑段且螺桿位于封閉板右側的外壁設置第二光滑段,支撐架靠近第二轉盤的一側側面且位于螺桿外壁固定設置第一彈簧;螺紋套同軸設置在螺桿外壁且螺紋套內壁能與螺桿的螺紋段螺紋連接,環形刮板同軸設置在螺紋套靠近第一轉盤的一側且環形刮板內壁通過多根支撐桿與螺紋套外壁連接,環形刮板外壁與過濾筒內壁接觸;驅動套固定設置在第二轉盤遠離第一轉盤的一側側面且驅動套與第二轉盤同軸設置,驅動套為環形結構且驅動套遠離第二轉盤的一端內壁設置環形凸臺,環形凸臺與封閉板之間通過多根第二彈簧連接;螺桿對應環形凸臺的外壁設置棘輪機構。
基于上述方案的進一步優化,所述棘輪機構包括定位盤、轉軸、棘爪與彈片,定位盤固定套接在螺桿位于環形凸臺的外壁且定位盤外壁通過密封滾珠軸承與環形凸臺內壁轉動連接,定位盤靠近第二轉盤的一側側面設置轉軸且轉軸外壁設置棘爪,環形凸臺內壁對應棘爪開設棘輪孔,棘爪遠離轉軸的一端通過彈片與定位盤對應端面連接。
基于上述方案的進一步優化,所述除臭箱頂面且對應驅動套設置支撐座,支撐座對應驅動套設置轉動座、驅動套轉動卡接在轉動座內;螺桿遠離第一轉盤的端部與第一電機輸出軸固定連接,支撐座對應第一電機設置電機座,第一電機固定設置在電機座上。
基于上述方案的進一步優化,所述浮力連通組件包括浮球、連接繩與連通管,連通管貫穿分離箱底面且與其(即分離箱底面)滑動連接,連通管內部設置空腔,連通管外壁由上至下依次設置多列與空腔連通的通孔且每列通孔繞連通管的中軸線均勻分布;浮球設置在分離箱內且浮球底部通過連接繩與對應的連通管頂部連接。
基于上述方案的進一步優化,相鄰兩列所述通孔之間的距離大于分離箱底面的厚度。
基于上述方案的進一步優化,所述連通管外壁且位于最上端的一列通孔上側與最下端的一列通孔上側分別固定設置環形限位圈,用于對連通管上移或下移的位置進行硬限位。
基于上述方案的進一步優化,所述除臭箱下側設置第二電機,旋轉桿底端貫穿除臭箱底面后、與第二電機輸出軸固定連接;除臭箱底面一側設置出水管。
基于上述方案的進一步優化,所述攪拌進料組件包括出液咀、攪拌桿、分散盤與第一錐齒輪,出液咀分別設置在旋轉桿兩側,攪拌桿對應出液咀設置且攪拌桿一端與出液咀轉動連接、另一端與對應的弧形刮板轉動連接;分散盤為圓盤結構,分散盤固定套接在攪拌桿中部外壁且與攪拌桿同軸設置,分散盤中部設置分散空腔且分散空腔側壁均勻設置分散微孔,出液咀通過設置在攪拌桿內部的導管與分散空腔連通且出液咀與導管轉動連接;攪拌桿靠近旋轉桿的一端外壁固定套接第一錐齒輪,旋轉桿外壁固定套接第二錐齒輪且第二錐齒輪分別與兩個第一錐齒輪嚙合,出液咀與設置在旋轉桿內部的導管連通。
基于上述方案的進一步優化,所述旋轉桿頂端設置弧形導板且旋轉桿頂端與弧形導板底面設置的連接咀轉動連接,弧形導板頂面通過定位桿與分離箱底面固定連接;位于旋轉桿內部的導管遠離出液咀的一端與連接咀連通且連接咀通過導管與外部除臭劑進液端連通。
基于上述方案的進一步優化,所述分離箱與除臭箱的頂端分別設置導氣管,導氣管一端分別與分離箱或除臭箱內腔連通、另一端與外部氣體收集裝置連通,用于收集、處理潛在溢出的臭氣。
以下是本發明具有的技術效果:
本申請通過第一轉盤、過濾筒與第二轉盤組成的離心轉筒組件,一是對進入的污水進行固液分離、避免污水中含有的固體顆粒雜質堵塞浮力連通組件的通孔,造成水流不暢、影響污水的除臭處理效率;二是對污水中難處理的具有臭味的固體顆粒雜質進行過濾,達到對污水初步除味的效果。通過螺桿驅動組件的設置,即由螺桿、螺紋套、環形刮板、驅動套與棘輪機構進行配合,實現螺桿正、反轉向的不同功能,正轉時帶動離心轉筒組件轉動、實現污水的固液分離,反轉時帶動螺紋套滑動、實現對過濾筒,進而避免固體顆粒雜質影響過濾效率、同時無需頻繁啟停裝置實現對固體顆粒雜質的處理,保證裝置的運行平穩與連續性。通過浮力連通組件的設置,通過浮力實現分離箱與除臭箱之間污水流量的控制,一是確保分離箱具備一定的蓄水能力、避免除臭箱內待處理的水量過大而溢出、造成污水外溢,二是自動完成間斷式污水除臭、提高污水的除臭效率。通過旋轉桿、連接桿與攪拌進料組件的配合,通過繞旋轉桿公轉的分散盤以及繞攪拌桿自轉的分散盤的反復轉動,實現除臭劑在除臭箱內的均勻、快速擴散,進而保證除臭劑與污水中的化合物、細菌等充分接觸,提高除臭劑與污水的混合均勻性,從而提高除臭劑對于化合物的分解效率以及對細菌等的殺滅程度,提高除臭效果;此外,通過弧形刮板的設置,一是對攪拌進料組件進行有效定位,避免其旋轉過程中出現晃動或徑向跳動、進而造成錐齒輪卡齒,二是對除臭箱內壁進行清潔、刮除,進一步提高污水與除臭劑混合的均勻性、提高除臭效果。
本申請通過先固液分離、再除臭的方式,從而有效去除污水中易分解、反應發臭的化合物、細菌、固體顆粒雜質等,確保對于污水臭味的去處效果;本申請除臭裝置結構簡單、操作便捷,能夠有效用于各種工業污水的臭味去除,實用性強。
(發明人:談濤;何莉;黃禮昕;齊龍;冉瑞龍)






