丙烯腈生產中排出的廢水含有劇毒物質丙烯腈、乙腈、氫氰酸、聚合物、硫銨等,這些廢液必須經過處理才能排放,不然會對環境造成極大的污染,同時危害人類健康,且有機腈經生化反應后水中氨氮增加,加大水體富營養化危害。齊魯分公司丙烯腈裝置的污水處理采用A/O 工藝,要求裝置來水CODCr含量應小于1000mg·L-1,但實際生產中來水的CODCr累計平均值高達1760mg·L-1,遠遠超過了生化處理的要求,因此必須對廢水進行適當的預處理。
本實驗擬采用混凝法預處理技術,對齊魯石化丙烯腈生產污水進行預處理實驗研究,以降低廢水的COD值,提高廢水的可生化性,從而保證后續生化單元正常運行。
1 混凝法簡介
混凝法是采用混凝劑使廢水的膠體破壞,通過物理或化學的作用,使原溶于水的或呈細微狀態而不易沉降、過濾的有機物脫穩、凝聚,形成聚集狀態的粗顆粒從水中分離出來,達到降低廢水中COD含量的目的。其機理是:
1) 壓縮雙電層。在廢水中加入電解質作為混凝劑,可改變膠體離子的表面電勢,或改變分解介質中電解質的濃度與價態,以影響膠體間的排斥位能、壓縮雙電層,能增加顆粒間的吸引力,使顆粒聚集而沉降。
2) 吸附電中和。膠體表面對異性離子、異性膠粒或鏈狀離子帶異性電荷的部位有強烈的吸附作用,這種吸附作用中和了部分電荷,減少了靜電斥力,使顆粒聚集而沉降。
3) 吸附架橋。膠體溶劑對高分子物質具有強烈的吸附作用,高分子兩端通過靜電引力、范德華力、氫鍵、配位鍵等,共同吸附膠體粒子,結合成絮狀體,使顆粒聚集而沉降。
4) 沉淀物網捕。體系中存在金屬氫氧化物沉淀或金屬碳酸鹽沉淀時,水中膠體會被沉淀物網捕而沉淀。
2 實驗部分
2.1 實驗水質
實驗用水為齊魯石化丙烯腈生產廢水,水質指標: COD: 1760 mg·L-1,pH值: 8~9,濁度: 57.5NTU。
2.2 實驗步驟
混凝實驗分為最佳投藥量、最佳pH值兩部分。在進行最佳投藥量實驗時,先選定一種攪拌速度變化方式和pH值; 在進行最佳pH值實驗時,按照最佳投藥量測定不同pH值下濁度變化,求出混凝最佳pH值。
2.2.1 最佳投藥量實驗步驟
1) 取6 個1000 mL 的燒杯,分別放入500 mL 原水,置于六聯攪拌機平臺上。
2) 確定實驗時的混凝劑投加量。根據最小混凝劑投加量,取其1 /4 作為1 號燒杯的混凝劑投加量,取其2 倍作為6 號燒杯的混凝劑投加量,用依次增加混凝劑投加量相等的方法求出2~5 號燒杯混凝劑投加量,把混凝劑分別加入2~5 號燒杯中。啟動攪拌機,快速攪拌半分鐘,轉速約500 r /min,然后慢速攪拌20 min,轉速約100 r /min。
3) 關閉攪拌機,靜止沉淀10 min,用50 mL 移液管吸出燒杯中的上清液約100 mL 放入燒杯內,立即用濁度儀測定濁度。
2.2.2 最佳pH值實驗步驟
1) 取6 個1000 mL 燒杯分別加入500 mL 原水,置于實驗攪拌機平臺上。
2) 調整原水pH值,調整1 號燒杯水樣使pH值等于3,其他水樣的pH值依次增加一個pH 單位。
3) 向各燒杯中加入相同劑量的混凝劑。啟動攪拌機,快速攪拌半分鐘,轉速約500 r /min,然后慢速攪拌20 min,轉速約100 r /min。
4) 關閉攪拌機,靜止沉淀10 min,用50 mL 移液管吸出燒杯中的上清液約100 mL 放入燒杯內,立即用濁度儀測定濁度。
3 實驗結果與討論
3.1 混凝劑的篩選
3.1.1 單一混凝劑濃度對濁度去除率的影響
混凝劑的投藥量是影響混凝效果的重要因素,對混凝劑的用量選擇還應綜合考慮混凝效果與藥劑成本之間的關系。藥劑投加量與濁度關系曲線見圖1~3。
圖1 硫酸亞鐵投加量對混凝效果的影響
Fig.1 Influence of the dosage of ferrous sulfate to coagulation effect
由圖1 知,硫酸亞鐵最佳投加量為20 mg·L-1,此時濁度去除率為57.76%。
圖2 硫酸鋁投加量對混凝效果的影響
Fig.2 Influence of the dosage of aluminum sulfate to coagulation effect
由圖2 知,硫酸鋁最佳投加量為110 mg·L-1,此時濁度去除率為56.50%。
圖3 PAC 投加量對混凝效果的影響
Fig.3 Influence of the dosage of PAC to coagulation effect
由圖3 知,PAC 最佳投加量為25 mg·L-1,此時濁度去除率為78.27%。
而PAM 在確定形成礬花所用的最小混凝劑量實驗中,效果不明顯,可能是由于丙烯腈廢水中的懸浮物主要是丙烯腈的低聚物,可供吸附架橋的物質較少。
為了比較混凝劑的處理能力和用藥量,將其最佳投加量和對應的最高濁度去除率列于表1。
表1 混凝劑的最佳投加量和對應的最高濁度去除率
Table 1 The best dosage of coagulant & the highest turbidity removal rate correspondly
由表1 知,PAC 最佳投加量為25 mg·L-1,其用量與硫酸亞鐵相比,相差不大,濁度去除率達78.27%,在三者中去除率最高,混凝效果最好,且投加聚合氯化鋁時礬花形成快,大而密實,泥水易于分離。
3.1.2 pH值對單一混凝劑去除濁度的影響
每種混凝劑都有其適宜的pH值范圍,pH值的大小不僅直接影響污染物的存在形態和性質,而且影響著混凝劑的水解平衡與水解產物的存在形態。
在各混凝劑最佳投加質量濃度,pH值對混凝效果的影響,見圖4~6。
圖4 不同pH值下硫酸亞鐵對混凝效果的影響
Fig.4 Influence of ferrous sulfate to coagulation effect under different pH value
由圖4 知,硫酸亞鐵混凝最佳pH值為12,剩余濁度隨pH值增加而降低。當pH值= 9 時,濁度去除率為59.05%,說明用硫酸亞鐵處理丙烯腈廢水,適宜的pH值范圍為pH值≥9。
圖5 不同pH值下硫酸鋁對混凝效果的影響
Fig.5 Influence of aluminum sulfate to coagulation effect under different pH value
由圖5 知,硫酸鋁最佳混凝pH值為9,濁度去除率在54.80%以上,用硫酸鋁處理丙烯腈廢水,其適應pH值范圍為8~10。
圖6 不同pH值下PAC 對混凝效果的影響
Fig.6 Influence of PAC to coagulation effect under different pH value
由圖6 知,PAC 處理丙烯腈廢水的最佳混凝pH值為7,濁度去除率在75.32% 以上,濁度去除率較高。
經最佳投藥量、最佳pH值實驗篩選,選用PAC作為混凝劑對丙烯腈廢水的處理效果最好。
3.2 復合混凝劑對濁度去除率的影響
近年來,使用新型的高分子混凝劑處理廢水是人們關心的課題[1]。為進一步提高混凝效果,采用助凝劑PAM 與PAC 聯用來處理丙烯腈廢水,考察助混凝劑加入量、pH值對濁度和CODCr去除率的影響。
3.2.1 助凝劑PAM 投加量對濁度去除率的影響
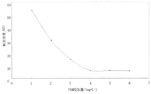
在PAC 最佳投加量為25 mg·L-1 時,助凝劑PAM 投加量對處理效果的影響如圖7 所示。
圖7 PAC + PAM 投加量對混凝效果的影響
Fig.7 Influence of the dosage of PAC & PAM to coagulation effect
由圖7 可見,PAM 投加為4 mg·L-1 時,濁度去除率達89.06%,混凝效果明顯提高。
3.2.2 pH值對PAM 和PAC 復合混凝劑去除濁度的影響
鑒于PAM 和PAC 的加入對丙烯腈廢水的pH值影響較大,實驗中比較了不同初始pH值下,投加PAM 和PAC 復合混凝劑后廢水的濁度的變化,實驗結果如圖8 所示。
圖8 不同pH值下PAC + PAM 對混凝效果的影響
Fig.8 Influence of PAC & PAM to coagulation effect under different pH value
由圖8 知,當pH值= 7 時,濁度去除率最高,達93.01%。PAM 和PAC 復合混凝劑處理丙烯腈廢水比單一混凝劑效果好。由上述實驗得知,PAM 和PAC 復合混凝劑最佳投加質量濃度4 mg·L-1和25mg·L-1,最佳pH值為7。
3.2.3 PAM 和PAC 復合混凝劑處理廢水COD變化
因在工業運用中調整廢水pH值,需耗用大量酸堿,成本較高,所以在實驗室測定了兩種pH值條件下,即: 將廢水pH值調整為7 和未調pH值,廢水CODCr的去除率。測定結果如表2 所示。
表2 PAM + PAC 混凝后廢水的COD去除效果
Table 2 COD removal rate of wastewater after coagulating by PAM & PAC
由表2 知,當調廢水pH值= 7 時,經PAM 和PAC 復合混凝劑混凝處理后出水COD降為960 mg·L-1,COD去除率為45.45%; 而在原廢水pH值條件下,經PAM 和PAC 復合混凝劑處理后出水COD降為992 mg·L-1,COD去除率為43.64%。從而可以看出,在原水pH值條件下處理出水COD去除率比調pH值為7 時的COD去除率要稍微低一點,但考慮到工業運用成本等問題,宜選擇后者即在原水pH值條件下,用PAM 和PAC 復合混凝劑處理廢水。具體參見http://m.bnynw.com更多相關技術文檔。
4 結論
1) 在單一混凝劑濃度對濁度去除率的影響實驗中,PAC 最佳投加量為25 mg·L-1,其用量與硫酸亞鐵相比,相差不大,濁度去除率達78.27%,在三者中去除率最高,混凝效果最好,且投加聚合氯化鋁時礬花形成快,大而密實,泥水易于分離。
2) 在pH值對單一混凝劑去除濁度的影響實驗中,得出硫酸鋁和PAC 的混凝效果較好。而PAC的使用量較硫酸鋁少,且適宜的pH值范圍為5~9,pH值適用范圍寬,濁度去除率75.32% 最高。因此,經最佳投藥量、最佳pH值實驗篩選,選用PAC作為混凝劑對丙烯腈廢水的處理效果最好。
3) 由PAC 和PAM 助凝劑組成的復合混凝劑,在其投加質量濃度分別為25 mg·L-1和4 mg·L-1時,應用于丙烯腈廢水的處理,濁度去除率達93.01%,混凝效果比單一混凝劑大幅提高。
4) 在原廢水pH值條件下,經PAM 和PAC 復合混凝劑處理后,丙烯腈廢水COD由1760 mg·L-1降為992 mg·L-1,COD去除率為43.64%,濁度去除率達93.01%,使丙烯腈廢水的可生化性大大提高。


