電鍍、鈍化、退鍍等電鍍作業中常用的槽液經長期使用后或積累了許多其他的金屬離子,或由于某些添加劑的破壞,或某些有效成分比例失調等原因而影響鍍層或鈍化層的質量,因此許多工廠為控制這些槽液中的雜質在工藝許可的范圍內,將槽液廢棄一部分,補充新溶液,也有的工廠將這些失效的槽液全部棄去,這些廢棄的各種濃度液一般重金屬離子濃度都很高,積累的雜質也很多,不僅污染物的種類不同,而且主要污染物的濃度、其他金屬雜質離子的濃度以及溶液介質也都往往有較大的差異,這些差異決定了這些廢水的處理技術上的多樣性和工藝上的特殊性。
一般常見到的電鍍廢水回收存放裝置,因為其設備的簡陋性,所以只單單具備一些簡單的回收存放的功能,不能做到廢水的二次利用,效益的最大化,能源利用的最大化,環境損害的最小化。
電鍍廢液回收存放裝置,具有回收效率高,結構連接合理,能源利用最大化的特點,在使用中,通過向回收池中加入含有待鍍金屬陽離子的碳酸鹽溶液,和電鍍廢水中的銅、鋅等陽離子發生置換反應,將含有待鍍金屬陽離子的碳酸鹽溶液中的待鍍金屬陽離子置換出去,在流回電鍍池中參加電鍍過程,做到能源的利用最大化。
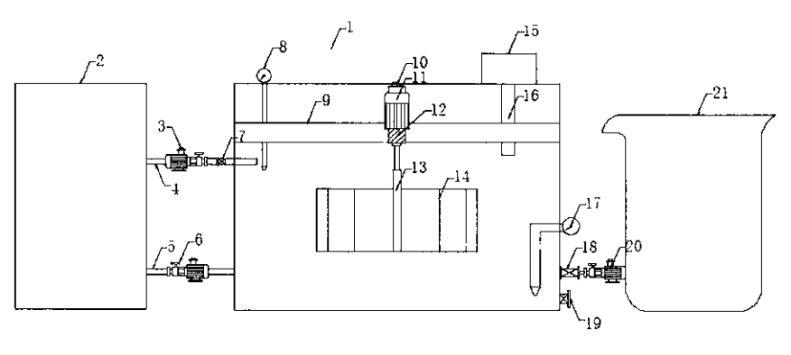
電鍍廢液回收存放裝置,包括裝置本體,裝置本體包括電鍍池、回收池和存放桶回收池上端安裝有密封面板,密封面板中部安裝有電機,電機下端安裝有減速器,減速器下端安裝有主動軸,主動軸兩側安裝有攪拌桿,回收池一側安裝有碳酸鹽溶度檢測計,回收池一側安裝有第二逆止閥,第二逆止閥一側安裝第三水泵,第三水泵一側連接存放桶,本實用新型一種電鍍廢液回收存放裝置,通過向回收池中加入含有待鍍金屬陽離子的碳酸鹽溶液,和電鍍廢水中的銅、鋅等陽離子發生置換反應,將含有待鍍金屬陽離子的碳酸鹽溶液中的待鍍金屬陽離子置換出去,在流回電鍍池中參加電鍍過程,做到能源的利用最大化。
如何選擇合適的水處理公司?
目前,國內環保設備公司眾多,每家都說自己的企業如何大,實力如何強等。其實這里有很多都是自己不生產,接到單后找別的工廠加工生產,這樣生產出來的產品,很難讓人信賴,品質更是無法保證。如果要明白真相的話,只有上門進行實地考察。親臨現場考察了解,具體了解設備的工作性能以及出水質量等,設備是否達標,運行是否正常,操作是否安全等。
