公布日:2023.09.08
申請日:2023.06.25
分類號:C02F1/66(2023.01)I;B01F31/40(2022.01)I;B01F35/83(2022.01)I
摘要
本發明公開了一種EDTA系列廢水連續中和裝置,本發明包括中和桶,所述中和桶上設有廢水進管,且中和桶內固定連接有固定板,所述中和桶上設有液堿進管,所述中和桶上設有外設電機,且外設電機的輸出端連接有導桿,所述導桿上開設有螺紋導槽,且螺紋導槽內設有滑動的螺紋導柱,所述螺紋導柱上固定連接有升降塊,所述導桿固定連接有限位板,所述升降塊上設有攪拌中和裝置,所述中和桶內設有齒輪盤,且齒輪盤固定連接有限位桿,本發明采用在固定板內設置第一閉合齒輪板和第二閉合齒輪板,通過第一閉合齒輪板和第二閉合齒輪板的設置能夠控制廢水和液堿的進液量,以此使得PH值在規定范圍內,從而有效的提高了中和效率,便于持續中和。

權利要求書
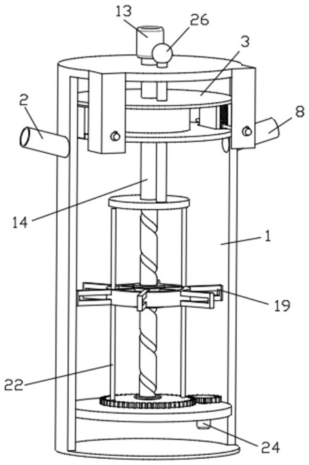
1.一種EDTA系列廢水連續中和裝置,包括中和桶(1),其特征在于,所述中和桶(1)上設有廢水進管(2),且中和桶(1)內固定連接有固定板(3),所述中和桶(1)內設有廢水進液調節裝置,所述中和桶(1)上設有液堿進管(8),所述中和桶(1)內設有液堿進液調節裝置,所述中和桶(1)上設有外設電機(13),且外設電機(13)的輸出端連接有導桿(14),所述導桿(14)上開設有螺紋導槽(15),且螺紋導槽(15)內設有滑動的螺紋導柱(16),所述螺紋導柱(16)上固定連接有升降塊(17),所述導桿(14)固定連接有限位板(23),所述升降塊(17)上設有攪拌中和裝置,所述中和桶(1)內設有齒輪盤(21),且齒輪盤(21)固定連接有限位桿(22),所述中和桶(1)內設有電動機(24),且電動機(24)的輸出端連接有傳動軸,所述傳動軸上固定連接有嚙合齒輪(25),所述中和桶(1)上設有PH檢測裝置(26)。
2.根據權利要求1所述的一種EDTA系列廢水連續中和裝置,其特征在于,所述廢水進液調節裝置包括固定板(3)內設置的第一升降槽,且第一升降槽內設有升降的第一閉合齒輪板(4),所述固定板(3)內轉動連接有第一轉動桿(5),且第一轉動桿(5)上固定連接有第一轉動齒輪(6),所述第一轉動桿(5)上固定連接有第一旋鈕(7),所述第一轉動齒輪(6)與第一閉合齒輪板(4)嚙合傳動,且第一閉合齒輪板(4)銅管第一轉動齒輪(6)在第一升降槽內移動升降。
3.根據權利要求1所述的一種EDTA系列廢水連續中和裝置,其特征在于,所述液堿進液調節裝置包括包括固定板(3)內設置的第二升降槽,且第二升降槽內設有升降的第二閉合齒輪板(9),所述固定板(3)內轉動連接有第二轉動桿(10),且第二轉動桿(10)上固定連接有第二轉動齒輪(11),所述第二轉動桿(10)上固定連接有第二旋鈕(12),所述第二轉動齒輪(11)與第二閉合齒輪板(9)嚙合傳動,且第二閉合齒輪板(9)通過第二轉動齒輪(11)在第二升降槽內移動升降。
4.根據權利要求1所述的一種EDTA系列廢水連續中和裝置,其特征在于,所述攪拌中和裝置包括升降塊(17)上開設的限位槽,且限位槽內設有限位轉盤(18),所述限位轉盤(18)呈圓周均勻設置有多個攪拌葉(19),所述攪拌葉(19)上固定連接有連接塊(20),所述連接塊(20)上開設有限位孔。
5.根據權利要求1所述的一種EDTA系列廢水連續中和裝置,其特征在于,所述外設電機(13)為導桿(14)提供動力,且導桿(14)通過外設電機(13)轉動。
6.根據權利要求1所述的一種EDTA系列廢水連續中和裝置,其特征在于,所述升降塊(17)通過螺紋導柱(16)在螺紋導槽(15)上移動升降。
7.根據權利要求1所述的一種EDTA系列廢水連續中和裝置,其特征在于,所述電動機(24)為傳動軸提供動力,且傳動軸通過電動機(24)轉動。
8.根據權利要求1所述的一種EDTA系列廢水連續中和裝置,其特征在于,所述齒輪盤(21)與嚙合齒輪(25)嚙合傳動,且齒輪盤(21)通過嚙合齒輪(25)轉動。
發明內容
本發明的目的是為了解決現有技術中無法控制廢水和液堿的流量和廢水無法有效的與液堿混合的問題,而提出的一種EDTA系列廢水連續中和裝置。
為了實現上述目的,本發明采用了如下技術方案:
一種EDTA系列廢水連續中和裝置,包括中和桶,所述中和桶上設有廢水進管,且中和桶內固定連接有固定板,所述中和桶內設有廢水進液調節裝置,所述中和桶上設有液堿進管,所述中和桶內設有液堿進液調節裝置,所述中和桶上設有外設電機,且外設電機的輸出端連接有導桿,所述導桿上開設有螺紋導槽,且螺紋導槽內設有滑動的螺紋導柱,所述螺紋導柱上固定連接有升降塊,所述導桿固定連接有限位板,所述升降塊上設有攪拌中和裝置,所述中和桶內設有齒輪盤,且齒輪盤固定連接有限位桿,所述中和桶內設有電動機,且電動機的輸出端連接有傳動軸,所述傳動軸上固定連接有嚙合齒輪,所述中和桶上設有PH檢測裝置。
優選地,所述廢水進液調節裝置包括固定板內設置的第一升降槽,且第一升降槽內設有升降的第一閉合齒輪板,所述固定板內轉動連接有第一轉動桿,且第一轉動桿上固定連接有第一轉動齒輪,所述第一轉動桿上固定連接有第一旋鈕,所述第一轉動齒輪與第一閉合齒輪板嚙合傳動,且第一閉合齒輪板銅管第一轉動齒輪在第一升降槽內移動升降。
優選地,所述液堿進液調節裝置包括包括固定板內設置的第二升降槽,且第二升降槽內設有升降的第二閉合齒輪板,所述固定板內轉動連接有第二轉動桿,且第二轉動桿上固定連接有第二轉動齒輪,所述第二轉動桿上固定連接有第二旋鈕,所述第二轉動齒輪與第二閉合齒輪板嚙合傳動,且第二閉合齒輪板通過第二轉動齒輪在第二升降槽內移動升降。
優選地,所述攪拌中和裝置包括升降塊上開設的限位槽,且限位槽內設有限位轉盤,所述限位轉盤呈圓周均勻設置有多個攪拌葉,所述攪拌葉上固定連接有連接塊,所述連接塊上開設有限位孔。
優選地,所述外設電機為導桿提供動力,且導桿通過外設電機轉動。
優選地,所述升降塊通過螺紋導柱在螺紋導槽上移動升降。
優選地,所述電動機為傳動軸提供動力,且傳動軸通過電動機轉動。
優選地,所述齒輪盤與嚙合齒輪嚙合傳動,且齒輪盤通過嚙合齒輪轉動。
本發明的有益效果為:
1、本發明采用在固定板內設置第一閉合齒輪板和第二閉合齒輪板,通過第一閉合齒輪板和第二閉合齒輪板的設置能夠控制廢水和液堿的進液量,以此使得PH值在規定范圍內,從而有效的提高了中和效率,便于持續中和。
2、本發明采用在限位轉盤上設置攪拌葉,通過攪拌葉的轉動能夠加快廢水與液堿的中和速度,從而的提高了中和效率,同時中和桶內設置導桿,升降塊在導桿的作用下升降,升降塊使得攪拌葉升降,能夠全面的對廢水與液堿進行攪拌中和,從而有效的提高了中和效果。
(發明人:蘇守進;張振永;盧小軍;張文昌;程青芳)






