公布日:2023.09.08
申請日:2023.04.23
分類號:C02F9/00(2023.01)I;C02F1/00(2023.01)I;B01D29/03(2006.01)I;B01D29/58(2006.01)I;C02F1/28(2023.01)I;B01D29/96(2006.01)I;C02F101/20(2006.01)N
摘要
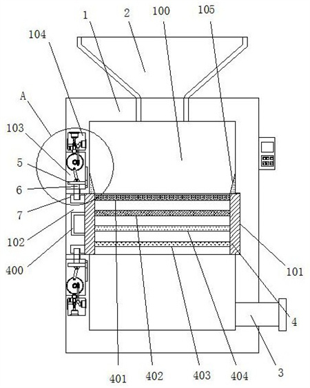
本發明公開了一種鋰電池廢水處理的凈化裝置包括用于對鋰電池廢水進行過濾凈化處理的凈化裝置主體,凈化裝置主體的內部設有過濾腔,凈化裝置主體的頂部設置有進料口,凈化裝置主體的右側底部設置有排水管,過濾腔的四周內壁上均設有框型槽,且框型槽內滑動密封套裝有過濾安裝框。本發明不僅便于對鋰電池廢水進行凈化過濾處理,而且還便于對凈化裝置內的主過濾板、重金屬過濾板、活性炭吸附板、凈化膜板等整個過濾組件進行快速的拆裝更換,并且整個過濾組件在更換后安裝定位的非常牢靠,不容易松動,避免以往因過濾組件在更換后的松動而導致泄漏的現象出現,從而有利于保障整個裝置在后續進行正常的凈化過濾使用。

權利要求書
1.一種鋰電池廢水處理的凈化裝置,包括用于對鋰電池廢水進行過濾凈化處理的凈化裝置主體(1),其特征在于,所述凈化裝置主體(1)的內部設有過濾腔(100),凈化裝置主體(1)的頂部設置有進料口(2),凈化裝置主體(1)的右側底部設置有排水管(3),過濾腔(100)的四周內壁上均設有框型槽(101),且框型槽(101)內滑動密封套裝有過濾安裝框(4),過濾安裝框(4)內由上向下依次設置有主過濾板(401)、重金屬過濾板(402)、活性炭吸附板(403)、以及凈化膜板(404);所述框型槽(101)的左側還設有安裝口(102),且過濾安裝框(4)的左端延伸至安裝口(102)內并固定焊接有上下對稱設置的安裝塊(7),位于兩個安裝塊(7)之間的凈化裝置主體(1)左側還設置有把手(400);位于安裝口(102)上方和下方的凈化裝置主體(1)上均設有電機腔(104),位于電機腔(104)與安裝口(102)之間的凈化裝置主體(1)上還設有凹槽(103),凹槽(103)內設有用于對安裝塊(7)進行安裝定位的定位機構。
2.根據權利要求1所述的一種鋰電池廢水處理的凈化裝置,其特征在于,所述定位機構包括滑動安裝于凹槽(103)內的升降板(5),升降板(5)的底部固定安裝有定位塊(6),安裝塊(7)上設有定位槽(701),且定位塊(6)的底端活動貫穿至安裝口(102)內并定位設于定位槽(701)內;凹槽(103)內轉動安裝有轉軸(14),轉軸(14)上分別固定套接有蝸輪(13)和齒盤(15),且齒盤(15)通過轉動連桿(17)與升降板(5)轉動連接;蝸輪(13)的右側嚙合有筒形蝸桿(12),筒形蝸桿(12)上固定套接有傳動軸(11),傳動軸(11)的頂端轉動貫穿至電機腔(104)內并固定套接有第二錐齒輪(10),第二錐齒輪(10)上嚙合有第一錐齒輪(9),電機腔(104)的右側內壁上還固定安裝有第一電機(8),且第一電機(8)的輸出端與第一錐齒輪(9)固定連接;電機腔(104)內還活動設有用于對齒盤(15)進行鎖定的鎖齒機構。
3.根據權利要求2所述的一種鋰電池廢水處理的凈化裝置,其特征在于,所述齒盤(15)的盤面上固定連接有旋轉銷(16),旋轉銷(16)上轉動連接有轉動連桿(17),且轉動連桿(17)的另一端與升降板(5)的頂部轉動連接。
4.根據權利要求2所述的一種鋰電池廢水處理的凈化裝置,其特征在于,所述升降板(5)的右側固定設置有第一滑塊(18),凹槽(103)的右側內壁上設有第一滑槽,且第一滑塊(18)沿豎直方向滑動安裝于第一滑槽內。
5.根據權利要求2所述的一種鋰電池廢水處理的凈化裝置,其特征在于,所述鎖齒機構包括活動安裝于電機腔(104)內的鎖齒塊(22),且鎖齒塊(22)的底部固定連接有鎖齒凸起(221),齒盤(15)的圓周上固定設置有多個齒牙(151),且鎖齒塊(22)的底部通過鎖齒凸起(221)與齒盤(15)頂側的齒牙(151)嚙合定位;電機腔(104)的頂部內壁上固定安裝有第二電機(19),第二電機(19)的輸出端固定連接有螺桿(20),鎖齒塊(22)的頂部設有螺紋槽(21),且螺桿(20)延伸至螺紋槽(21)內并與螺紋槽(21)螺紋連接。
6.根據權利要求5所述的一種鋰電池廢水處理的凈化裝置,其特征在于,所述鎖齒塊(22)的左側還固定連接有滑動架(23),滑動架(23)的左端固定設置有第二滑塊,電機腔(104)的左側內壁上設有第二滑槽,且第二滑塊沿豎直方向滑動安裝于第二滑槽內。
7.根據權利要求6所述的一種鋰電池廢水處理的凈化裝置,其特征在于,所述滑動架(23)與電機腔(104)的底側內壁之間還固定連接有彈性彈簧(24)。
8.根據權利要求1所述的一種鋰電池廢水處理的凈化裝置,其特征在于,位于過濾安裝框(4)頂側的過濾腔(100)側壁上還固定套接有框型密封件(105),框型密封件(105)的底側圓周上均設置有橡膠密封條,且過濾安裝框(4)的頂側與框型密封件(150)底側的橡膠密封條緊密密封接觸。
9.根據權利要求8所述的一種鋰電池廢水處理的凈化裝置,其特征在于,所述框型密封件(150)的寬度由下向上依次逐漸變小。
發明內容
基于背景技術存在的技術問題,本發明提出了一種鋰電池廢水處理的凈化裝置。
本發明提出的一種鋰電池廢水處理的凈化裝置,包括用于對鋰電池廢水進行過濾凈化處理的凈化裝置主體,凈化裝置主體的內部設有過濾腔,凈化裝置主體的頂部設置有進料口,凈化裝置主體的右側底部設置有排水管,過濾腔的四周內壁上均設有框型槽,且框型槽內滑動密封套裝有過濾安裝框,過濾安裝框內由上向下依次設置有主過濾板、重金屬過濾板、活性炭吸附板、以及凈化膜板;所述框型槽的左側還設有安裝口,且過濾安裝框的左端延伸至安裝口內并固定焊接有上下對稱設置的安裝塊,位于兩個安裝塊之間的凈化裝置主體左側還設置有把手;位于安裝口上方和下方的凈化裝置主體上均設有電機腔,位于電機腔與安裝口之間的凈化裝置主體上還設有凹槽,凹槽內設有用于對安裝塊進行安裝定位的定位機構。
優選的,所述定位機構包括滑動安裝于凹槽內的升降板,升降板的底部固定安裝有定位塊,安裝塊上設有定位槽,且定位塊的底端活動貫穿至安裝口內并定位設于定位槽內;凹槽內轉動安裝有轉軸,轉軸上分別固定套接有蝸輪和齒盤,且齒盤通過轉動連桿與升降板轉動連接;蝸輪的右側嚙合有筒形蝸桿,筒形蝸桿上固定套接有傳動軸,傳動軸的頂端轉動貫穿至電機腔內并固定套接有第二錐齒輪,第二錐齒輪上嚙合有第一錐齒輪,電機腔的右側內壁上還固定安裝有第一電機,且第一電機的輸出端與第一錐齒輪固定連接;電機腔內還活動設有用于對齒盤進行鎖定的鎖齒機構。
優選的,所述齒盤的盤面上固定連接有旋轉銷,旋轉銷上轉動連接有轉動連桿,且轉動連桿的另一端與升降板的頂部轉動連接。
優選的,所述升降板的右側固定設置有第一滑塊,凹槽的右側內壁上設有第一滑槽,且第一滑塊沿豎直方向滑動安裝于第一滑槽內。
優選的,所述鎖齒機構包括活動安裝于電機腔內的鎖齒塊,且鎖齒塊的底部固定連接有鎖齒凸起,齒盤的圓周上固定設置有多個齒牙,且鎖齒塊的底部通過鎖齒凸起與齒盤頂側的齒牙嚙合定位;電機腔的頂部內壁上固定安裝有第二電機,第二電機的輸出端固定連接有螺桿,鎖齒塊的頂部設有螺紋槽,且螺桿延伸至螺紋槽內并與螺紋槽螺紋連接。
優選的,所述鎖齒塊的左側還固定連接有滑動架,滑動架的左端固定設置有第二滑塊,電機腔的左側內壁上設有第二滑槽,且第二滑塊沿豎直方向滑動安裝于第二滑槽內。
優選的,所述滑動架與電機腔的底側內壁之間還固定連接有彈性彈簧。
優選的,位于過濾安裝框頂側的過濾腔側壁上還固定套接有框型密封件,框型密封件的底側圓周上均設置有橡膠密封條,且過濾安裝框的頂側與框型密封件底側的橡膠密封條緊密密封接觸;框型密封件的寬度由下向上依次逐漸變小。
本發明的有益效果是:本發明提供的一種鋰電池廢水處理的凈化裝置,不僅便于對鋰電池廢水進行凈化過濾處理,而且還便于對凈化裝置內的主過濾板、重金屬過濾板、活性炭吸附板、凈化膜板等整個過濾組件進行快速的拆裝更換,并且整個過濾組件在更換后安裝定位的非常牢靠,不容易松動,避免以往因過濾組件在更換后的松動而導致泄漏的現象出現,從而有利于保障整個裝置在后續進行正常的凈化過濾使用。
(發明人:劉昊;邵章華;唐小艷)






