公布日:2023.09.12
申請日:2023.07.25
分類號:B01D36/04(2006.01)I;B01D36/02(2006.01)I
摘要
本發明公開了一種廢水處理用沉淀設備的過濾結構及其使用方法,包括基板,所述基板的頂部設置有沉淀殼,所述沉淀殼內壁的左側豎向設置有隔板一,所述隔板一的表面與沉淀殼的內壁固定連接,所述隔板一的右側豎向設置有隔板二,所述隔板二的表面與沉淀殼的內壁固定連接,所述沉淀殼的正面開設有防滑板,所述隔板一右側的頂部開設有通孔一,所述隔板二左側的頂部開設有通孔二,所述沉淀殼的頂部設置有傳動機構,所述沉淀殼右側的底部連通有出水管。本發明由過濾器一對廢水進行過濾,再由過濾器二對混凝后的廢水進行二次過濾,使用者在使用時可以對廢水進行過濾,能夠提升加工效果,從而保證使用者的正常使用。

權利要求書
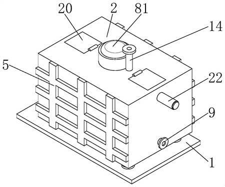
1.一種水處理用沉淀設備的過濾結構,包括基板(1),其特征在于:所述基板(1)的頂部設置有沉淀殼(2),所述沉淀殼(2)內壁的左側豎向設置有隔板一(3),所述隔板一(3)的表面與沉淀殼(2)的內壁固定連接,所述隔板一(3)的右側豎向設置有隔板二(4),所述隔板二(4)的表面與沉淀殼(2)的內壁固定連接,所述沉淀殼(2)的正面開設有防滑板(5),所述隔板一(3)右側的頂部開設有通孔一(6),所述隔板二(4)左側的頂部開設有通孔二(7),所述沉淀殼(2)的頂部設置有傳動機構(8),所述沉淀殼(2)右側的底部連通有出水管(9),所述隔板一(3)的左側固定連接有過濾器一(10),所述過濾器一(10)的表面與沉淀殼(2)的內壁固定連接,所述隔板二(4)的右側固定連接有過濾器二(11),所述過濾器二(11)的表面與沉淀殼(2)的內壁固定連接,所述沉淀殼(2)左側的頂部連通有進水管(12),所述進水管(12)的左側設置有水泵(13),所述水泵(13)的出水口與進水管(12)連通,所述沉淀殼(2)的頂部連通有混凝管(14);所述過濾器一(10)包括外殼(101),所述外殼(101)固定連接在隔板一(3)的左側,所述外殼(101)內壁的底部固定連接有紡織布過濾網一(102),所述紡織布過濾網一(102)的頂部活動連接有活性炭(103),所述活性炭(103)的頂部設置有紡織布過濾網二(104),所述紡織布過濾網二(104)的表面與外殼(101)固定連接;所述過濾器二(11)包括包裹殼(111),所述包裹殼(111)固定連接在隔板二(4)的右側,所述包裹殼(111)內壁的頂部固定連接有尼龍過濾網一(112),所述尼龍過濾網一(112)的底部活動連接有沙子過濾層(113),所述沙子過濾層(113)的底部固定連接有尼龍過濾網二(114),所述尼龍過濾網二(114)的底部活動連接有活性炭過濾網(115),所述活性炭過濾網(115)的底部活動連接有尼龍過濾網三(116),所述尼龍過濾網三(116)的表面與包裹殼(111)的內壁固定連接。
2.根據權利要求1所述的一種水處理用沉淀設備的過濾結構,其特征在于:所述沉淀殼(2)底部的四角均固定連接有支腿(15),所述支腿(15)的底部與基板(1)活動連接。
3.根據權利要求2所述的一種水處理用沉淀設備的過濾結構,其特征在于:所述水泵(13)的底部固定連接有固定塊(16),所述固定塊(16)的底部與基板(1)頂部的左側固定連接。
4.根據權利要求3所述的一種水處理用沉淀設備的過濾結構,其特征在于:所述傳動機構(8)包括電機(81),所述電機(81)的輸出端貫穿至沉淀殼(2)的內部固定連接有傳動軸(82),所述傳動軸(82)的表面固定連接有攪拌葉(83)。
5.根據權利要求4所述的一種水處理用沉淀設備的過濾結構,其特征在于:所述傳動軸(82)表面的頂部和底部均固定連接有固定軸承(17),所述固定軸承(17)外環的外側與沉淀殼(2)的內壁固定連接。
6.根據權利要求5所述的一種水處理用沉淀設備的過濾結構,其特征在于:所述沉淀殼(2)的背面通過鉸鏈活動連接有蓋板(18),所述蓋板(18)的正面固定連接有密封板(19),所述密封板(19)的表面與沉淀殼(2)的內壁活動連接。
7.根據權利要求6所述的一種水處理用沉淀設備的過濾結構,其特征在于:所述沉淀殼(2)頂部的右側活動連接有柜門(20),所述柜門(20)的表面與沉淀殼(2)的內壁滑動連接。
8.根據權利要求7所述的一種水處理用沉淀設備的過濾結構,其特征在于:所述通孔二(7)的內部活動連接有堵塞(21),所述沉淀殼(2)右側的頂部固定連接有氣缸(22),所述氣缸(22)的左側貫穿至沉淀殼(2)的內部與堵塞(21)固定連接。
9.根據權利要求8所述的一種廢水處理用沉淀設備的過濾結構,其特征在于:所述氣缸(22)輸出端活動連接有密封套(23),所述密封套(23)的右側與沉淀殼(2)內壁右側的頂部固定連接。
10.根據權利要求9所述的一種廢水處理用沉淀設備的過濾結構及其使用方法,其特征在于:包括以下步驟:S1:使用者驅動水泵(13),水泵(13)將外部的廢水傳入進水管(12)的內部,進水管(12)將廢水傳入沉淀殼(2)的內部,由于隔板一(3)的阻擋,提高沉淀殼(2)內腔的水位,當沉淀殼(2)內腔的水位高于過濾器一(10)時,污水會經過紡織布過濾網一(102)、活性炭(103)和紡織布過濾網二(104),通過紡織布過濾網一(102)、活性炭(103)和紡織布過濾網二(104)對污水進行過濾,過濾后的污水會經過通孔一(6)流到隔板一(3)的右側,然后執行S2:S2:使用者通過混凝管(14)將混凝液傳入沉淀殼(2)的內部,再驅動電機(81),電機(81)通過輸出端帶動傳動軸(82)轉動,傳動軸(82)帶動攪拌葉(83)轉動,通過攪拌葉(83)對污水和混凝液進行攪拌,使混凝液對污水中的雜質進行混凝,增加雜質的體積,再驅動氣缸(22),氣缸(22)通過輸出端帶動堵塞(21)向右側移動與通孔二(7)分離,使污水通過通孔二(7)將流到隔板二(4)的右側,使污水經過過濾器二(11),通過尼龍過濾網一(112)、沙子過濾層(113)、尼龍過濾網二(114)、活性炭過濾網(115)和尼龍過濾網三(116)對污水進行過濾,然后通過出水管(9)將過濾后的水排出。
發明內容
為解決上述背景技術中提出的問題,本發明的目的在于提供一種廢水處理用沉淀設備的過濾結構及其使用方法,具備可以對廢水進行過濾的優點,解決了沉淀設備無法對廢水進行過濾的問題。
為實現上述目的,本發明提供如下技術方案:一種水處理用沉淀設備的過濾結構,包括基板,所述基板的頂部設置有沉淀殼,所述沉淀殼內壁的左側豎向設置有隔板一,所述隔板一的表面與沉淀殼的內壁固定連接,所述隔板一的右側豎向設置有隔板二,所述隔板二的表面與沉淀殼的內壁固定連接,所述沉淀殼的正面開設有防滑板,所述隔板一右側的頂部開設有通孔一,所述隔板二左側的頂部開設有通孔二,所述沉淀殼的頂部設置有傳動機構,所述沉淀殼右側的底部連通有出水管,所述隔板一的左側固定連接有過濾器一,所述過濾器一的表面與沉淀殼的內壁固定連接,所述隔板二的右側固定連接有過濾器二,所述過濾器二的表面與沉淀殼的內壁固定連接,所述沉淀殼左側的頂部連通有進水管,所述進水管的左側設置有水泵,所述水泵的出水口與進水管連通,所述沉淀殼的頂部連通有混凝管;
所述過濾器一包括外殼,所述外殼固定連接在隔板一的左側,所述外殼內壁的底部固定連接有紡織布過濾網一,所述紡織布過濾網一的頂部活動連接有活性炭,所述活性炭的頂部設置有紡織布過濾網二,所述紡織布過濾網二的表面與外殼固定連接;
所述過濾器二包括包裹殼,所述包裹殼固定連接在隔板二的右側,所述包裹殼內壁的頂部固定連接有尼龍過濾網一,所述尼龍過濾網一的底部活動連接有沙子過濾層,所述沙子過濾層的底部固定連接有尼龍過濾網二,所述尼龍過濾網二的底部活動連接有活性炭過濾網,所述活性炭過濾網的底部活動連接有尼龍過濾網三,所述尼龍過濾網三的表面與包裹殼的內壁固定連接。
作為本發明優選的,所述沉淀殼底部的四角均固定連接有支腿,所述支腿的底部與基板活動連接。
作為本發明優選的,所述水泵的底部固定連接有固定塊,所述固定塊的底部與基板頂部的左側固定連接。
作為本發明優選的,所述傳動機構包括電機,所述電機的輸出端貫穿至沉淀殼的內部固定連接有傳動軸,所述傳動軸的表面固定連接有攪拌葉。
作為本發明優選的,所述傳動軸表面的頂部和底部均固定連接有固定軸承,所述固定軸承外環的外側與沉淀殼的內壁固定連接。
作為本發明優選的,所述沉淀殼的背面通過鉸鏈活動連接有蓋板,所述蓋板的正面固定連接有密封板,所述密封板的表面與沉淀殼的內壁活動連接。
作為本發明優選的,所述沉淀殼頂部的右側活動連接有柜門,所述柜門的表面與沉淀殼的內壁滑動連接。
作為本發明優選的,所述通孔二的內部活動連接有堵塞,所述沉淀殼右側的頂部固定連接有氣缸,所述氣缸的左側貫穿至沉淀殼的內部與堵塞固定連接。
作為本發明優選的,所述氣缸輸出端活動連接有密封套,所述密封套的右側與沉淀殼內壁右側的頂部固定連接。
作為本發明優選的,包括以下步驟:
S1:使用者驅動水泵,水泵將外部的廢水傳入進水管的內部,進水管將廢水傳入沉淀殼的內部,由于隔板一的阻擋,提高沉淀殼內腔的水位,當沉淀殼內腔的水位高于過濾器一時,污水會經過紡織布過濾網一、活性炭和紡織布過濾網二,通過紡織布過濾網一、活性炭和紡織布過濾網二對污水進行過濾,過濾后的污水會經過通孔一流到隔板一的右側,然后執行S2:
S2:使用者通過混凝管將混凝液傳入沉淀殼的內部,再驅動電機,電機通過輸出端帶動傳動軸轉動,傳動軸帶動攪拌葉轉動,通過攪拌葉對污水和混凝液進行攪拌,使混凝液對污水中的雜質進行混凝,增加雜質的體積,再驅動氣缸,氣缸通過輸出端帶動堵塞向右側移動與通孔二分離,使污水通過通孔二將流到隔板二的右側,使污水經過過濾器二,通過尼龍過濾網一、沙子過濾層、尼龍過濾網二、活性炭過濾網和尼龍過濾網三對污水進行過濾,然后通過出水管將過濾后的水排出。
與現有技術相比,本發明的有益效果如下:
1、本發明由過濾器一對廢水進行過濾,再由過濾器二對混凝后的廢水進行二次過濾,使用者在使用時可以對廢水進行過濾,能夠提升加工效果,從而保證使用者的正常使用。
2、本發明通過設置支腿,可以對沉淀殼進行支撐,防止沉淀殼在基板的頂部左右移動。
(發明人:王志倫;蔣俏俏)






