公布日:2023.10.10
申請日:2023.07.20
分類號:C02F9/00(2023.01)I;C02F1/52(2023.01)I;C02F1/66(2023.01)I;C02F1/56(2023.01)I;C02F103/16(2006.01)N;C02F101/20(2006.01)N;C02F1/28(2023.01)N;C02F1/
00(2023.01)N
摘要
本發明屬于電鍍廢水回收技術領域,尤其是一種電鍍含鎳廢水回收設備,針對現有的在對電鍍廢水進行回收時,首先需要通過對反應桶內加入酸堿,使藥劑與廢水反應,達到酸堿中和,通過混凝劑(PAC)、絮凝劑(PAM)混凝絮凝作用,使其沉淀,反應桶在使用時,其內壁容易沾染不同藥劑,從而降低其藥劑與廢水的反應效果,同時藥劑與廢水反應時間較長,降低對廢水的回收效率,現提出以下方案,包括支撐架,兩個所述支撐架的一側設置有同一個反應組件。本發明公開的一種電鍍含鎳廢水回收設備,具有藥劑與廢水充分混合,提升其反應速度,從而加快整個廢水回收的效率,避免粘附的雜質與藥劑長時間粘附侵蝕反應桶,使得藥劑與廢水充分反應,提升其反應。

權利要求書
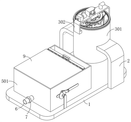
1.一種電鍍含鎳廢水回收設備,包括支撐架(2),其特征在于,兩個所述支撐架(2)的一側設置有同一個反應組件(3),且反應組件(3)包括支板(302)、反應桶(301)、驅動電機(321)和投放板(305),所述支板(302)的一側開設有圓孔,且圓孔的內部固定連接有安裝平臺(303),且安裝平臺(303)的一側開設有安裝孔一,且安裝孔一的內部通過軸承連接有旋轉圓桿(304),且旋轉圓桿(304)的一側固定連接有固定長桿(306),且固定長桿(306)的兩側均等距離固定連接有攪拌桿(307),所述投放板(305)的兩側均開設有安裝口,且兩個安裝口的內部均固定連接有加藥框(308),且兩個加藥框(308)的排藥口均固定連接有噴灑頭(309),所述安裝平臺(303)的兩側均開設有兩個安裝孔二,且相對的兩個安裝孔二的內部均通過軸承連接有旋轉軸(314),且兩個旋轉軸(314)的外部均固定連接有聯動齒輪(315),旋轉圓桿(304)的外部固定連接有旋轉齒輪(310),所述反應桶(301)的一側固定連接有導向圓軌道(311),且導向圓軌道(311)的內部滑動連接有旋轉滑框(312),且旋轉滑框(312)的一側固定連接有圓齒框(313),旋轉滑框(312)的一側等距離固定連接有安裝框(316),且每個安裝框(316)的一側均等距離固定連接有復位彈簧(318),且位于同一側多個復位彈簧(318)的一側固定連接有同一個刮板(319),且每個刮板(319)的兩側均開設有安裝孔二,且相對的兩個安裝孔二的內部通過軸承連接有清潔輥(317),所述驅動電機(321)的驅動端通過聯軸器連接于旋轉圓桿(304)的一端。
2.根據權利要求1所述的一種電鍍含鎳廢水回收設備,其特征在于,兩個所述支撐架(2)的相對一側固定連接有同一個回收平臺(1),且回收平臺(1)的一側設置有過濾收集組件(5),過濾收集組件(5)包括過濾框(501)。
3.根據權利要求2所述的一種電鍍含鎳廢水回收設備,其特征在于,所述過濾框(501)的內部兩側均固定連接有導向軌道(505),且兩個導向軌道(505)的內部均滑動連接有滑塊(506),兩個滑塊(506)的一側均等距離固定連接有伸縮彈簧(507),相對的多個伸縮彈簧(507)的一側固定連接有同一個過濾板(508),過濾板(508)的一側固定連接有收集板(509),兩個滑塊(506)的一側固定連接有同一個把手(510)。
4.根據權利要求3所述的一種電鍍含鎳廢水回收設備,其特征在于,所述過濾框(501)的兩側均開設有滑槽,且兩個滑槽的內部均滑動連接有移動塊(512),兩個移動塊(512)的外部均固定連接有兩個限位密封板(513),位于過濾框(501)內部的兩個限位密封板(513)的相對一側等距離固定連接有吸附過濾板(511)。
5.根據權利要求4所述的一種電鍍含鎳廢水回收設備,其特征在于,兩個所述移動塊(512)的一側均開設有安裝孔三,且兩個安裝孔三的內部均通過軸承連接有轉軸(514),回收平臺(1)的一側固定連接有兩個支撐座(519),兩個支撐座(519)的一側均固定連接有電機(518),兩個電機(518)的驅動端均固定連接有旋轉圓盤(517)。
6.根據權利要求5所述的一種電鍍含鎳廢水回收設備,其特征在于,兩個所述旋轉圓盤(517)的一側均開設有安裝孔四,且兩個安裝孔四的內部均通過軸承連接有偏位軸(516),位于同一側的兩個轉軸(514)與偏位軸(516)的外部活動連接有同一個推拉桿(515)。
7.根據權利要求6所述的一種電鍍含鎳廢水回收設備,其特征在于,所述過濾框(501)的一側固定連接有固定座(502),且固定座(502)的一側固定連接有水泵(503),水泵(503)的進水端固定連接有輸送管(504)。
8.根據權利要求7所述的一種電鍍含鎳廢水回收設備,其特征在于,所述安裝平臺(303)的一側設置有除氣組件(8),且除氣組件(8)包括中空弧形框(801),兩個中空弧形框(801)的弧形面均等距離開設有吸氣孔,兩個中空弧形框(801)的一側固定連接有同一個連通管(802)。
9.根據權利要求8所述的一種電鍍含鎳廢水回收設備,其特征在于,所述支板(302)的一側固定連接有泵體(804),且泵體(804)的吸氣端通過吸管(803)連接于其中一個中空弧形框(801)的內部,支板(302)的一側固定連接有廢氣處理箱(805),廢氣處理箱(805)的一側固定連接有排氣管(806)。
10.根據權利要求9所述的一種電鍍含鎳廢水回收設備,其特征在于,所述支板(302)的一側開設有圓口,且圓口的內部固定連接有進水管(4),過濾框(501)的一側開設有排水口,且排水口的內部固定連接有排放管(6),排放管(6)的外部通過法蘭連接有閥門(7),支板(302)的一側固定連接有安裝座(320),過濾框(501)的一側通過合頁連接有蓋板(9)。
發明內容
本發明公開一種電鍍含鎳廢水回收設備,旨在解決背景技術中的現有的在對電鍍廢水進行回收時,首先需要通過對反應桶內加入酸堿,使藥劑與廢水反應,達到酸堿中和,通過混凝劑(PAC)、絮凝劑(PAM)混凝絮凝作用,使其沉淀,反應桶在使用時,其內壁容易沾染不同藥劑,從而降低其藥劑與廢水的反應效果,同時藥劑與廢水反應時間較長,降低對廢水回收效率的技術問題。
本發明提出的一種電鍍含鎳廢水回收設備,包括支撐架,兩個所述支撐架的一側設置有同一個反應組件,且反應組件包括支板、反應桶、驅動電機和投放板,所述支板的一側開設有圓孔,且圓孔的內部固定連接有安裝平臺,且安裝平臺的一側開設有安裝孔一,且安裝孔一的內部通過軸承連接有旋轉圓桿,且旋轉圓桿的一側固定連接有固定長桿,且固定長桿的兩側均等距離固定連接有攪拌桿,所述投放板的兩側均開設有安裝口,且兩個安裝口的內部均固定連接有加藥框,且兩個加藥框的排藥口均固定連接有噴灑頭,所述安裝平臺的兩側均開設有兩個安裝孔二,且相對的兩個安裝孔二的內部均通過軸承連接有旋轉軸,且兩個旋轉軸的外部均固定連接有聯動齒輪,旋轉圓桿的外部固定連接有旋轉齒輪,所述反應桶的一側固定連接有導向圓軌道,且導向圓軌道的內部滑動連接有旋轉滑框,且旋轉滑框的一側固定連接有圓齒框,旋轉滑框的一側等距離固定連接有安裝框,且每個安裝框的一側均等距離固定連接有復位彈簧,且位于同一側多個復位彈簧的一側固定連接有同一個刮板,且每個刮板的兩側均開設有安裝孔二,且相對的兩個安裝孔二的內部通過軸承連接有清潔輥,所述驅動電機的驅動端通過聯軸器連接于旋轉圓桿的一端。
通過設置有反應組件,在對廢水中加入藥劑時,首先通過將藥劑加入加藥框內,而后啟動驅動電機,通過驅動電機帶動旋轉圓桿進行轉動,此時投放板轉動,通過噴灑頭使得藥劑均勻灑向廢水中,同時攪拌桿同時攪拌加入藥劑的廢水,使得藥劑與廢水充分混合,提升其反應速度,從而加快整個廢水回收的效率,旋轉圓桿轉動的同時,從事旋轉齒輪帶動聯動齒輪進行轉動,使得聯動齒輪帶動圓齒框上的旋轉滑框在導向圓軌道內部轉動,使得多個安裝框上的刮板對反應桶內壁粘附的雜質進行刮除,同時通過清潔輥對其內壁進行清理,避免粘附的雜質與藥劑長時間粘附侵蝕反應桶,同時使得藥劑與廢水充分反應,提升其反應效果。
在一個優選的方案中,兩個所述支撐架的相對一側固定連接有同一個回收平臺,且回收平臺的一側設置有過濾收集組件,過濾收集組件包括過濾框。
在一個優選的方案中,所述過濾框的內部兩側均固定連接有導向軌道,且兩個導向軌道的內部均滑動連接有滑塊,兩個滑塊的一側均等距離固定連接有伸縮彈簧,相對的多個伸縮彈簧的一側固定連接有同一個過濾板,過濾板的一側固定連接有收集板,兩個滑塊的一側固定連接有同一個把手。
在一個優選的方案中,所述過濾框的兩側均開設有滑槽,且兩個滑槽的內部均滑動連接有移動塊,兩個移動塊的外部均固定連接有兩個限位密封板,位于過濾框內部的兩個限位密封板的相對一側等距離固定連接有吸附過濾板。
在一個優選的方案中,兩個所述移動塊的一側均開設有安裝孔三,且兩個安裝孔三的內部均通過軸承連接有轉軸,回收平臺的一側固定連接有兩個支撐座,兩個支撐座的一側均固定連接有電機,兩個電機的驅動端均固定連接有旋轉圓盤。
在一個優選的方案中,兩個所述旋轉圓盤的一側均開設有安裝孔四,且兩個安裝孔四的內部均通過軸承連接有偏位軸,位于同一側的兩個轉軸與偏位軸的外部活動連接有同一個推拉桿。
在一個優選的方案中,所述過濾框的一側固定連接有固定座,且固定座的一側固定連接有水泵,水泵的進水端固定連接有輸送管。
通過設置有過濾收集組件,在初步處理后的廢水進行排放時,此時通過過濾框內的過濾板對廢水進行初步過篩,使得對其內部的固體鎳進行過篩,通過抽拉把手,使得收集板對固體鎳進行收集,此時位于過濾框內部的多個吸附過濾板對其過篩后的廢水內部的有毒物質進行吸附處理,同時通過啟動電機,通過電機帶動旋轉圓盤進行轉動,使得旋轉圓盤上的推拉桿往復推動移動塊在過濾框上的滑槽移動,使得吸附過濾板在對廢水內的有毒物進行吸附時使廢水充分晃動,提升其吸附效果。
在一個優選的方案中,所述安裝平臺的一側設置有除氣組件,且除氣組件包括中空弧形框,兩個中空弧形框的弧形面均等距離開設有吸氣孔,兩個中空弧形框的一側固定連接有同一個連通管。
在一個優選的方案中,所述支板的一側固定連接有泵體,且泵體的吸氣端通過吸管連接于其中一個中空弧形框的內部,支板的一側固定連接有廢氣處理箱,廢氣處理箱的一側固定連接有排氣管。
通過設置有除氣組件,在廢水添加藥劑發生反應時,通過啟動泵體,通過中空弧形框上開設的多個吸氣孔對反應時產生的廢氣進行吸取,而后通過廢氣處理箱進行處理后排出,避免廢氣污染空氣,中空弧形框的吸氣孔開設方向為弧形,可以提升其吸取范圍。
在一個優選的方案中,所述支板的一側開設有圓口,且圓口的內部固定連接有進水管,過濾框的一側開設有排水口,且排水口的內部固定連接有排放管,排放管的外部通過法蘭連接有閥門,支板的一側固定連接有安裝座,過濾框的一側通過合頁連接有蓋板。
由上可知,本發明提供的一種電鍍含鎳廢水回收設備具有藥劑與廢水充分混合,提升其反應速度,從而加快整個廢水回收的效率,避免粘附的雜質與藥劑長時間粘附侵蝕反應桶,使得藥劑與廢水充分反應,提升其反應的有益效果。
(發明人:周彪;安巖;劉利軍)






