公布日:2024.03.26
申請日:2024.01.11
分類號:C02F9/00(2023.01)I;C02F1/40(2023.01)I;C02F1/22(2023.01)I;C02F3/34(2023.01)N;C02F1/00(2023.01)N;C02F1/28(2023.01)N
摘要
本申請涉及污水處理的技術領域,公開了一種高效的廚衛污水處理系統,包括用于接收廚房污水的第一過濾箱和用于接收衛生間污水的第二過濾箱,還包括第一沉淀箱和第二沉淀箱以及集中過濾箱,所述第一過濾箱和所述第一沉淀箱連接,所述第二過濾箱和所述第二沉淀箱連接;所述第一沉淀箱設置有降溫設備,所述第一沉淀箱的底部設置有第一污水排出閥,所述第一污水排出閥與所述集中過濾箱連接,所述第一沉淀箱內安裝有刮油組件,所述第二沉淀箱的側壁設置有第二污水排出閥,所述第二污水排出閥與所述集中過濾箱連接,所述集中過濾箱依次連接有生物池以及過濾消毒池。本申請能夠提高廚衛污水處理系統的油脂處理的效率。

權利要求書
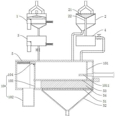
1.一種高效的廚衛污水處理系統,其特征在于:包括用于接收廚房污水的第一過濾箱(1)和用于接收衛生間污水的第二過濾箱(2),還包括第一沉淀箱(3)和第二沉淀箱(4)以及集中過濾箱(5),所述第一過濾箱(1)和所述第一沉淀箱(3)連接,所述第二過濾箱(2)和所述第二沉淀箱(4)連接;所述第一沉淀箱(3)設置有降溫設備,所述第一沉淀箱(3)的底部設置有第一污水排出閥(31),所述第一污水排出閥(31)與所述集中過濾箱(5)連接,所述第一沉淀箱(3)內安裝有刮油組件(8),所述第二沉淀箱(4)的側壁設置有第二污水排出閥(41),所述第二污水排出閥(41)與所述集中過濾箱(5)連接,所述集中過濾箱(5)依次連接有生物池(6)以及過濾消毒池(7)。
2.根據權利要求1所述的一種高效的廚衛污水處理系統,其特征在于:所述第一過濾箱(1)底部設置有排水閥(12),所述第一過濾箱(1)內安裝有第一過濾網(13)和第二過濾網(14),所述第一過濾網(13)位于所述第二過濾網(14)的上方,所述第一過濾網(13)的外周側與所述第一過濾箱(1)內壁留有間隙,所述第一過濾箱(1)內安裝有封堵浮環(16),所述封堵浮環(16)上下滑動于所述第一過濾網(13)和所述第二過濾網(14)之間。
3.根據權利要求2所述的一種高效的廚衛污水處理系統,其特征在于:所述第一過濾箱(1)內還安裝有殘渣處理組件(9),所述殘渣處理組件(9)包括推板(91)以及驅使所述推板(91)往復滑動于所述第二過濾網(14)上的驅動件,所述第一過濾箱(1)底部安裝有殘渣收集盒(92),所述殘渣收集盒(92)開口朝上,所述第一過濾箱(1)側壁轉動安裝有用于封閉所述殘渣收集盒(92)的封板(93),所述推板(91)推動所述封板(93)轉動時,所述殘渣收集盒(92)與所述第一過濾箱(1)連通。
4.根據權利要求2所述的一種高效的廚衛污水處理系統,其特征在于:所述第一過濾箱(1)安裝有攪拌桿(17),所述攪拌桿(17)具有扇葉(54)的部分位于所述第一過濾網(13)和所述第二過濾網(14)之間。
5.根據權利要求1所述的一種高效的廚衛污水處理系統,其特征在于:所述刮油組件(8)包括刮板(81)以及驅使刮板(81)往復移動的動力源,所述第一沉淀箱(3)內安裝有油渣收集盒(82),所述第一沉淀箱(3)內密封轉動安裝有封堵所述油渣收集盒(82)的擋水板(83),所述刮板(81)推動擋水板(83)轉動時所述油渣收集盒(82)與所述第一沉淀箱(3)連通。
6.根據權利要求1所述的一種高效的廚衛污水處理系統,其特征在于:所述第二過濾箱(2)內安裝有第三過濾網(21),所述第三過濾網(21)向所述第二過濾箱(2)中部位置傾斜向下,所述第二過濾箱(2)連接有排污管(22),所述排污管(22)的一端貫穿所述第三過濾網(21)的中部位置,所述排污管(22)一端穿出所述第二過濾箱(2)與所述第二沉淀箱(4)連通,所述第二過濾箱(2)的底部與所述集中過濾箱(5)連通。
7.根據權利要求1所述的一種高效的廚衛污水處理系統,其特征在于:所述集中過濾箱(5)的底部安裝有第四過濾網(51),所述集中過濾箱(5)轉動安裝有轉軸(53),所述轉軸(53)上安裝有扇葉(54),所述集中過濾箱(5)內安裝有雜物收集機構(10)。
8.根據權利要求7所述的一種高效的廚衛污水處理系統,其特征在于:所述雜物收集機構(10)包括清理板(101)以及驅使所述清理板(101)往復滑動的驅動源,所述清理板(101)開設有用于供所述轉軸(53)和扇葉(54)通過的讓位槽,所述雜物收集機構(10)還包括雜物收集盒(102)與封堵雜物收集盒(102)的密封板(103),所述密封板(103)轉動連接有滑塊(104),所述密封板(103)和所述滑塊(104)滑動于所述集中過濾箱(5)內,所述密封板(103)開設有用于供轉軸(53)穿過的通孔,所述清理板(101)上安裝有推動所述密封板(103)的推桿(1011),當所述密封板(103)轉動時,所述雜物收集盒(102)與所述集中過濾箱(5)連通。
9.根據權利要求8所述的一種高效的廚衛污水處理系統,其特征在于:所述滑塊(104)背離所述轉軸(53)的一側連接有復位彈簧(105)。
10.一種高效的廚衛污水處理方法,根據權利要求1-9任意一項所述的一種高效的廚衛污水處理系統進行處理,其特征在于:廚房污水依次經過第一過濾箱(1)和第一沉淀箱(3),衛生間的污水依次經過第二過濾箱(2)和第二沉淀箱(4);第一沉淀箱(3)內的降溫設備對廚房污水進行降溫處理,使污水內的油脂凝固成塊,再將第一沉淀箱(3)內的污水排出,通過刮油組件(8)對第一沉淀箱(3)內的油脂刮出收集;從第一沉淀箱(3)和第二沉淀箱(4)內流出的污水再統一進入集中過濾箱(5)中再次過濾;污水從集中過濾箱(5)流出進入生物池(6)內分解,污水最后進入過濾消毒池(7)中消毒。
發明內容
為了提高廚衛污水處理系統中對油脂的處理效率,本申請提供一種高效的廚衛污水處理系統及方法。
第一方面,本申請提供一種高效的廚衛污水處理系統,采用如下的技術方案:一種高效的廚衛污水處理系統,包括用于接收廚房污水的第一過濾箱和用于接收衛生間污水的第二過濾箱,還包括第一沉淀箱和第二沉淀箱以及集中過濾箱,所述第一過濾箱和所述第一沉淀箱連接,所述第二過濾箱和所述第二沉淀箱連接;所述第一沉淀箱設置有降溫設備,所述第一沉淀箱的底部設置有第一污水排出閥,所述第一污水排出閥與所述集中過濾箱連接,所述第一沉淀箱內安裝有刮油組件,所述第二沉淀箱的側壁設置有第二污水排出閥,所述第二污水排出閥與所述集中過濾箱連接,所述集中過濾箱依次連接有生物池以及過濾消毒池。
通過采用上述技術方案,廚房和衛生間的污水向分別排入第一過濾箱和第二過濾箱內,廚房污水經過第一沉淀箱沉淀后進入集中過濾箱內,衛生間的污水經過第二沉淀箱后進入集中過濾箱內,因此廚房污水和衛生間污水前期先分開處理,后期才進行統一處理,廚房污水進入第一沉淀箱后,降溫設備使污水溫度下降,污水內的油脂凝固后漂浮在水面上,第一沉淀箱排水時,污水從第一沉淀箱底部排出,大量凝固的油脂留在第二沉淀箱內,然后再經過刮油組件將油脂從第一沉淀箱內刮除,第二過濾箱和第二沉淀箱可以將大量的糞便截留,糞水和部分漂浮的手紙進入集中過濾箱中再次過濾;因此在廚衛污水處理系統中處理廚房污水時會專門對油脂進行處理,提高了廚衛污水處理系統的油脂處理的效率,廚房和衛生間內的污水再統一進入集中過濾箱內處理,進而加快污水整體處理效率。
可選的,所述第一過濾箱底部設置有排水閥,所述第一過濾箱內安裝有第一過濾網和第二過濾網,所述第一過濾網位于所述第二過濾網的上方,所述第一過濾網的外周側與所述第一過濾箱內壁留有間隙,所述第一過濾箱內安裝有封堵浮環,所述封堵浮環上下滑動于所述第一過濾網和所述第二過濾網之間。
通過采用上述技術方案,第一過濾網使污水可以直接通過,第一過濾網使大部分的殘渣只能通過第一過濾網和第一過濾箱之間的間隙進入第二過濾網內,當污水高于第一過濾網時,封堵浮環可以阻擋第二過濾網內的殘渣回到第一過濾網上方,因此大量浮渣主要會集中在第二過濾網上。
可選的,所述第一過濾箱內還安裝有殘渣處理組件,所述殘渣處理組件包括推板以及驅使所述推板往復滑動于所述第二過濾網上的驅動件,所述第一過濾箱底部安裝有殘渣收集盒,所述殘渣收集盒開口朝上,所述第一過濾箱側壁轉動安裝有用于封閉所述殘渣收集盒的封板,所述推板推動所述封板轉動時,所述殘渣收集盒與所述第一過濾箱連通。
通過采用上述技術方案,第二過濾網上的殘渣可以被殘渣收集盒回收,當第一過濾箱過濾殘渣時,殘渣收集盒不于第一過濾箱連通,殘渣收集盒內的殘渣可以被清理。
可選的,所述第一過濾箱安裝有攪拌桿,所述攪拌桿具有扇葉的部分位于所述第一過濾網和所述第二過濾網之間。
通過采用上述技術方案,當污水水位高于第一過濾網時,為了加快第一過濾箱內的污水排出,轉動攪拌桿可以使第二過濾網內的殘渣漂浮,使污水可以順利通過第二過濾網,并且轉動的扇葉帶著污水形成漩渦,使污水能夠更好地通過第一過濾網,加快第一過濾箱內的過濾速度。
可選的,所述刮油組件包括刮板以及驅使刮板往復移動的動力源,所述第一沉淀箱內安裝有油渣收集盒,所述第一沉淀箱內密封轉動安裝有封堵所述油渣收集盒的擋水板,所述刮板推動擋水板轉動時所述油渣收集盒與所述第一沉淀箱連通。
通過采用上述技術方案,刮板可以將油脂掛入油渣收集盒內,當第一沉淀箱內儲水,并且對水降溫時,可以清理油渣收集盒內的油渣。
可選的,所述第二過濾箱內安裝有第三過濾網,所述第三過濾網向所述第二過濾箱中部位置傾斜向下,所述第二過濾箱連接有排污管,所述排污管的一端貫穿所述第三過濾網的中部位置,所述排污管一端穿出所述第二過濾箱與所述第二沉淀箱連通,所述第二過濾箱的底部與所述集中過濾箱連通。
通過采用上述技術方案,第三過濾網可以過濾部分污水直接進入集中過濾箱內,排泄物和部分污水也能順利進入沉淀池中。
可選的,所述集中過濾箱的底部安裝有第四過濾網,所述集中過濾箱轉動安裝有轉軸,所述轉軸上安裝有扇葉,所述集中過濾箱內安裝有雜物收集機構。
通過采用上述技術方案,集中過濾箱內的扇葉轉動時,可以揚起集中過濾箱中的殘渣,減少殘渣堵塞第四過濾網,污水可以順利通過集中過濾箱。
可選的,所述雜物收集機構包括清理板以及驅使所述清理板往復滑動的驅動源,所述清理板開設有用于供所述轉軸和扇葉通過的讓位槽,所述雜物收集機構還包括雜物收集盒與封堵雜物收集盒的密封板,所述密封板轉動連接有滑塊,所述密封板和所述滑塊滑動于所述集中過濾箱內,所述密封板開設有用于供轉軸穿過的通孔,所述清理板上安裝有推動所述密封板的推桿,當所述密封板轉動時,所述雜物收集盒與所述集中過濾箱連通。
通過采用上述技術方案,當密封板插接于轉軸時,密封板不能轉動,如果推桿沒有推動密封板的話,密封板和滑塊穩定位于集中過濾箱內,雜物收集盒處于關閉狀態;當需要清理集中過濾箱時,推動清理板,清理板刮除集中過濾箱內的雜物,清理板推動密封板先離開轉軸,再驅使密封板與滑塊發生轉動,使雜物收集盒收集雜物。
可選的,所述滑塊背離所述轉軸的一側連接有復位彈簧。
通過采用上述技術方案,當清理板離開密封板,清理板回到初始狀態時,復位彈簧可以驅使滑塊和密封板向清理板的方向滑動,密封板重新與轉軸形成插接關系。
第二方面,本申請提供一種高效的廚衛污水處理方法,采用如下的技術方案:一種高效的廚衛污水處理方法,采用上述高效的廚衛污水處理系統進行處理,廚房污水依次經過第一過濾箱和第一沉淀箱,衛生間的污水依次經過第二過濾箱和第二沉淀箱;第一沉淀箱內的降溫設備對廚房污水進行降溫處理,使污水內的油脂凝固成塊,再將第一沉淀箱內的污水排出,通過刮油組件對第一沉淀箱內的油脂刮出收集;從第一沉淀箱和第二沉淀箱內流出的污水再統一進入集中過濾箱中再次過濾;污水從集中過濾箱流出進入生物池內分解,污水最后進入過濾消毒池中消毒。
通過采用上述技術方案,先分別對廚房和衛生間內的污水進行處理,可以對廚房污水的油脂進行初步收集,油脂在第一沉淀箱內被處理后,污水進入生物池和過濾消毒池內時的處理效率也會加快。
綜上所述,本申請包括以下至少一種有益效果:1.可以對廚房污水的油脂進行初步處理,提高了廚衛污水處理系統的油脂處理的效率;2.第一過濾箱和第一沉淀箱收集廚房產生的殘渣,第二過濾箱和第二沉淀箱收集衛生間的排泄物,因此收集后的殘渣和排泄物也能分開處理。
(發明人:許昌相;趙妙;張洪賓;張利;汪艷)






