公布日:2024.03.29
申請日:2024.02.23
分類號:C02F1/469(2023.01)I;C02F1/46(2023.01)I;C02F1/00(2023.01)I
摘要
本發明涉及污水處理領域,尤其涉及一種工業污水高濃鹽水高效處理裝置,包括罩殼,所述罩殼的上端靠近兩側邊緣處分別貫穿鑲嵌有兩個電極板,所述電極板伸入罩殼的內部,所述罩殼的內部兩個電極板之間均勻排布有多個離子交換膜,所述罩殼的內側中部安裝有阻流件,所述電極板的兩側均貼合安裝有鏟板,所述罩殼的上端貫穿鑲嵌有導殼,所述鏟板與導殼彈性連接,所述罩殼的后端安裝有氣推件,所述氣推件與導殼相連通。本發明降低了工人的勞動強度,提高了工作效率,還提高了對污水的處理效果,同時保證了處理操作的正常進行以及濾網的良好透水性。

權利要求書
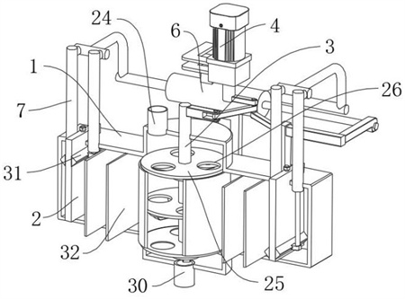
1.一種工業污水高濃鹽水高效處理裝置,包括罩殼(1),所述罩殼(1)的上端靠近兩側邊緣處分別貫穿鑲嵌有兩個電極板(2),所述電極板(2)伸入罩殼(1)的內部,所述罩殼(1)的內部兩個電極板(2)之間均勻排布有多個離子交換膜(32),其特征在于:所述罩殼(1)的內側中部安裝有阻流件,所述電極板(2)的兩側均貼合安裝有鏟板(31),所述罩殼(1)的上端貫穿鑲嵌有導殼(7),所述鏟板(31)與導殼(7)彈性連接,所述罩殼(1)的后端安裝有氣推件,所述氣推件與導殼(7)相連通;所述氣推件包括固定安裝在罩殼(1)的后端的固殼架(8),所述固殼架(8)的上端固定安裝有氣殼(6),所述氣殼(6)的一端同軸固定連通有二號連通管(10),所述氣殼(6)的后端邊緣處固定連通有一號連通管(9),所述一號連通管(9)的端部與二號連通管(10)的端部均固定連通有氣管(15),所述氣管(15)的端部與導殼(7)的上端部固定連通;所述氣殼(6)的內部貼合安裝有一號活塞(16),所述一號活塞(16)的側面同軸延伸有頂桿(11),所述頂桿(11)從氣殼(6)的另一端貫穿出,所述頂桿(11)與氣殼(6)相貼緊,所述頂桿(11)的端部固定安裝有連固架(12),所述連固架(12)的端部固定安裝有推動架(13),所述推動架(13)的外表面貼合安裝有導向座(14),所述導向座(14)的下端固定于罩殼(1)上;所述氣殼(6)的上端固定安裝有電機架(5),所述電機架(5)的端部固定安裝有伺服電機(4),所述伺服電機(4)的輸出端固定安裝有推座(17),所述推座(17)的端部貫穿轉動安裝有一號連接軸(18),所述一號連接軸(18)的下端部鑲嵌有一號連桿(19),所述推動架(13)的端部貫穿轉動安裝有二號連接軸(20),所述一號連桿(19)的端部鑲嵌于二號連接軸(20)的外表面;所述阻流件包括線性陣列鑲嵌在罩殼(1)的內側中部的多個擋盤(25),所述擋盤(25)的上端面環形陣列貫穿開設有多個通孔(26),相鄰兩個所述擋盤(25)上的通孔(26)呈錯位設置,位于底部的所述擋盤(25)上的通孔(26)的內部固定安裝有濾網(27);所述擋盤(25)的上端中部貫穿轉動安裝有承載軸(3),所述承載軸(3)從罩殼(1)的上端貫穿出,所述承載軸(3)與罩殼(1)轉動配合,所述承載軸(3)的外表面環形陣列固定安裝有多個固定架(29),所述固定架(29)的端部固定安裝有擋蓋(28),所述擋蓋(28)貼合于擋盤(25)的下端,所述承載軸(3)的上端部固定安裝有擺架(22),所述擺架(22)的端部貫穿轉動安裝有三號連接軸(23),所述三號連接軸(23)的外表面與一號連接軸(18)的外表面之間鑲嵌有二號連桿(21),位于所述罩殼(1)中部的兩個離子交換膜(32)呈圓弧設置,所述罩殼(1)中部的兩個離子交換膜(32)貼合包裹于擋盤(25)的兩側。
2.根據權利要求1所述的一種工業污水高濃鹽水高效處理裝置,其特征在于:所述罩殼(1)的上端靠近中部貫穿鑲嵌有出水管(24),所述罩殼(1)的下端中部貫穿鑲嵌有進水管(30),所述導殼(7)的內部貼合安裝有二號活塞(33),所述二號活塞(33)的下端同軸固定安裝有桿體(34),所述桿體(34)從導殼(7)的下端貫穿出。
3.根據權利要求2所述的一種工業污水高濃鹽水高效處理裝置,其特征在于:所述桿體(34)與導殼(7)相貼緊,所述桿體(34)的下端部固定安裝有連接耳(36),所述連接耳(36)的端部與鏟板(31)的側面中部相固定,所述桿體(34)的外側纏繞有彈簧體(35),所述彈簧體(35)的上端與二號活塞(33)的下端相固定,所述彈簧體(35)的下端與導殼(7)的內部底面相固定。
發明內容
本發明的目的是為了解決背景技術中存在的缺點,而提出的一種工業污水高濃鹽水高效處理裝置。
為達到以上目的,本發明采用的技術方案為:一種工業污水高濃鹽水高效處理裝置,包括罩殼,所述罩殼的上端靠近兩側邊緣處分別貫穿鑲嵌有兩個電極板,所述電極板伸入罩殼的內部,所述罩殼的內部兩個電極板之間均勻排布有多個離子交換膜,所述罩殼的內側中部安裝有阻流件,所述電極板的兩側均貼合安裝有鏟板,所述罩殼的上端貫穿鑲嵌有導殼,所述鏟板與導殼彈性連接,所述罩殼的后端安裝有氣推件,所述氣推件與導殼相連通。
優選的,所述罩殼的上端靠近中部貫穿鑲嵌有出水管,所述罩殼的下端中部貫穿鑲嵌有進水管,所述導殼的內部貼合安裝有二號活塞,所述二號活塞的下端同軸固定安裝有桿體,所述桿體從導殼的下端貫穿出。
優選的,所述桿體與導殼相貼緊,所述桿體的下端部固定安裝有連接耳,所述連接耳的端部與鏟板的側面中部相固定,所述桿體的外側纏繞有彈簧體,所述彈簧體的上端與二號活塞的下端相固定,所述彈簧體的下端與導殼的內部底面相固定。
優選的,所述氣推件包括固定安裝在罩殼的后端的固殼架,所述固殼架的上端固定安裝有氣殼,所述氣殼的一端同軸固定連通有二號連通管,所述氣殼的后端邊緣處固定連通有一號連通管,所述一號連通管的端部與二號連通管的端部均固定連通有氣管,所述氣管的端部與導殼的上端部固定連通。
優選的,所述氣殼的內部貼合安裝有一號活塞,所述一號活塞的側面同軸延伸有頂桿,所述頂桿從氣殼的另一端貫穿出,所述頂桿與氣殼相貼緊,所述頂桿的端部固定安裝有連固架,所述連固架的端部固定安裝有推動架,所述推動架的外表面貼合安裝有導向座,所述導向座的下端固定于罩殼上。
優選的,所述氣殼的上端固定安裝有電機架,所述電機架的端部固定安裝有伺服電機,所述伺服電機的輸出端固定安裝有推座,所述推座的端部貫穿轉動安裝有一號連接軸,所述一號連接軸的下端部鑲嵌有一號連桿,所述推動架的端部貫穿轉動安裝有二號連接軸,所述一號連桿的端部鑲嵌于二號連接軸的外表面。
優選的,所述阻流件包括線性陣列鑲嵌在罩殼的內側中部的多個擋盤,所述擋盤的上端面環形陣列貫穿開設有多個通孔,相鄰兩個所述擋盤上的通孔呈錯位設置,位于底部的所述擋盤上的通孔的內部固定安裝有濾網。
優選的,所述擋盤的上端中部貫穿轉動安裝有承載軸,所述承載軸從罩殼的上端貫穿出,所述承載軸與罩殼轉動配合,所述承載軸的外表面環形陣列固定安裝有多個固定架,所述固定架的端部固定安裝有擋蓋,所述擋蓋貼合于擋盤的下端,所述承載軸的上端部固定安裝有擺架,所述擺架的端部貫穿轉動安裝有三號連接軸,所述三號連接軸的外表面與一號連接軸的外表面之間鑲嵌有二號連桿,位于所述罩殼中部的兩個離子交換膜呈圓弧設置,所述罩殼中部的兩個離子交換膜貼合包裹于擋盤的兩側。
與現有技術相比,本發明具有以下有益效果:
1、利用轉動的推座能夠帶動一號連桿運動,進而帶動推動架于導向座中直線往復滑動,此時頂桿上的一號活塞受推動架的帶動而于氣殼中滑動,以將氣殼內的氣體推入導殼中,使導殼內的二號活塞在氣體的推動下下移,進而帶動桿體上的鏟板下移,以于電極板的表面滑動,以將結垢的雜質清理下,其過程無需頻繁停機進行清理,以此有效的降低了工人的勞動強度,提高了工作效率。
2、且當推座在帶動鏟板運動的過程中還會帶動二號連桿運動,進而帶動承載軸上的擺架往復擺動,讓承載軸上的擋蓋能夠不斷對通孔進行封堵,以減緩向上流動的速度,此時在相鄰兩個擋盤上的通孔呈錯位設置的作用下,能夠對污水進行導流,以進一步減緩向上流動的速度,讓水中陰陽離子在電場作用下能夠有足夠時間向正負兩極遷移,使水與鹽能夠充分分離,以此提高對污水的處理效果。
3、且在濾網的作用下,能夠將水中的固體雜質攔截,以避免污染離子交換膜而影響對污水的處理,以此保證處理操作的正常進行,且當擋蓋在往復擺動對通孔進行封堵時還會起到對濾網進行清刮的作用,以將被濾網所攔截的固體雜質刮下,以此保證濾網的良好透水性。
(發明人:馮赟;李小剛;賈讓平;王俊曉;李桂保;朱云飛;岳愛欣;李超;朱偉;董立權;谷云松)






