公布日:2023.10.13
申請日:2023.08.17
分類號:C02F1/52(2023.01)I;C02F1/00(2023.01)I;C02F103/10(2006.01)N
摘要
本發明提供一種礦山廢水處理系統,包括殼體,所述殼體的前端、中部以及尾端分別設有兩個前端沉淀室、中部沉淀室以及尾端沉淀室,所述兩個前端沉淀室之間設有兩個絮凝沉淀室,所述兩個前端沉淀室的頂部與對應絮凝沉淀室之間通過排水口連通,所述絮凝沉淀室的頂部設有延伸至中部沉淀室底部的排水管,所述兩個絮凝沉淀室內安裝有攪拌機構,兩個絮凝沉淀室和兩個前端沉淀室的底部均安裝有沉淀排出機構,所述中部沉淀室的中間位置固定連接有支撐板。該系統占地面積小,安裝靈活,并且通過設置前端沉淀室、絮凝沉淀室、中部沉淀室以及尾端沉淀室,尾礦水可經過多道沉淀過程,可連續性處理,處理效果好。

權利要求書
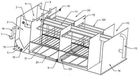
1.一種礦山廢水處理系統,包括殼體(14),其特征在于,所述殼體(14)的前端、中部以及尾端分別設有兩個前端沉淀室(2)、中部沉淀室(24)以及尾端沉淀室(12),所述兩個前端沉淀室(2)之間設有兩個絮凝沉淀室(4),所述兩個前端沉淀室(2)的頂部與對應絮凝沉淀室(4)之間通過排水口(3)連通,所述絮凝沉淀室(4)的頂部設有延伸至中部沉淀室(24)底部的排水管(6),所述兩個絮凝沉淀室(4)內安裝有攪拌機構,兩個絮凝沉淀室(4)和兩個前端沉淀室(2)的底部均安裝有沉淀排出機構,所述中部沉淀室(24)的中間位置固定連接有支撐板(15),中部沉淀室(24)位于支撐板(15)兩側均固定連接有水平設置的支撐架(17),所述支撐架(17)上固定安裝有斜板沉淀組件(7),所述中部沉淀室(24)的底部布設有反沖洗氣管(81),所述支撐板(15)上位于斜板沉淀組件(7)的上方布設有反沖洗水管(101),所述中部沉淀室(24)的底部還安裝有底泥排出機構,中部沉淀室(24)的頂部沿其長度方向架設有延伸至尾端沉淀室(12)的出水堰板(11)。
2.根據權利要求1所述的一種礦山廢水處理系統,其特征在于,所述殼體(14)的前側固定安裝有進水管(1),所述進水管(1)上與前端沉淀室(2)之間連接有進水支管(19),所述進水支管(19)的出水端低于排水口(3)。
3.根據權利要求2所述的一種礦山廢水處理系統,其特征在于,所述攪拌機構包括設置在絮凝沉淀室(4)頂部的安裝口(20),所述安裝口(20)內固定安裝有安裝架(21),所述安裝架(21)上安裝有電機(22),所述電機(22)的輸出端延伸至對應絮凝沉淀室(4)內并固定安裝有攪拌器(23)。
4.根據權利要求3所述的一種礦山廢水處理系統,其特征在于,所述沉淀排出機構包括安裝在前端沉淀室(2)以及絮凝沉淀室(4)內的匯集斗(5),所述殼體(14)的兩側均設有連通對應前端沉淀室(2)底部匯集斗(5)的第一排泥管(18),所述殼體(1)的前端底部設有連通對應絮凝沉淀室(4)底部匯集斗(5)的第二排泥管(16)。
5.根據權利要求4所述的一種礦山廢水處理系統,其特征在于,所述反沖洗氣管(81)的頂部設有多個出氣孔,所述殼體(14)的后側安裝有延伸至中部沉淀室(24)內的進氣總管(8),所述進氣總管(8)與均布的反沖洗氣管(81)連接,所述進氣總管(8)外接高壓氣泵。
6.根據權利要求5所述的一種礦山廢水處理系統,其特征在于,所述殼體(14)的后側安裝有延伸至中部沉淀室(24)內的沖洗管(10),所述沖洗管(10)與布設的反沖洗水管(101)連接,所述反沖洗水管(101)的底部設有多個沖洗孔,所述沖洗管(10)外接水泵。
7.根據權利要求6所述的一種礦山廢水處理系統,其特征在于,所述底泥排出機構包括一對第三排泥管(9),所述支撐板(15)的底部設有適配一對排泥管(9)的放置口(151),所述一對排泥管(9)分別從殼體(14)的兩側延伸出,所述中部沉淀室(24)的底部傾斜設置,所述第一排泥管(18)、第二排泥管(16)和第三排泥管(9)均外接吸污泵。
8.根據權利要求7所述的一種礦山廢水處理系統,其特征在于,還包括可控制進水管(1)、電機(22)、第一排泥管(18)、第二排泥管(16)、第三排泥管(9)、進氣總管(8)以及沖洗管(10)的控制機構。
9.根據權利要求8所述的一種礦山廢水處理系統,其特征在于,所述控制機構包括PLC控制箱,所述進水管(1)、第一排泥管(18)、第二排泥管(16)、第三排泥管(9)、進氣總管(8)以及沖洗管(10)內均安裝有電磁閥,所述電磁閥與PLC控制箱電性連接,所述電機(22)、高壓氣泵、吸污泵以及水泵均與PLC控制箱電性連接。
10.根據權利要求1所述的一種礦山廢水處理系統,其特征在于,所述殼體(14)的尾端固定安裝有連通尾端沉淀室(12)的出水管(13),所述尾端沉淀室(12)的頂部還設有連接出水管(13)的溢流管。
發明內容
針對上述問題,本發明提供一種礦山廢水處理系統,該系統占地面積小,安裝靈活,并且通過設置前端沉淀室、絮凝沉淀室、中部沉淀室以及尾端沉淀室,尾礦水可經過多道沉淀過程,可連續性處理,處理效果好。
為解決上述問題,本發明所采用的技術方案是:
一種礦山廢水處理系統,包括殼體,所述殼體的前端、中部以及尾端分別設有兩個前端沉淀室、中部沉淀室以及尾端沉淀室,所述兩個前端沉淀室之間設有兩個絮凝沉淀室,所述兩個前端沉淀室的頂部與對應絮凝沉淀室之間通過排水口連通,所述絮凝沉淀室的頂部設有延伸至中部沉淀室底部的排水管,所述兩個絮凝沉淀室內安裝有攪拌機構,兩個絮凝沉淀室和兩個前端沉淀室的底部均安裝有沉淀排出機構,所述中部沉淀室的中間位置固定連接有支撐板,中部沉淀室位于支撐板兩側均固定連接有水平設置的支撐架,所述支撐架上固定安裝有斜板沉淀組件,所述中部沉淀室的底部布設有反沖洗氣管,所述支撐板上位于斜板沉淀組件的上方布設有反沖洗水管,所述中部沉淀室的底部還安裝有底泥排出機構,中部沉淀室的頂部沿其長度方向架設有延伸至尾端沉淀室的出水堰板。
優選地,所述殼體的前側固定安裝有進水管,所述進水管上與前端沉淀室之間連接有進水支管,所述進水支管的出水端低于排水口。
優選地,所述攪拌機構包括設置在絮凝沉淀室頂部的安裝口,所述安裝口內固定安裝有安裝架,所述安裝架上安裝有電機,所述電機的輸出端延伸至對應絮凝沉淀室內并固定安裝有攪拌器。
優選地,所述沉淀排出機構包括安裝在前端沉淀室以及絮凝沉淀室內的匯集斗,所述殼體的兩側均設有連通對應前端沉淀室底部匯集斗的第一排泥管,所述殼體的前端底部設有連通對應絮凝沉淀室底部匯集斗的第二排泥管。
優選地,所述反沖洗氣管的頂部設有多個出氣孔,所述殼體的后側安裝有延伸至中部沉淀室內的進氣總管,所述進氣總管與均布的反沖洗氣管連接,所述進氣總管外接高壓氣泵。
優選地,所述殼體的后側安裝有延伸至中部沉淀室內的沖洗管,所述沖洗管與布設的反沖洗水管連接,所述反沖洗水管的底部設有多個沖洗孔,所述沖洗管外接水泵。
優選地,所述底泥排出機構包括一對第三排泥管,所述支撐板的底部設有適配一對排泥管的放置口,所述一對排泥管分別從殼體的兩側延伸出,所述中部沉淀室的底部傾斜設置,所述第一排泥管、第二排泥管和第三排泥管均外接吸污泵。
優選地,還包括可控制進水管、電機、第一排泥管、第二排泥管、第三排泥管、進氣總管以及沖洗管的控制機構。
優選地,所述控制機構包括PLC控制箱,所述進水管、第一排泥管、第二排泥管、第三排泥管、進氣總管以及沖洗管內均安裝有電磁閥,所述電磁閥與PLC控制箱電性連接,所述電機、高壓氣泵、吸污泵以及水泵均與PLC控制箱電性連接。
優選地,所述殼體的尾端固定安裝有連通尾端沉淀室的出水管,所述尾端沉淀室的頂部還設有連接出水管的溢流管。
本發明的有益效果為:
1.本系統整體集成在殼體內,便于裝運,也便于現場安裝,可地上或者地下安裝,安裝靈活,整體占地面積小,便于回收,投資小。
2.通過安裝兩個前端沉淀室、兩個絮凝沉淀室、中間沉淀室以及尾端沉淀室,尾礦水可經過多道沉淀處理后排出,大大提高處理效果,尾礦水先進入前端沉淀室內沉淀,隨著污水不斷注入,水位上漲,通過進水口進入絮凝沉淀室內,通過投放絮凝劑配合攪拌機構攪拌,再次沉淀,通過沉淀排出機構將沉淀排出,隨著水位上漲,通過排水管進入中部沉淀室內,經過斜板沉淀組件再次沉淀,底泥通過底泥排出機構排出,處理后的水位上漲,通過出水堰板排入尾端沉淀室,經過最終沉淀達到排放標準后通過出水管排出,可實現連續性處理過程。
3.通過安裝反沖洗氣管以及反沖洗水管,可定時啟動高壓氣泵,通過氣管向反沖洗氣管內泵氣,再通過多個出氣孔進入中部沉淀室內,上升的氣泡可作用于斜板,對斜板進行第一次清理,再啟動水泵,通過沖洗管向反沖洗水管內泵水,再通過多個出水孔排出,沖洗斜板,進行第二次清理,除去剩余污泥。
4.通過設置控制機構,可通過PLC控制器定時控制進水管1的進水,沉淀排出機構的啟動,底泥排出機構的啟動,反沖洗氣管以及反沖洗水管的啟動,實現自動化控制。
(發明人:高豐;左春林)






