公布日:2023.10.20
申請日:2023.07.20
分類號:C02F9/00(2023.01)I;C02F1/24(2023.01)N;C02F1/04(2023.01)N;C02F103/16(2006.01)N
摘要
本涉及廢水處理技術領域,且公開了一種電鍍廢水處理系統及工藝,包括分離機構,所述分離機構的頂部設置有用于帶動刮板往復移動的驅動機構,所述分離機構的前側設置有用于分離微小金屬的蒸發機構,所述蒸發機構包括能夠旋轉的蒸發筒,所述蒸發筒的頂部設置有用于通入高溫蒸汽的進料管。該電鍍廢水處理系統及工藝,通過設有分離機構,能夠先將電鍍廢水中的油、微小懸浮物和微小金屬分離出來,然后再通過將高溫蒸汽通入蒸發筒內能夠對分離出來的油、微小懸浮物和微小金屬進行再次分離,從而能夠將其中的微小金屬單獨地分離出來,通過設有能夠旋轉蒸發筒,能夠提高蒸發的效率,并且解決了微小金屬不易分離的問題,使用起來更加方便。

權利要求書
1.一種電鍍廢水處理系統及工藝,包括分離機構,所述分離機構的頂部設置有用于帶動刮板往復移動的驅動機構,其特征在于,所述分離機構的前側設置有用于分離微小金屬的蒸發機構,所述蒸發機構包括能夠旋轉的蒸發筒,所述蒸發筒的頂部設置有用于通入高溫蒸汽的進料管。
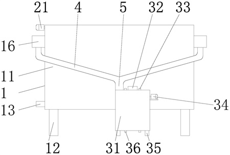
2.根據權利要求1所述的電鍍廢水處理系統及工藝,其特征在于,所述分離機構包括分離箱,所述分離箱的內部下側嵌入有曝氣箱,所述曝氣箱的頂部開設有若干個與分離箱相連通的出氣孔,所述曝氣箱的一側固定連接有進氣管,所述進氣管的一端貫穿分離箱且與外部的氣源相連通,所述分離箱的兩側均固定連接有收集槽,所述分離箱的下表面固定連接有分離箱支撐腿。
3.根據權利要求1所述的電鍍廢水處理系統及工藝,其特征在于,所述驅動機構包括固定安裝在分離箱一側的第一驅動電機,所述分離箱的內壁前后兩側均開設有滑槽,所述滑槽的內部轉動連接有雙向螺紋桿,所述雙向螺紋桿的任一端與第一驅動電機的輸出軸固定連接。
4.根據權利要求3所述的電鍍廢水處理系統及工藝,其特征在于,所述雙向螺紋桿上螺紋連接有連接塊,兩個所述連接塊之間固定連接有一個安裝板,所述安裝板上螺紋連接有多個螺紋柱,位于所述安裝板下方的螺紋柱的一端轉動連接有刮板。
5.根據權利要求1所述的電鍍廢水處理系統及工藝,其特征在于,所述蒸發機構還包括蒸發箱,所述蒸發筒的數量為兩個,兩個所述蒸發筒均轉動連接在蒸發箱的內部,所述進料管固定連接在蒸發筒的上表面,所述進料管上固定連接有蝸輪,所述蒸發箱的內部轉動連接有用于帶動蝸輪旋轉的蝸桿,所述蝸桿的任一端與第二驅動電機的輸出軸固定連接,所述第二驅動電機固定安裝在蒸發箱的一側。
6.根據權利要求5所述的電鍍廢水處理系統及工藝,其特征在于,所述蒸發箱的頂部固定安裝有抽風機,所述蒸發箱的上表面開設有與抽風機相對應的出風口,所述蒸發筒的底部固定連接有與其相連通的出水管,所述出水管與蒸發箱的連接處設置有用于提高密封效果的旋轉密封圈,所述蒸發箱的下表面固定連接有蒸發箱支撐腿。
7.根據權利要求5所述的電鍍廢水處理系統及工藝,其特征在于,所述蒸發箱的上表面開設有貫穿蒸發箱的進料口,所述進料口與連接管相連通,所述連接管的頂部與兩個引流管的一端相連通,兩個所述引流管的另一端分別與兩個收集槽相連通。
發明內容
本發明專利的目的在于提供一種電鍍廢水處理系統及工藝,以解決上述背景技術中提出的問題。
本申請實施例采用下述技術方案:
一種電鍍廢水處理系統及工藝,包括分離機構,所述分離機構的頂部設置有用于帶動刮板往復移動的驅動機構,所述分離機構的前側設置有用于分離微小金屬的蒸發機構,所述蒸發機構包括能夠旋轉的蒸發筒,所述蒸發筒的頂部設置有用于通入高溫蒸汽的進料管。
有益效果:
本發明專利通過設有分離機構,能夠先將電鍍廢水中的油、微小懸浮物和微小金屬分離出來,然后再通過將高溫蒸汽通入蒸發筒內能夠對分離出來的油、微小懸浮物和微小金屬進行再次分離,從而能夠將其中的微小金屬單獨地分離出來,通過設有能夠旋轉蒸發筒,能夠提高蒸發的效率,并且解決了微小金屬不易分離的問題,使用起來更加方便,并且能夠提高廢物的利用率。
優選的,所述分離機構包括分離箱,所述分離箱的內部下側嵌入有曝氣箱,所述曝氣箱的頂部開設有若干個與分離箱相連通的出氣孔,所述曝氣箱的一側固定連接有進氣管,所述進氣管的一端貫穿分離箱且與外部的氣源相連通,所述分離箱的兩側均固定連接有收集槽,所述分離箱的下表面固定連接有分離箱支撐腿。
優選的,所述驅動機構包括固定安裝在分離箱一側的第一驅動電機,所述分離箱的內壁前后兩側均開設有滑槽,所述滑槽的內部轉動連接有雙向螺紋桿,所述雙向螺紋桿的任一端與第一驅動電機的輸出軸固定連接。
優選的,所述雙向螺紋桿上螺紋連接有連接塊,兩個所述連接塊之間固定連接有一個安裝板,所述安裝板上螺紋連接有多個螺紋柱,位于所述安裝板下方的螺紋柱的一端轉動連接有刮板。
優選的,所述蒸發機構還包括蒸發箱,所述蒸發筒的數量為兩個,兩個所述蒸發筒均轉動連接在蒸發箱的內部,所述進料管固定連接在蒸發筒的上表面,所述進料管的一端與外部的高溫蒸汽發生器相連通,所述進料管上固定連接有蝸輪,所述蒸發箱的內部轉動連接有用于帶動蝸輪旋轉的蝸桿,所述蝸桿的任一端與第二驅動電機的輸出軸固定連接,所述第二驅動電機固定安裝在蒸發箱的一側。
優選的,所述蒸發箱的頂部固定安裝有抽風機,所述蒸發箱的上表面開設有與抽風機相對應的出風口,所述蒸發筒的底部固定連接有與其相連通的出水管,所述出水管與蒸發箱的連接處設置有用于提高密封效果的旋轉密封圈,所述蒸發箱的下表面固定連接有蒸發箱支撐腿。
優選的,所述蒸發箱的上表面開設有貫穿蒸發箱的進料口,所述進料口與連接管相連通,所述連接管的頂部與兩個引流管的一端相連通,兩個所述引流管的另一端分別與兩個收集槽相連通。
(發明人:王彥堂;周明;朱麗莎)






