工業飛速發展使廢水中有機物種類越來越多、 治理難度大、 色度高、 濃度高且難降解,其中染料廢水已成為國內外水處理的研究熱點[1, 2, 3]. 被稱為“環境友好”技術的電化學氧化法(electrochemical oxidation process,EOP)是近年逐漸發展的一種處理難降解有機污染物的水處理技術,可以使污染物在電極上發生直接電化學反應或間接電化學轉化,使難降解的有機物在常溫常壓下分解,達到染料脫色的目的. 但是,電化學氧化法效率低、 能耗大等缺點使得該法不能在工業領域廣泛應用[4, 5, 6, 7].
多金屬氧酸鹽(polyoxometalates,POM)是一類具有確定組成和規則結構的金屬氧簇化合物,在均相和非均相體系中,可作為性能優異的酸堿、 氧化還原或雙功能催化劑[8]. 因此,為提高間接電化學氧化技術處理效率,采用雜多酸作為催化劑來強化電解過程. 然而POM的比表面積很小(1~10 m2 ·g-1),限制了其催化性能的發揮; 同時,POM在一些極性溶劑中存在著溶解和流失的問題[9,10].
本研究選用比表面積較大、 熱穩定性較高的介孔4分子篩(4A)作為固載型POM的載體. 為提高分子篩的化學穩定性和抗酸堿能力,采用偶聯劑對4A進行化學修飾. 將Keggin結構的磷鉬酸鐵(iron phosphomolybdate,FePMo12)負載于修飾后的載體上制備FePMo12/APTES-4A催化劑,將其填充于電化學反應器中,研究催化劑強化電化學氧化法降解染料廢水的處理效果,考察各因素對體系脫色效果的影響.
1 材料與方法
1.1 實驗材料
酸性大紅3R,分子式:C20HllN2 O10S3 ·3Na,工業純,天津一商化工貿易有限公司染料分公司生產; 3-氨丙基三乙氧基硅烷(APTES),分子式:H2NCH2CH2CH2 Si(OC2H5)3,分析純,上海楷洋生物技術有限公司; 4Å分子篩(4A),有效孔徑為0.4 nm,天津市永大化學試劑有限公司; 磷鉬酸(H3PMo12O40 ·xH2 O,PMo12),分析純,天津市大茂化學試劑廠; H2 SO4,分析純,石家莊華迪化工工貿有限公司; NaOH,分析純,天津市永大化學試劑有限公司.
1.2 FePMo12/APTES-4A催化劑的制備
稱取11.3 g磷鉬酸,溶于90℃的50 mL熱水中,攪拌條件下,加入2.02 g溶于少量熱水的硝酸鐵,20 g溶于20 mL熱水的乙酸鉀,混合物90℃維持2 min,過濾,冷卻到60℃,攪拌條件下加等體積甲醇,5℃放置24 h,析出的晶體用最少量的熱水重結晶3次,55℃干燥,得FePMo12備用.
取50 g預處理后的4A分散在50 mL甲苯中,再加入3 mL的APTES; 將此混合溶液回流且室溫攪拌12 h,倒出液體,分子篩25℃干燥,即得到經過APTES修飾的載體分子篩APTES-4A; 取上述4A 50 g分散在15 mL一定濃度的FePMo12水溶液中,控制溶液pH值在6~7之間,室溫下攪拌24 h,用80℃的蒸餾水洗滌數次,室溫下干燥,即得到負載型多金屬氧酸鹽雜化催化劑FePMo12/APTES-4A.
1.3 實驗裝置
電-多相催化氧化反應裝置,主要由聚乙烯板制成的外殼、 陰極石墨板,陽極DSA電極(兩極板間距可調),催化粒子FePMo12/APTES-4A組成. 電源電壓可調范圍為0~40 V,電流可調范圍為0~10 A,反應器底部設有曝氣孔.
1.4 實驗方法
用1 mol ·L-1的H2 SO4和NaOH來調節酸性大紅3R的初始pH值. 向反應槽內加入50 g催化劑FePMo12/APTES-4A和250 mL濃度為500 mg ·L-1的模擬酸性大紅3R染料廢水,調節電壓和電流,接通電源,打開曝氣裝置控制曝氣流量. 每隔一定時間取槽內溶液進行分析. 實驗前將床體填料在模擬染料廢水中浸泡吸附至飽和,以消除填充粒子吸附作用對脫色效果的影響.
1.5 分析方法
1.5.1 催化劑的表征
采用KBr壓片,Nicolet6700/FT-Raman modules紅外光譜分析儀在500~4000 cm-1范圍內測定透光率. 日本Rigaku-D/Max-2500型X-射線粉末衍射儀測定,Cu靶,步長0.02,管電壓40 kV,管電流100 mA,2θ測定范圍: 0.5°~100°.
1.5.2 水樣分析
模擬的染料廢水pH采用雷磁pHS-3C pH計測定; 吸光度采用Vis-7220型可見-紫外分光光度計測定. 用UV2600在400~700 nm波長下對酸性大紅3R的吸光度進行光譜掃描,確定酸性大紅3R的最大吸收波長為507 nm,再用分光光度計測定此波長下的吸光度. 試樣脫色率(DC)的計算公式[9]為:
DC=(A0-A)/A0 ×100% (1)
式中,A0為反應前試樣的吸光度; A是電催化反應時間為t時試樣的吸光度.
2 結果與討論
2.1 催化劑的表征
2.1.1 紅外光譜表征
標準Keggin結構PMo12有4個較為明顯的特征吸收峰:Vas(P—O):1067cm-1、 Vas(Mo O):963.97 cm-1、 Vas(Mo—Ob—Mo):870 cm-1、 Vas(Mo—Oc—Mo):810~785 cm-1.圖 1為實驗室制備的FePMo12紅外光譜圖. 分析可知,自制FePMo12中的P—O鍵振動峰由1067 cm-1紅移至1030 cm-1、 Mo—Ob—Mo鍵由870 cm-1藍移至896 cm-1、 Mo—Oc—Mo鍵也藍移至842 cm-1,Mo O斷開,與Fe形成化學鍵,即形成Mo—O—Fe鍵,振動峰變弱,所以自制FePMo12仍具有Keggin結構.

圖 1 FePMo12的紅外光譜圖
2.1.2 X-射線衍射表征
通過X-射線衍射可以定性地判斷雜多酸的結構類型. Keggin型雜多酸陰離子的3個特征峰出現在7°~10°、 16°~22°、 25°~30°范圍處. 圖 2(a)為空白樣品的X-射線衍射譜,圖 2(b)為FePMo12/APTES-4A的X-射線衍射譜. 分析可知,在9.7°、 20.3°、 29.0°處分別出現3個特征峰,恰符合Keggin結構特征衍射峰特性,因此負載后的雜多酸較好地保留了Keggin形態.

圖 2 FePMo12/APTES-4A的XRD圖譜
2.2 體系中各因素對酸性大紅3R脫色的影響
2.2.1 FePMo12負載量的影響
FePMo12負載量對電催化效果的影響如圖 3所示. 考察了電解時間為60 min時,活性組分負載量對脫色效果的影響. 從中可以看出無FePMo12負載時,色度去除率最低,說明活性組分FePMo12在電化學體系中起到了催化降解有機污染物的作用. 負載量為3%的催化劑,色度去除率最高. 負載量較低的時候,催化劑的活性組分較少,催化性能較弱; 當負載量超過3%時,影響FePMo12在4A內的分散度,降低催化活性[10]. 因此,選擇活性組分負載量為3%的催化劑進行實驗.

圖 3 FePMo12負載量對電催化效果的影響
2.2.2 電解時間的影響
電解時間決定了氧化還原等作用時間的長短,時間越長,氧化還原等作用也進行得越徹底[10]. 由圖 4可以看出電解時間越長,脫色效果越好. 隨著氧化時間的延長,在90 min前,脫色率增長較快; 90 min后,脫色率增長不明顯. 在反應初始的一段時間內體系中酸性大紅3R溶液濃度較高,有機物大分子在外加電壓的作用下迅速擴散到電極和催化劑表面并發生反應,所以在反應的初始階段,脫色率隨反應時間延長而增大; 當酸性大紅3R溶液濃度變低時,單位時間內擴散到電極表面的酸性大紅3R減少,所以隨著電解時間的延長曲線趨于平緩. 確定電解時間為90 min.

圖 4 電解時間對體系色度去除效果的影響
2.2.3 槽電壓的影響
在電解反應中,外加電壓是電解反應的動力源,外加電壓直接影響染料廢水的脫色效果[11]. 槽電壓對酸性大紅3R的脫色效果的影響如圖 5所示. 當槽電壓從16 V增加到22 V時,色度去除率從38.1%提高到72.1%; 隨著槽電壓的繼續增大,脫色率卻有所降低. 在電催化體系中,電極表面電位和FePMo12/APTES-4A的電極電位與目標污染物的電位差是電催化反應的推動力,電位差越大,電催化反應越徹底; 可是,隨著外加電壓的增加,陽極析氧副反應明顯增加,副反應產生的氧氣,吸附在電極表面,形成小氣泡,不但阻礙了電極表面對有機物的吸附降解,而且影響羥基自由基產生,進而影響了有機物的去除率; 過高的電壓會增加電催化反應的能耗[12,13]. 因此,選擇22 V為最適槽電壓.

圖 5 槽電壓對體系色度去除率的影響
2.2.4 初始pH值對電催化效果的影響
體系中pH值是影響電催化效果的重要因素之一,溶液pH值的改變將使電極表面的電荷以及氧化還原電位發生變化. 初始pH值對電催化效果的影響如圖 6所示. 酸性條件下的脫色率優于堿性條件. 當染料廢水的初始pH值為4時,色度去除率達到最大值. 多金屬氧酸鹽在不同pH的溶液中,能逐級分解成為一個或多個電子受體的雜多藍,不同結構的雜多藍對有機物的去除率效果不同. 當體系處于中性和堿性條件下,脫色效果不顯著,這是因為Keggin型雜多藍在溶液中沒有發生質子化. PMo12O3-40的還原電位依賴pH值,隨著pH的降低氧化還原電位正移,當pH值為4時,此時PMo12O3-40的雜多藍發生高效的氧化還原反應,使得色度去除率達到最大值. 在酸性條件下,Fe3+亦可能發生類Fenton反應,提高脫色效果. 但是在強酸下電極基體很容易鈍化,從而使其催化性能下降,影響陽極電極的壽命[14,15]. 所以,確定最適pH值為4.

圖 6 初始pH值對體系色度去除率的影響
2.2.5 曝氣量對電催化效果的影響
圖 7為曝氣量對電催化效果的影響. 可以看出,隨著曝氣量的逐漸增大,色度的去除率也逐漸增加; 當曝氣量大于0.08m3 ·h-1時,色度去除率出現下降趨勢. 當曝氣量逐漸增加時,溶解氧在陰極表面發生間接氧化反應,方程式如下:
O2+2H++2e-→H2 O2 (2)
生成H2 O2有利于有機物的氧化降解過程,加速有機物礦化[16,17]; 并且PMo12中具有的最高氧化態配位原子Mo,其還原態可被分子態O2可逆地氧化到氧化態并保持結構骨架不變,強化了催化劑氧化還原能力. 當曝氣量過大時,目標污染物來不及與活性位點反應,不利于污染物的氧化. 所以,最佳曝氣量為0.08m3 ·h-1.

圖 7 曝氣量對體系色度去除率的影響
2.2.6 極板間距對電催化效果的影響
極板間距對電催化效果的影響如圖 8所示. 當極板間距從2.0 cm增加到3.0 cm時,色度去除率升高,當極板間距為3.0 cm時,色度去除率達到最大值75.3%. 當極板間距增加到3.5 cm和4.0 cm時,色度去除率則出現下降現象. 極板間距過大,反應體系的電阻隨之增大,隨著極板間距減小,相應縮短了對流、 擴散傳質的距離,增大了傳質的濃度梯度,強化了傳質效果. 但間距過小會使體系溫度過高,加劇副反應[18,19]. 因此,選擇最適的極板間距為3.0 cm.

圖 8 極板間距對體系色度去除率的影響
2.2.7 支持電解質對電催化效果的影響
電化學體系中加入支持電解質可以提高溶液的導電性,促進電子的轉移,進而提高色度去除率[20, 21, 22]. 圖 9為不同支持電解質濃度對酸性大紅3R染料電催化效果的影響. 從中可以看出,色度去除率隨著兩種支持電解質NaCl和Na2SO4濃度的增大而先提高后降低. 當NaCl為支持電解質,NaCl濃度從0.01mol ·L-1增加到0.04mol ·L-1時,色度去除率從74.6%增加到90.5%. 當NaCl濃度為0.05mol ·L-1時,色度去除率達到最大為95.3%; 當NaCl濃度大于0.05mol ·L-1時,色度去除率出現下降趨勢. 在Na2SO4為支持電解質時,Na2SO4濃度為0.04mol ·L-1時色度去除率達到最大為42.5%,當Na2SO4濃度大于0.04mol ·L-1時,色度去除率出現下降趨勢.
支持電解質NaCl和Na2SO4對電催化效果的影響差別很大,用NaCl為支持電解質時的色度去除率明顯高于用Na2SO4作為支持電解質的色度去除率,主要是NaCl為支持電解質時,體系中生成HOCl加速酸性大紅3R的降解,提高脫色率.
陽極上發生電化學反應:
2Cl-→Cl2+2e- (3)
陰極發生的電化學反應:
2H2 O+2e-→H2+2OH- (4)
體系中發生的電化學反應:
Cl2+H2 O→HOCl+H++Cl- (5)
以Na2SO4為支持電解質時,SO2-4在體系中形成負鹽效應,隨著Na2SO4濃度增加,增加了電荷的屏蔽作用,降低了Fe3+和PMo12O3-40在溶液中的活度,所以色度去除率顯著低于以NaCl 為支持電解質時的電催化體系[23, 24, 25].

圖 9 電解質濃度對色度去除率的影響

圖 10 507 nm下吸光度和COD的降解曲線
2.3 紫外-可見光譜分析
在最優條件下考察電化學氧化體系對水樣COD的降解效果. 圖 10為不同時間507 nm下吸光度和COD降解曲線. 從中可以看出,當DC達到75.3%時,COD從589 mg ·L-1降至204 mg ·L-1,90 min時去除率達到65.4%. 表明隨著氧化還原反應的不斷進行,酸性大紅3R逐漸被降解.
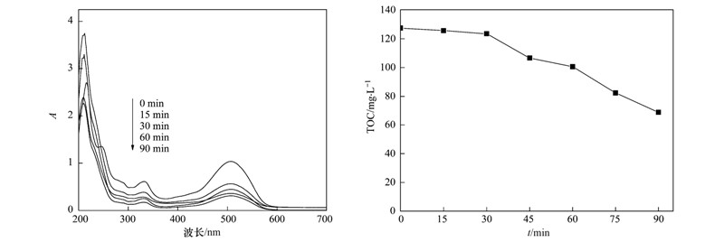
分析不同時間下的紫外-可見光譜曲線,由圖 11可以看出,200~360 nm處的吸收峰是萘環或雜環不飽和體系所引起的; 507 nm處是酸性大紅3R的特征吸收峰,該處的吸收峰是由顯色—N N—基團和萘環共軛體所引起的. 隨著氧化還原反應的不斷進行,200~360 nm波段的吸收峰在30 min內高于初始值,可能是形成芳香胺類化合物等中間產物,而后隨著電解時間的增加逐漸降低; 507 nm處的吸收峰逐漸減弱,表明—N N—被斷開,使得脫色率不斷增加[13]. 此外,光譜中并未有其他吸收峰出現,表明酸性大紅3R降解90 min后沒有轉化為其他的大分子物質,而是有可能將其礦化為H2 O和CO2或小分子物質. 對比TOC變化曲線可以發現,TOC在30 min內降解較緩慢,主要發生的是顯色基團的斷鏈反應,生成芳香胺類化合物等中間產物; 而后隨著時間延長TOC 的去除率不斷增加,部分有機物發生了礦化,90 min后達到46.0%.具體參見污水寶商城資料或http://m.bnynw.com更多相關技術文檔。

圖 11 不同時間可見-紫外吸收光譜曲線和TOC變化曲線
3 結論
(1)采用IR,XRD方法對實驗室自制的雜多酸FePMo12進行表征,結果表明合成的雜多酸具有較好的Keggin結構.
(2)FePMo12/APTES-4A催化劑對酸性大紅3R模擬廢水有良好的脫色效果,催化粒子填充量為50 g,負載量為3%,電解時間為90 min時,在pH為4,槽電壓為22 V,曝氣量為0.08 m3 ·h-1,極板間距3.0 cm反應條件下,90 min后脫色率達到75.3%,COD和TOC去除率分別達到65.4%和46.0%. 并通過可見-紫外光譜對酸性大紅3R的中間產物分析,降解90 min后顯色基團已基本被破壞.
(3)支持電解質NaCl和Na2SO4對電催化效果的影響差別較大,NaCl濃度為0.05mol ·L-1時,色度去除率達到最大為95.3%; 在Na2SO4為支持電解質時,Na2SO4濃度為0.04mol ·L-1時色度去除率達到最大為42.5%.(來源及作者:河北科技大學環境科學與工程學院 王栗、岳琳、郭建博、楊景亮、廉靜、羅曉、王開紅)


