隨著全球經濟的發展,海洋運輸成為物流環節越來越重要的一環。船舶航行過程中產生的生活廢水對海洋環境造成嚴重的影響。為了應對這一危機,國際海事組織(IMO)于2006年10月13日正式通過了IMO.MEPC159(55)決議,該決議對“MARPOL 73/78國際防污公約”附Ⅳ有關船舶生活污水處理裝置做出了全新的、更加嚴格的要求。
和城市生活污水相比,船舶生活污水作為一種特殊的生活污水,其產生和排放受到船舶和海洋雙重環境條件的限制,二者主要區別在于:(1)船舶生活污水排泄周期較短,且船用廁所衛生器具往往直接使用海水進行沖洗,故其COD、總懸浮固體物和含鹽量均大于市政生活污水,污染負荷較高;(2)船舶生活污水的產生和排放波動性較大,流量不穩定。
污水的常用處理方法分為物化法、生化法、電化學法3種。物化法效率較低,應用較少。市政生活污水處理通常采用生化法,但應用于船舶生活污水 處理時面臨諸多難題:(1)需要專業人員長時間培養馴化細菌;(2)污水負荷大幅度變化時處理能力差;(3)裝置體積較大;(4)活性污泥容易引發惡臭等。電化學法則不存在上述問題:它直接將電流用于處理過程,避免了培養細菌;可隨時開啟電源進行處理,操作簡單方便;污水中的鹽類有利于增加電導率,減小電解能耗;不需要長時間自然沉降,避免了船舶震蕩的影響。因此,采用電化學法處理船舶生活污水具有明顯優勢。
在電化學處理法中,電絮凝操作簡單、效率高、投資小,對固體懸浮物的去除有非常好的效果,但對于可溶性有機物的去除效率較低;而電解法可高效產生強氧化性的羥基自由基等,能有效去除可溶性有機物。筆者將電絮凝技術和電解技術耦合,綜合二者的優勢實現了對船舶生活污水的高效處理,采用單因素優化方法研究了污水的電絮凝處理過程,確定了最佳操作條件,再采用電解法進行深度處理,取得了良好的處理效果。
1 實驗部分
1.1 儀器與試劑
儀器:KW-10KW大功率型直流穩壓/恒流開關電源,深圳市科安特電子有限公司;90 L箱式噴砂機,寧波市鑫歐噴砂機械設備有限公司;SX2-4-10箱式電阻爐,天津市中環實驗電爐有限公司;FE20型實驗室pH計,梅特勒-托利多儀器(上海)有限公司;78-1型磁力加熱攪拌器,金壇市富華儀器有限公司;DF-Ⅱ集熱式磁力加熱攪拌器,江蘇省金壇市榮華儀器制造有限公司; DRB200型數字式消解器,美國哈希公司;DR3900型臺式可見分光光度計,美國哈希公司。
主要試劑及材料:氫氧化鈉、草酸、五水四氯化錫、三氯化銻、硝酸鉛、硝酸銅、氟化鈉、十二烷基磺酸鈉、六水硝酸鑭、濃鹽酸、濃硝酸、正丁醇,皆為分析純。原裝HACH低量程COD消解液。30 mm× 20 mm ×1 mm 鈦板,100 mm×100 mm ×1 mm 鈦板,100 mm×100 mm ×1 mm 鐵板。
實驗所用生活廢水取自天津大學石化中心廁所下水道,加入相應量的海鹽,初始pH為8.9,COD為1 800 mg/L。
1.2 Ti/SnO2-Sb2O3/β-PbO2-La電極的制備
將含SnCl4和SbCl3的電極涂布液用毛刷均勻涂覆到經過噴砂、堿洗脫油和草酸刻蝕處理的鈦板上,經過多次干燥和煅燒之后得到Ti/SnO2-Sb2O3極板,再在其表面陽極電沉積含La的β-PbO2層,即可得自制Ti/SnO2-Sb2O3/β-PbO2-La電極。
1.3 實驗方法
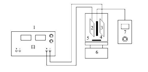
(1)電絮凝法預處理船舶生活污水。實驗裝置如圖 1所示:以鐵板作為陽極,鈦板作為陰極,陰、陽極板尺寸皆為100 mm × 100 mm × 1 mm,極板間距18 mm(無特殊說明時),轉速 1 400 r/min,放置于大燒杯中。取2 000 mL廢水加入此電絮凝裝置中進行預處理,反應一定時間后取樣,靜置后取上層清液,以其COD為考察目標。
(2)電解法深度處理船舶生活污水。實驗裝置如圖 1所示:以自制Ti/SnO2-Sb2O3 /β-PbO2-La極板作為陽極,鈦板作為陰極,陰、陽極板尺寸皆為30 mm×20 mm×1 mm,極板間距8 mm,轉速400 r/min,放置于小燒杯中。取130 g電絮凝預處理后的清液加入此電解裝置中進行深度處理,反應一定時間后取樣,以其COD為考察目標。

圖 1 電絮凝法、電解法處理船舶生活污水裝置
1.4 實驗原理
電絮凝預處理:在外加直流電作用下,陽極鐵板發生氧化反應,生成Fe2+,其與陰極還原產生的OH-發生聚合反應生成具有很強吸附能力的Fe(OH)2絮凝物,把污水中懸浮的固體物質黏附在一起而沉降;同時陰極產生的氫氣微小氣泡和電解水時陽極產生的氧氣微小氣泡也將帶動固體懸浮物上浮,從而達到分離懸浮物、凈化水質的目的。
電解深度處理:通電后,一方面吸附到陽極極板上的污染物直接被氧化,另一方面陽極生成的強氧化性羥基自由基和Cl-生成的次氯酸、次氯酸根離子等也可把污染物氧化成CO2和H2O等,從而達到消除污染物的目的。
1.5 分析方法
COD采用HJ/T 399—2007快速消解分光光度法測定。COD去除率按式(1)計算:
![]()
式中:η ——COD去除率,%;
c0——處理前的污水COD,mg/L;
ct——處理后的污水COD,mg/L。
2 結果與討論
2.1 絮凝預處理過程
2.1.1 電流密度對COD去除率的影響
在電絮凝時間為40 min、鹽度為1%、極板間距為18 mm條件下,電流密度分別取0.002 5、0.005、0.010、0.015、0.020、0.025 A/cm2,相應的COD去除率分別為46.38%、50.72%、60.14%、62.31%、63%、63.77%。可見電流密度<0.010 A/cm2時,COD去除率隨電流密度增強而增大;當電流密度>0.010 A/cm2后,COD去除率基本恒定;電流密度過大時容易導致陽極極板過度鈍化,引起其他副反應。因此,最佳電流密度選定為0.010 A/cm2。
2.1.2 電絮凝時間對COD去除率的影響
電絮凝時間對廢水COD的去除也有很大影響。在電流密度為0.010 A/cm2、鹽度1%、極板間距18 mm條件下,當電絮凝時間為10、20、30、40、50、60 min時,COD去除率依次為45.83%、52.08%、56.25%、60%、61%、62.08%。可以看出,電絮凝時間<40 min時,COD去除率隨電絮凝時間延長而迅速增大;當電絮凝時間>40 min后,COD去除率升高趨勢趨于平緩。這是由于電絮凝初期污水中固體懸浮物濃度高,電絮凝效果好,隨反應的進行,固體懸浮物濃度降低,電絮凝效果變得不明顯。尤其是40 min后,隨時間延長,COD去除率基本恒定。因此,考慮實際耗電量等因素,40 min為最佳電絮凝時間。
2.1.3 污水鹽度對COD去除率的影響
在電流密度為0.010 A/cm2、電絮凝時間為 40 min、極板間距為18 mm條件下,加入不同量的粗制海鹽來調節船舶生活污水的鹽度,圖 2為不同鹽度下的COD去除率。

圖 2表明,在0.1%~2.5%的鹽度范圍內,COD去除率隨鹽度增大而降低。這是因為鹽度過高時,大量離子聚集在極板表面,阻礙了電絮凝過程中傳質的進行,且容易導致電流泄漏,影響最終的處理效果。從圖 2還可看出,電解槽電壓隨鹽度增大逐漸減小,有利于降低反應的能耗。綜合以上因素,選取鹽度1%為最佳條件。
在電流密度為0.010 A/cm2、電絮凝時間40 min、鹽度1%條件下,考察不同極板間距下船舶生活污水COD的去除率,見圖 3。圖 3表明,COD去除率隨極板間距的增大而降低,但幅度很小。考慮到實際裝置安裝過程的難易程度和污水日處理量,以及極板間距過小容易導致電流短路等因素,確定18 mm的極板間距為最佳條件。

2.1.5 污水初始pH對COD去除率的影響
在電流密度為0.010 A/cm2、電絮凝時間為 40 min、鹽度為1%、極板間距為18 mm條件下,加入H2SO4溶液或NaOH溶液來調節船舶生活污水的初始pH,圖 4為不同初始pH時COD的去除率。

從圖 4可以看出,酸性及中性條件下,COD去除率基本保持恒定,但pH較高時,電極容易鈍化,COD去除率略有下降。從電絮凝后最終pH的變化曲線還可看出,初始pH越小,電絮凝過程中pH增幅越大,最終均為中性或堿性。考慮到電絮凝過程中的成本問題,選擇初始pH中性狀態進行電絮凝更為理想。
2.2 電解深度處理過程
2.2.1 電流密度對COD去除率的影響
電流密度對電解深度處理電絮凝廢水COD的去除率有顯著影響,圖 5為電絮凝后廢水COD去除率隨電流密度的變化情況(電解時間3 h,鹽度 1%)。可以看出,電流密度<0.06 A/cm2時,COD去除率隨電流密度增大而顯著增大;當電流密度>0.06 A/cm2后,COD去除率提高幅度減小;且電流密度為0.06 A/cm2時,電解深度處理后廢水的COD已降低至120 mg/L,達到MARPOL73/78國際防污公約附則Ⅳ中COD≤125 mg/L的排放標準。因此,電解深度處理過程中最佳電流密度選定為0.06 A/cm2。

2.2.2 電解時間對COD去除率的影響
電解時間對電絮凝后廢水COD的去除也有很大影響,圖 6為電絮凝后廢水COD去除率隨電解時間的變化情況(電流密度0.06 A/cm2、鹽度1%)。

從圖 6可以看出,電解時間<3 h時COD去除率和電解時間幾乎成正比例增長關系;當電絮凝時間超過3 h后,COD去除率升高趨勢減緩,這是由于廢水中有機物濃度降低。因此考慮實際耗電量等因素,3 h為最佳電解深度處理時間。具體參見http://m.bnynw.com更多相關技術文檔。
3 結論
采用電絮凝—電解耦合技術處理船舶生活污水,在電絮凝預處理過程中,電流密度0.010 A/cm2、電絮凝時間40 min、鹽度1%、極板間距18mm、pH接近中性時,COD去除率可達到64%;隨后用自制Ti/SnO2-Sb2O3 /β-PbO2-La電極進行電解深度處理,電流密度0.06 A/cm2、電解時間180 min、pH為弱堿性時,COD總去除率達到93%。


