公布日:2023.09.29
申請日:2023.07.27
分類號:C02F1/72(2023.01)I;C02F1/32(2023.01)I;C02F1/00(2023.01)I;C02F103/28(2006.01)N
摘要
本發明公開了一種廢水COD降解裝置,其包括置于地面的降解箱以及與降解箱連通的入水管,入水管頂部的水平高度高于降解箱的頂部,入水管遠離降解箱的一端連通有集水箱,集水箱頂端開口,且覆蓋有濾網,集水箱上還連通有用于將廢水導流至集水箱內的排水管,排水管與集水箱的連通位置的水平高度高于濾網,且入水管與集水箱的連通位置的水平高度低于濾網,濾網由一端朝向另一端傾斜向下設置,且集水箱與濾網水平高度最低的一端的連接處還開有供濾網過濾所得的懸浮物排出集水箱外的流水槽。本申請具有通過濾網過濾造紙廢水中是懸浮物,使得減小造紙廢水中的懸浮物對紫外光的照射效果,從而提高COD降解裝置對造紙廢水中COD的降解效果。

權利要求書
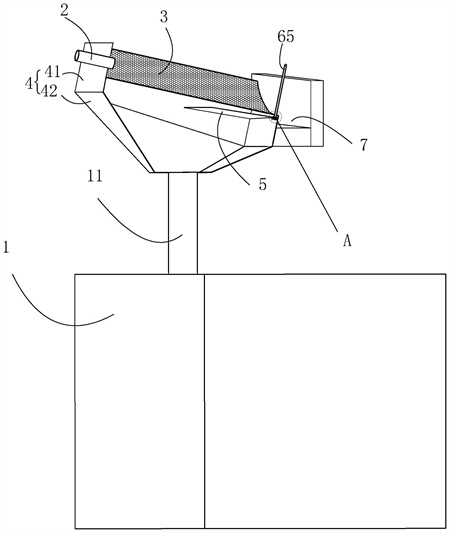
1.一種廢水COD降解裝置,包括置于地面的降解箱(1)以及與降解箱(1)連通的入水管(11),其特征在于,所述入水管(11)頂部的水平高度高于降解箱(1)的頂部,所述入水管(11)遠離降解箱(1)的一端連通有集水箱(4),所述集水箱(4)頂端開口,且所述集水箱(4)內還固定有覆蓋頂端開口的濾網(3),所述集水箱(4)上還連通有用于將廢水導流至集水箱(4)內的排水管(2),所述排水管(2)與集水箱(4)的連通位置的水平高度高于濾網(3),且所述入水管(11)與集水箱(4)的連通位置的水平高度低于濾網(3),所述濾網(3)由一端朝向另一端傾斜向下設置,且所述集水箱(4)與濾網(3)水平高度最低的一端的連接處還開有供濾網(3)過濾所得的懸浮物排出集水箱(4)外的缺口。
2.根據權利要求1所述的一種廢水COD降解裝置,其特征在于,所述濾網(3)的豎直截面為弧面,且弧面朝向集水箱(4)與入水管(11)的連通處凸出。
3.根據權利要求2所述的一種廢水COD降解裝置,其特征在于,所述集水箱(4)的底壁均朝向入水管(11)與集水箱(4)的連通處傾斜向下設置。
4.根據權利要求3所述的一種廢水COD降解裝置,其特征在于,所述集水箱(4)靠近濾網(3)水平高度最低的一端的內側壁還設有擋板(5),且所述擋板(5)與集水箱(4)的內側壁形成水槽,所述擋板(5)與濾網(3)留有間距,且所述濾網(3)靠近水平高度最低的一端部分置于水槽內。
5.根據權利要求4所述的一種廢水COD降解裝置,其特征在于,所述擋板(5)傾斜設置,且所述擋板(5)的傾斜方向與濾網(3)的傾斜方向一致。
6.根據權利要求4-5任一所述的一種廢水COD降解裝置,其特征在于,所述擋板(5)的水平高度最高處高于濾網(3)的水平高度最低處,且所述濾網(3)有彈性。
7.根據權利要求6所述的一種廢水COD降解裝置,其特征在于,所述擋板(5)的水平高度最低處還開有排水孔(67),所述擋板(5)上還設有通閉排水孔(67)的開關板(64)。
8.根據權利要求7所述的一種廢水COD降解裝置,其特征在于,所述集水箱(4)上還設有驅動開關板(64)始終封閉排水孔(67)的彈性件(62)。
9.根據權利要求8所述的一種廢水COD降解裝置,其特征在于,所述擋板(5)上還設有驅動開關板(64)通閉排水孔(67)的驅動件(65),所述驅動件(65)遠離擋板(5)的一端伸出至集水箱(4)外。
10.根據權利要求9所述的一種廢水COD降解裝置,其特征在于,所述擋板(5)上還設有限定開關板(64)沿彈性件(62)的長度方向運動的限位件(63)。
發明內容
為了提高COD降解裝置對造紙廢水中COD的降解效率,本申請提供一種廢水COD降解裝置。
本申請提供的一種廢水COD降解裝置采用如下的技術方案:一種廢水COD降解裝置,包括置于地面的降解箱以及與降解箱連通的入水管,所述入水管頂部的水平高度高于降解箱的頂部,所述入水管遠離降解箱的一端連通有集水箱,所述集水箱頂端開口,且所述集水箱內還固定有覆蓋頂端開口的濾網,所述集水箱上還連通有用于將廢水導流至集水箱內的排水管,所述排水管與集水箱的連通位置的水平高度高于濾網,且所述入水管與集水箱的連通位置的水平高度低于濾網,所述濾網由一端朝向另一端傾斜向下設置,且所述集水箱與濾網水平高度最低的一端的連接處還開有供濾網過濾所得的懸浮物排出集水箱外的缺口。
通過采用上述技術方案,通過排水管排放至集水箱中的廢水經過濾網,廢水中的懸浮物會被濾網過濾掉,當濾網上的懸浮物堆積至一定程度時,濾網的過濾速度變慢,甚至可能會使得濾網上出現積水,積水會沿著傾斜的濾網朝向缺口流動,并在流動過程中帶動堆積于濾網上的懸浮物同步朝向缺口流動,并最終使得懸浮物在積水的帶動下通過缺口排出至集水箱外,從而使得濾網可自動實現懸浮物的清理,進而使得濾網更加不容易因需過濾的纖維和纖維細料體積較小,需要孔徑很小的網孔才能使得纖維和纖維細料的去除效果達標而導致網孔被堵塞,使得濾網的過濾效果受到影響,既有利于廢水中的懸浮物被更加完全地過濾掉,使得纖維和纖維細料更加不容易對廢水COD降解裝置的降解效果產生影響,同時,又使得集水箱的過濾效率更加不容易受到影響。另外,還使得濾網的清理更加方便,無需人工額外維護。
優選的,所述濾網的豎直截面為弧面,且弧面朝向集水箱與入水管的連通處凸出。
通過采用上述技術方案,當造紙廢水落入濾網時,造紙廢水在重力作用和濾網網孔小的阻礙作用而濺起的水花灑受到濾網弧面的阻擋不容易灑至濾網外,從而有利于減小造紙廢水的浪費。
優選的,所述集水箱的底壁均朝向入水管與集水箱的連通處傾斜向下設置。
通過采用上述技術方案,使得集水箱中經濾網過濾之后的廢水更容易沿傾斜的底壁流動至入水管與集水箱的連通處,并通過入水管排放至COD降解裝置中,有利于減少集水箱中的殘余的廢水,使得廢水被更加完全地回收利用,有利于減少浪費。
優選的,所述集水箱靠近濾網水平高度最低的一端的內側壁還設有擋板,且所述擋板與集水箱的內側壁形成水槽,所述擋板與濾網留有間距,且所述濾網靠近水平高度最低的一端部分置于水槽內。
通過采用上述技術方案,擋板的設置使得濾網水平高度最低的一端更加容易積水,從而使得濾網水平高度最低的一端更容易被浸泡于水槽的積水中,從而使得附著于濾網水平高度最低的一端的懸浮物更容易因被水槽中的造紙廢水浸沒而懸浮,進而使得處于濾網水平高度最低的一端的懸浮物流動性更強,且更容易在流動水的重力作用的帶動下向濾網低處排出至集水箱外,使得濾網更加不容易因堆積的懸浮物被堵塞而影響過濾效率。
優選的,所述擋板傾斜設置,且所述擋板的傾斜方向與濾網的傾斜方向一致。
通過采用上述技術方案,濾網的弧面凸向擋板,使得水槽的水位朝向濾網的弧面的最低處,從而使得水槽中的造紙廢水更容易浸沒附著于濾網的懸浮物,有利于在濾網靠近出水管一側的造紙廢水,向濾網低處流動時帶動懸浮物向濾網低處排出,進一步使得濾網更加不容易因堆積的懸浮物被堵塞而影響過濾效率。
優選的,所述擋板的水平高度最高處高于濾網的水平高度最低處,且所述濾網有彈性。
通過采用上述技術方案,當造紙廢水從排水管排入至濾網靠近排水管的一端時,造紙廢水沖擊濾網,使得具有彈性的濾網被造紙廢水沖擊后產生震蕩,附著于濾網的懸浮物伴隨濾網的震蕩更容易朝向濾網高度較低的一端流動,使得懸浮物不容易附著于濾網的中心位置。同時,位于濾網水平高度最低一端且被浸沒于水槽中的造紙廢水中的懸浮物,受到濾網的震蕩力而更加容易跟隨水槽中的造紙廢水從缺口排出至集水箱外,進入下一工序,使得處于濾網水平高度最低一端的懸浮物更加不容易因流經濾網水平高度最低一端的造紙廢水較少而大量堆積附著于濾網上,從而更進一步地減少了懸浮物從濾網低處向高處堆積附著而導致濾網過濾造紙廢水的過濾效率受到影響的情況。
優選的,所述擋板的水平高度最低處還開有排水孔,所述擋板上還設有通閉排水孔的開關板。
通過采用上述技術方案,當需要過濾造紙廢水時,通過開關板封閉排水孔,使得水槽中儲存已過濾的造紙廢水,使得水槽的造紙廢水浸沒附著于濾網水平高度最低一端的懸浮物,從而使得濾網低處的懸浮物更容易隨著水流通過排放孔排出至集水箱外。當造紙廢水過濾完成后,通過打開開關板,使得排水孔連通水槽與集水箱,使得水槽中的水通過排水孔以及入水管流入降解箱中,有利于減少水槽中的造紙廢水容易因停留于水槽中而造成浪費的情況。同時,還有利于減少水槽長期積水而導致水槽發臭的情況。
優選的,所述集水箱上還設有驅動開關板始終封閉排水孔的彈性件。
通過采用上述技術方案,通過彈性的設置,使得開關板在自然狀態下可始終處于封閉排水孔的狀態,從而使得水槽中可始終積水,從而有利于濾網水平高度最低一端堆積的懸浮物隨水流通過排放孔排出至集水箱外;而當水槽中的積水積累到一定程度時,開關板則會由于受到水槽中的水的重力作用而克服彈性件的彈力,并使得排水孔打開,從而使得水槽中的水自動排放至集水箱中,既使得水槽中的水不容易由于積累過多而不斷通過排放孔排出至集水箱外,造成水資源浪費的情況,同時,還使得水槽中的積水可自動被排放掉,有利于減少人工維護以及清理的;頻率,還使得開關板可更加智能地適應實際使用需要而自動切換狀態。
優選的,所述擋板上還設有驅動開關板通閉排水孔的驅動件,所述驅動件遠離擋板的一端伸出至集水箱外。
通過采用上述技術方案,當需要將水槽中的造紙廢水向降解箱排放時,通過人工操作驅動件使得開關板打開排水孔,即可使得水槽中的水完全被排放掉,有利于減少水槽中剩余部分水,不足以克服彈性件彈力使得開關板打開而導致水槽中存留有積水無法排放的情況,從而有利于減少水槽中存留有水而造成浪費或者造成發臭的情況。同時,驅動件遠離擋板的一端置于集水箱之外,使得人工操作排水孔的通閉更加簡單方便。
優選的,所述擋板上還設有限定開關板沿彈性件的長度方向運動的限位件。
通過采用上述技術方案,利用限位件限制開關板的活動方向,使得開關板只能沿彈性件的長度方向運動,從而使得開關板可始終沿朝向或遠離排水孔的方向運動,有利于減少開關板在通閉排水孔的過程中容易發生位置偏移而導致排水孔的通閉狀態受到影響的情況,使得排水孔的通閉狀態的切換更加準確。
綜上所述,本申請包括以下至少一種有益技術效果:1.通過設置降解箱、與降解箱連通的集水箱、集水箱內還固定濾網,以及流水槽,使得濾網可自動實現懸浮物的清理,進而使得濾網更加不容易因需過濾的纖維和纖維細料體積較小,需要孔徑很小的網孔才能使得纖維和纖維細料的去除效果達標而導致網孔被堵塞,使得濾網的過濾效果受到影響,既有利于廢水中的懸浮物被更加完全地過濾掉,使得纖維和纖維細料更加不容易對廢水COD降解裝置的降解效果產生影響,同時,又使得集水箱的過濾效率更加不容易受到影響。另外,還使得濾網的清理更加方便,無需人工額外維護。
2.通過設置驅動桿和限位件,使得擋板不容易因彈性件彈力方向的變化而不容易重新封閉排水孔的情況,通過驅動驅動桿高于濾網的一端,驅動開關板導通排水孔,使得操作員在集水箱外部空間即可驅動開關板通閉排水孔,操作簡單,減少了操作員需要掀開濾網驅動開關板導通排水孔的情況。
(發明人:梁潔;王玉婷;李小軍)






