公布日:2023.08.25
申請日:2023.02.20
分類號:C02F3/30(2023.01)I;B01F33/40(2022.01)I;C02F101/30(2006.01)N;C02F101/16(2006.01)N
摘要
本發明公開了一種高效反硝化反應器,包括反應器主體,所述反應器主體內設有對反應器主體的內部進行攪拌的高效能浮力攪拌機構,所述高效能浮力攪拌機構包括通氣管、大氣泡發生器和風機,所述大氣泡發生器、通氣管設置在反應器主體的內部,且所述風機的出風端經風管與通氣管的進氣端連接,通氣管與大氣泡發生器相連接,風機所提供的空氣通過大氣泡發生器產生大氣泡。本發明利用空氣的密度遠遠小于水,在水中產生很大的浮力。氣泡越大,相對應的比表面積越小,粘滯力越小,上升速度越快,從而帶動周圍泥水混合物快速上升,消除了反應器的攪拌死角和底部污泥沉積,攪拌傳質效果極佳,從而使反硝化反應器對總氮的去除效率大幅上升。

權利要求書
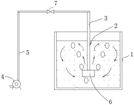
1.一種高效反硝化反應器,其特征在于:采用了大氣泡的浮力作為推動反應器高效混合的推動力,包括反應器主體(1),所述反應器主體(1)內設有對反應器主體(1)的內部進行攪拌的高效能浮力攪拌機構(2),所述高效能浮力攪拌機構(2)包括通氣管(3)、大氣泡發生器(6)和風機(4),所述通氣管(3)、大氣泡發生器(6)設置在反應器主體(1)的內部,且所述風機(4)的出風端經風管(5)與通氣管(3)的進氣端連接。
2.根據權利要求1所述的一種高效反硝化反應器,其特征在于,所述通氣管(3)的底部設有大氣泡發生器(6)。
3.根據權利要求1所述的一種高效反硝化反應器,其特征在于,所述高效能浮力攪拌機構(2)可以根據池容大小靈活設置為若干個。
4.根據權利要求1所述的一種高效反硝化反應器,其特征在于,所述風管(5)上設有控制閥(7)。
發明內容
為了解決上述技術問題,本發明提供了如下的技術方案:
本發明一種高效反硝化反應器,包括反應器主體,所述反應器主體內設有對反應器主體的內部進行攪拌的高效能浮力攪拌機構,所述高效能浮力攪拌機構包括通氣管、大氣泡發生器和風機,所述通氣管設置在反應器主體的內部,且所述風機的出風端經風管與通氣管的進氣端連接。
作為本發明的一種優選技術方案,所述通氣管的底部設有大氣泡發生器。
作為本發明的一種優選技術方案,所述高效能浮力攪拌機構可以根據池容大小靈活設置為若干個。
作為本發明的一種優選技術方案,所述風管上設有控制閥。
本發明的有益效果是:
1、該種高效反硝化反應器可大幅提高反硝化反應器的攪拌效果和傳質效果。本發明利用空氣的密度遠遠小于水,在水中產生很大的浮力,但是在氣泡的周圍存在粘滯力,氣泡越細小,相對應的比表面積越大,粘滯力也就越大,上升速度越慢。氣泡越大,相對應的比表面積越小,粘滯力越小,上升速度越快,從而帶動周圍液體快速上升。并且,只要氣泡鼓出后,氣泡后續的上升過程無需額外提供能量,氣泡即可依靠自身的浮力快速上升,因而非常節能。氣泡的快速上升帶動了氣泡周圍的泥水混合物(即微生物與水的混合物)快速由池底上升到池頂,邊界水流速度可達到潛水攪拌機和機械攪拌機的5-20倍,攪拌傳質效果極佳,即使污泥濃度高達25~30g/l(常規反硝化反應器的污泥濃度為2-4g/l),也可以實現理想的攪拌和傳質,從而實現很高的容積負荷。
2、該種高效反硝化反應器運行時將反應器中的泥水混合物(微生物與污水的混合物)不斷攪拌反應。其中好氧池回流的泥水混合液和二沉池回流的含水污泥中的NO3-、NO2-與進水中的易降解有機物發生反硝化反應,在缺氧狀態下,在反硝化菌的作用下,利用碳源(即廢水自身所含易生物降解成分,以BOD表示;或外加易降解有機物,如:葡萄糖、醋酸鈉、甲醇、乙醇等)作為電子供體,將NO3-、NO2-轉化為N2進入空氣中,實現完全脫氮,消除了N元素對環境的影響,使TN指標達到排放標準。
(發明人:陶顯宏;高谷一;徐亞同)






