公布日:2023.09.01
申請日:2023.07.17
分類號:C02F11/122(2019.01)I;B01D33/067(2006.01)I;B01D33/04(2006.01)I;B01D33/35(2006.01)I;B01D33/46(2006.01)I;B01D33/48(2006.01)I
摘要
本發明涉及濾帶和滾筒擠壓式污泥脫水裝置,其包括擠壓滾筒、環形濾帶組件,其中擠壓滾筒有多個,多個擠壓滾筒的中心在上下和左右方向相對錯位和/或對齊分布,環形濾帶組件包括第一、二環形濾帶、以及傳輸輥,第一、二環形濾帶分別自下而上依次繞過多個擠壓滾筒和傳輸輥形成相向運動的環形傳送,其中第一、二環形濾帶共同纏繞在多個擠壓滾筒上的濾帶上下相對貼合擠壓以形成污泥擠壓通道,污泥擠壓通道呈迂回式。本發明不僅有效延長了擠壓通道的長度,而且污泥和擠壓滾筒采用非接觸的方式實施擠壓脫水,從而保持夾持在環形濾帶之間的污泥依次經過各擠壓滾筒,改善污泥的脫水率,同時,隨著環形濾帶的傳遞,增加污泥出泥量和出泥效率。

權利要求書
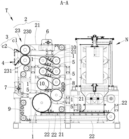
1.一種濾帶和滾筒擠壓式污泥脫水裝置,其包括擠壓滾筒、環形濾帶組件,其特征在于:所述擠壓滾筒有多個,多個所述擠壓滾筒的中心在上下和左右方向相對錯位和/或對齊分布,所述環形濾帶組件包括第一環形濾帶和第二環形濾帶、以及傳輸輥,所述第一環形濾帶和第二環形濾帶分別自下而上依次繞過多個所述擠壓滾筒和所述傳輸輥形成相向運動的環形傳送,其中所述第一環形濾帶和第二環形濾帶共同纏繞在多個所述擠壓滾筒上的濾帶上下相對貼合擠壓以形成污泥擠壓通道,所述污泥擠壓通道呈迂回式,且底部形成所述第一環形濾帶和第二環形濾帶逐步靠近的污泥進口、頂部形成污泥出口。
2.根據權利要求1所述的濾帶和滾筒擠壓式污泥脫水裝置,其特征在于:多個所述擠壓滾筒的中心在左右方向隔開,且在上下方向錯位和對齊間隔分布,所述污泥擠壓通道呈左右迂回分布。
3.根據權利要求1或2所述的濾帶和滾筒擠壓式污泥脫水裝置,其特征在于:所述污泥擠壓通道自下而上所形成的擠壓力逐段變大。
4.根據權利要求3所述的濾帶和滾筒擠壓式污泥脫水裝置,其特征在于:所述污泥擠壓通道包括自下而上所形成的擠壓力依次為低壓段、中壓段和高壓段,其中低壓段、中壓段和高壓段所對應的擠壓滾筒外徑逐級變大。
5.根據權利要求4所述的濾帶和滾筒擠壓式污泥脫水裝置,其特征在于:在所述低壓段、中壓段和高壓段中,纏繞在各擠壓滾筒外周的部分濾帶所形成包覆周長為對應擠壓滾筒周長的1/2~4/5。
6.根據權利要求5所述的濾帶和滾筒擠壓式污泥脫水裝置,其特征在于:所述低壓段、中壓段和高壓段中任一段至少包括一個所述擠壓滾筒,且當任一段的所述擠壓滾筒為2個或更多個時,處于對應段的擠壓滾筒的外徑相等。
7.根據權利要求1所述的濾帶和滾筒擠壓式污泥脫水裝置,其特征在于:所述第一環形濾帶和所述第二環形濾帶形成的傳送運動的速度相等;和/或,所述第二環形濾帶位于下層,且所述第二環形濾帶自污泥濃縮筒的底部水平穿過直至纏繞左側底部的所述擠壓滾筒上形成下接引段;所述第一環形濾帶位于上層,且所述第一環形濾帶所形成上接引段自上而下傾斜設置,其中所述上接引段與所述下接引段形成所述污泥進口。
8.根據權利要求1所述的濾帶和滾筒擠壓式污泥脫水裝置,其特征在于:所述傳輸輥包括上下對齊分布的上出泥輥和下出泥輥,所述第一環形濾帶和第二環形濾帶分別向上和向下纏繞在所述上出泥輥和下出泥輥上,且所述上出泥輥和下出泥輥之間形成所述污泥出口;和/或,在所述污泥出口處還設有分別與所述上出泥輥和下出泥輥對應分布的上刮泥組件和下刮泥組件,其中所述上刮泥組件和下刮泥組件相對設置并分別貼合所述第一環形濾帶和第二環形濾帶以將濾帶表面污泥鏟落。
9.根據權利要求1所述的濾帶和滾筒擠壓式污泥脫水裝置,其特征在于:在各所述擠壓滾筒底部分別設有能夠避開濾帶的接漏槽,其中所述接漏槽頂部敞開;和/或,所述接漏槽所形成腔體自上自上而下逐漸變窄設置,且在底部或側部形成排水孔。
10.根據權利要求1所述的濾帶和滾筒擠壓式污泥脫水裝置,其特征在于:所述的污泥脫水裝置還包括分別對所述第一環形濾帶和所述第二環形濾帶進行清潔的第一清潔組件和第二清潔組件,其中所述第一清潔組件和第二清潔組件均采用輥刷和水洗進行清潔,且輥刷的刷掃方向與對應濾帶的傳輸方向一致;和/或,所述的污泥脫水裝置還包括分別對所述第一環形濾帶和第二環形濾帶進行張緊調節的第一張緊調節件和第二張緊調節件、以及對應設置在所述擠壓滾筒兩端的多組防跑偏導向輪。
發明內容
本發明所要解決的技術問題是克服現有技術的不足,提供一種改進的濾帶和滾筒擠壓式污泥脫水裝置。
為解決以上技術問題,本發明采取如下技術方案:一種濾帶和滾筒擠壓式污泥脫水裝置,其包括擠壓滾筒、環形濾帶組件,其中擠壓滾筒有多個,多個擠壓滾筒的中心在上下和左右方向相對錯位和/或對齊分布,環形濾帶組件包括第一環形濾帶和第二環形濾帶、以及傳輸輥,第一環形濾帶和第二環形濾帶分別自下而上依次繞過多個擠壓滾筒和傳輸輥形成相向運動的環形傳送,其中第一環形濾帶和第二環形濾帶共同纏繞在多個擠壓滾筒上的濾帶上下相對貼合擠壓以形成污泥擠壓通道,污泥擠壓通道呈迂回式,且底部形成第一環形濾帶和第二環形濾帶逐步靠近的污泥進口、頂部形成污泥出口。
根據本發明的一個具體實施和優選方面,多個擠壓滾筒的中心在左右方向隔開,且在上下方向錯位和對齊間隔分布,污泥擠壓通道呈左右迂回分布。采用逐步向上移動的方式,有效延長擠壓通道長度,使其充分被擠壓。
在一些具體實施方式中,污泥擠壓通道自下而上所形成的擠壓力逐段變大(注意,并非是逐漸變小,而且逐段,也就是說,在某一段是可以形成恒定的擠壓力)。在此,結合所形成的延伸方式形成逐段式擠壓,以高品質的實施污泥脫水,一般情況下,污泥擠壓通道包括自下而上所形成的擠壓力依次為低壓段、中壓段和高壓段,其中低壓段、中壓段和高壓段所對應的擠壓滾筒外徑逐級變大,,而且在低壓段、中壓段和高壓段中,纏繞在各擠壓滾筒外周的部分濾帶所形成包覆周長為對應擠壓滾筒周長的1/2~4/5。
在一些具體實施方式中,所形成纏繞至少對應擠壓滾筒周長的3/5左右,這樣所形成的包覆更利于脫水。進一步的,低壓段、中壓段和高壓段中任一段至少包括一個擠壓滾筒,且當任一段的擠壓滾筒為2個或更多個時,處于對應段的擠壓滾筒的外徑相等。方便各擠壓滾筒的上下依次布局安裝,且擠壓脫水的工作狀態更加穩定。
根據本發明的又一個具體實施和優選方面,第一環形濾帶和第二環形濾帶形成的傳送運動的速度相等,這樣保持進入上下層之間的污泥不會變動的依次進行多個擠壓滾筒的擠壓,大幅度體提升污泥的脫水率。
在一些具體實施方式中,第二環形濾帶位于下層,且第二環形濾帶自污泥濃縮筒的底部水平穿過直至纏繞左側底部的擠壓滾筒上形成下接引段;第一環形濾帶位于上層,且第一環形濾帶所形成上接引段自上而下傾斜設置,其中上接引段與下接引段形成污泥進口。在此,有效的將污泥脫水裝置和污水濃縮裝置進行銜接,同時所形成的污泥進口更方便污泥進入,而且進一步提高污水濃縮裝置的出泥率。
根據本發明的又一個具體實施和優選方面,傳輸輥包括上下對齊分布的上出泥輥和下出泥輥,第一環形濾帶和第二環形濾帶分別向上和向下纏繞在上出泥輥和下出泥輥上,且上出泥輥和下出泥輥之間形成污泥出口。在此,由第一環形濾帶和第二環形濾帶相向運動帶出擠壓后的污泥,同時,在污泥出口處還設有分別與上出泥輥和下出泥輥對應分布的上刮泥組件和下刮泥組件,其中上刮泥組件和下刮泥組件相對設置并分別貼合第一環形濾帶和第二環形濾帶以將濾帶表面污泥鏟落。
優選地,上刮泥組件和下刮泥組件結構相同,均包括鏟泥板、用于驅動鏟泥板翻轉的刮泥調節件,其中在鏟泥板翻轉中調整鏟泥板端部與濾帶所形成鏟除角度,以最佳角度下實施污泥最大化鏟除。
根據本發明的又一個具體實施和優選方面,在各擠壓滾筒底部分別設有能夠避開濾帶的接漏槽,其中接漏槽頂部敞開,同時接漏槽所形成腔體自上自上而下逐漸變窄設置,且在底部或側部形成排水孔。在此,不僅方便將擠壓后泥水的收集,而且更方便泥水的匯聚和排出。
此外,污泥脫水裝置還包括分別對第一環形濾帶和第二環形濾帶進行清潔的第一清潔組件和第二清潔組件,其中第一清潔組件和第二清潔組件均采用輥刷和水洗進行清潔,且輥刷的刷掃方向與對應濾帶的傳輸方向一致。使得清理干凈的濾帶循環以形成兩側相對閉合的污泥擠壓通道。
在一些具體實施方式中,污泥脫水裝置還包括分別對第一環形濾帶和第二環形濾帶進行張緊調節的第一張緊調節件和第二張緊調節件、以及對應設置在所述擠壓滾筒兩端的多組防跑偏導向輪。在張緊調節下,改善上下兩層濾帶所形成壓力;在防跑偏導向輪的導向下,避免濾帶跑偏,從而實施與擠壓滾筒形成大包覆角度的擠壓。
由于以上技術方案的實施,本發明與現有技術相比具有如下優點:
現有污泥脫水過程中,濾帶和擠壓所形成的擠壓通道過短、與滾筒接觸擠壓過程中容易出現打滑所提供的擠壓力不足、以及濾帶所形成出泥量少和出泥效率低等缺陷,而本申請通過對污泥脫水的結構進行整體設計、巧妙地解決了現有結構的各種不足。采取該裝置,污泥進入由濾帶上下層貼合以形成擠壓的擠壓通道,并在多個擠壓滾筒所形成的迂回式擠壓中完成污泥的脫水,且脫水后的污泥自污泥出口排出,因此,與現有的結構相比,本發明不僅有效延長了擠壓通道的長度,而且污泥和擠壓滾筒采用非接觸的方式實施擠壓脫水,從而保持夾持在環形濾帶之間的污泥依次經過各擠壓滾筒,改善污泥的脫水率,同時,隨著環形濾帶的傳遞,增加污泥出泥量和出泥效率。
(發明人:王方清;吳亮亮;莊利華;王浩程;楊對國)






