公布日:2024.03.29
申請日:2023.12.28
分類號:E03B3/02(2006.01)I;E03F5/10(2006.01)I;E03F5/22(2006.01)I;E03F3/04(2006.01)I;G09B25/00(2006.01)I;F04D15/00(2006.01)I
摘要
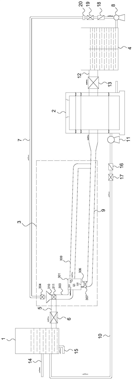
本發明公開了一種雨污水混接截流裝置收集處理模擬系統,包括:儲存水箱,截流泵站,截流單元,所述截流單元位于所述儲存水箱與所述截流泵站之間;收集水箱,用于收集并儲存雨水;還包括第一輸送管道,第二輸送管道,第三輸送管道,第四輸送管道,第五輸送管道。本發明設計的雨污水混接截流裝置收集處理模擬系統,直觀模擬雨污水經過系統的處理過程;能夠展示不同截流裝置對應不同雨量的截流效果;自動化程度高,可以單獨演示一種截流裝置,也能演示多種截流裝置運行過程,且可以實時監控,連續演示截流過程;實現后期增加截流裝置的可能性;使得主管部門更加重視截流工作。

權利要求書
1.一種雨污水混接截流裝置收集處理模擬系統,其特征在于,包括:儲存水箱(1),用于儲存放置模擬用水;截流泵站(2),用于判斷并分流雨水和污水;截流單元(3),所述截流單元(3)位于所述儲存水箱(1)與所述截流泵站(2)之間;收集水箱(4),用于收集并儲存雨水;第一輸送管道(5),所述第一輸送管道(5)連通所述儲存水箱(1)和所述截流單元(3),用于將所述儲存水箱(1)內的污水輸送至所述截流單元(3),所述第一輸送管道(5)上設置有第一流量計(6);第二輸送管道(7),所述第二輸送管道(7)連通所述截流單元(3)和所述收集水箱(4),用于將所述收集水箱(4)內的雨水輸送至所述截流單元(3),所述第二輸送管道(7)上設置有雨水泵(8);第三輸送管道(9),所述第三輸送管道(9)連通所述截流單元(3)和所述截流泵站(2),用于將所述截流單元(3)內的污水輸送至所述截流泵站(2);第四輸送管道(10),所述第四輸送管道(10)連通所述儲存水箱(1)和所述截流泵站(2),用于將所述截流泵站(2)內的污水輸送至所述儲存水箱(1),所述第四輸送管道(10)上設置有污水泵(11);第五輸送管道(12),所述第五輸送管道(12)連通所述截流泵站(2)和所述收集水箱(4),用于將所述截流泵站(2)內的雨水輸送至所述收集水箱(4),所述第五輸送管道(12)上設置有電磁閥(13)。
2.根據權利要求1所述的一種雨污水混接截流裝置收集處理模擬系統,其特征在于:所述截流單元(3)包括截流組,所述截流組包括第一截流裝置(301),所述第一截流裝置(301)的混接進水口(302)通過第一截流管道(303)與所述第二輸送管道(7)連通設置,所述第一截流管道(303)上設置有第一球閥(304);所述第一截流裝置(301)的污水出口(305)通過第二截流管道(306)與所述第三輸送管道(9)連通設置,所述第二截流管道(306)上設置有第二球閥(307);所述第一截流裝置(301)的雨水出口(308)通過第三截流管道(309)與所述第三輸送管道(9)連通設置;所述第一截流管道(303)通過第四截流管道(310)與所述第一輸送管道(5)連通設置,所述第四截流管道(310)上設置有第三球閥(311)。
3.根據權利要求2所述的一種雨污水混接截流裝置收集處理模擬系統,其特征在于:模擬污水時,開啟所述第三球閥(311),所述儲存水箱(1)內的污水依次經過所述第四截流管道(310)、第一截流管道(303)進入所述第一截流裝置(301)內,系統默認為污水,控制所述第二球閥(307)開啟,所述截流泵站(2)內的污水經過所述第三輸送管道(9)流入所述截流泵站(2)內,所述截流泵站(2)判斷為污水,自動開啟所述污水泵(11)將污水通過所述第四輸送管道(10)輸送至所述儲存水箱(1),以此循環。
4.根據權利要求3所述的一種雨污水混接截流裝置收集處理模擬系統,其特征在于:模擬雨水時,開啟所述雨水泵(8),同時打開所述第一球閥(304),所述收集水箱(4)內的雨水依次通過第二輸送管道(7)、第一截流管道(303)進入所述第一截流裝置(301)內,系統判定來水為雨水,關閉所述第二球閥(307),雨水則從所述第一截流裝置(301)的雨水出口(308)經過第三截流管道(309)、第三輸送管道(9)流入所述截流泵站(2)內,所述截流泵站(2)識別來水為雨水,自動關閉所述污水泵(11),打開所述電磁閥(13),來水經過所述第五輸送管道(12)進入所述收集水箱(4)。
5.根據權利要求4所述的一種雨污水混接截流裝置收集處理模擬系統,其特征在于:所述截流單元(3)包括多個并聯設置的截流組。
6.根據權利要求1所述的一種雨污水混接截流裝置收集處理模擬系統,其特征在于:所述儲存水箱(1)的上側設置有溢流輸送管道(14)。
7.根據權利要求1所述的一種雨污水混接截流裝置收集處理模擬系統,其特征在于:所述儲存水箱(1)的下端設置有排放輸送管道(15)。
8.根據權利要求1所述的一種雨污水混接截流裝置收集處理模擬系統,其特征在于:所述第四輸送管道(10)上沿所述污水泵(11)的出口端依次設置有第一止回閥(16)、第一閘閥(17)。
9.根據權利要求1所述的一種雨污水混接截流裝置收集處理模擬系統,其特征在于:所述第二輸送管道(7)上沿所述雨水泵(8)的出口端依次設置有第二止回閥(18)、第二閘閥(19)和第二流量計(20)。
10.根據權利要求9所述的一種雨污水混接截流裝置收集處理模擬系統,其特征在于:所述第二流量計(20)為分體式流量計。
發明內容
為克服上述現有技術中的不足,本發明的目的在于提供一種雨污水混接截流裝置收集處理模擬系統。
為達到以上目的及其他相關目的,本發明提供的技術方案是:一種雨污水混接截流裝置收集處理模擬系統,包括:
儲存水箱,用于儲存放置模擬用水;
截流泵站,用于判斷并分流雨水和污水;
截流單元,所述截流單元位于所述儲存水箱與所述截流泵站之間;
收集水箱,用于收集并儲存雨水;
第一輸送管道,所述第一輸送管道連通所述儲存水箱和所述截流單元,用于將所述儲存水箱內的污水輸送至所述截流單元,所述第一輸送管道上設置有第一流量計;
第二輸送管道,所述第二輸送管道連通所述截流單元和所述收集水箱,用于將所述收集水箱內的雨水輸送至所述截流單元,所述第二輸送管道上設置有雨水泵;
第三輸送管道,所述第三輸送管道連通所述截流單元和所述截流泵站,用于將所述截流單元內的污水輸送至所述截流泵站;
第四輸送管道,所述第四輸送管道連通所述儲存水箱和所述截流泵站,用于將所述截流泵站內的污水輸送至所述儲存水箱,所述第四輸送管道上設置有污水泵;
第五輸送管道,所述第五輸送管道連通所述截流泵站和所述收集水箱,用于將所述截流泵站內的雨水輸送至所述收集水箱,所述第五輸送管道上設置有電磁閥。
進一步的,所述截流單元包括截流組,所述截流組包括第一截流裝置,
所述第一截流裝置的混接進水口通過第一截流管道與所述第二輸送管道連通設置,所述第一截流管道上設置有第一球閥(1++);
所述第一截流裝置的污水出口通過第二截流管道與所述第三輸送管道連通設置,所述第二截流管道上設置有第二球閥(1+);
所述第一截流裝置的雨水出口通過第三截流管道與所述第三輸送管道連通設置;
所述第一截流管道通過第四截流管道與所述第一輸送管道連通設置,所述第四截流管道上設置有第三球閥(1)。
進一步的,模擬污水時,開啟所述第三球閥(1),所述儲存水箱內的污水依次經過所述第四截流管道、第一截流管道進入所述第一截流裝置內,系統默認為污水,控制所述第二球閥(1+)開啟,所述截流泵站內的污水經過所述第三輸送管道流入所述截流泵站內,所述截流泵站判斷為污水,自動開啟所述污水泵將污水通過所述第四輸送管道輸送至所述儲存水箱,以此循環。
進一步的,模擬雨水時,開啟所述雨水泵,同時打開所述第一球閥,所述收集水箱內的雨水依次通過第二輸送管道、第一截流管道進入所述第一截流裝置內,系統判定來水為雨水,關閉所述第二球閥,雨水則從所述第一截流裝置的雨水出口經過第三截流管道、第三輸送管道流入所述截流泵站內,所述截流泵站識別來水為雨水,自動關閉所述污水泵,打開所述電磁閥,來水經過所述第五輸送管道進入所述收集水箱。
進一步的,所述截流單元包括多個并聯設置的截流組。在本方案中,能夠展示不同截流裝置對應不同雨量的截流效果。
進一步的,所述儲存水箱的上側設置有溢流輸送管道。在本方案中,在儲存水箱的上側設置溢流輸送管道,便于儲水水箱內多的水溢出。
進一步的,所述儲存水箱的下端設置有排放輸送管道。在本方案中,在儲存水箱的下端設置排放輸送管道,便于在模擬實驗結束時,排空儲水水箱。
進一步的,所述第四輸送管道上沿所述污水泵的出口端依次設置有第一止回閥、第一閘閥。在本方案中,在第四輸送管道上設置第一止回閥、第一閘閥便于控制,防止逆流。
進一步的,所述第二輸送管道上沿所述雨水泵的出口端依次設置有第二止回閥、第二閘閥和第二流量計。在本方案中,在第二輸送管道上設置第二止回閥、第二閘閥和第二流量計,便于控制,防止逆流。
進一步的,所述第二流量計為分體式流量計。在本方案中,第二流量計采用分體式流量計,可以更好的控制流量。
由于上述技術方案的運用,本發明與現有技術相比具有的有益效果是:
本發明設計的雨污水混接截流裝置收集處理模擬系統,直觀模擬雨污水經過系統的處理過程;能夠展示不同截流裝置對應不同雨量的截流效果;自動化程度高,可以單獨演示一種截流裝置,也能演示多種截流裝置運行過程,且可以實時監控,連續演示截流過程;實現后期增加截流裝置的可能性;使得主管部門更加重視截流工作。
(發明人:楊云安;史文晶;孫飛飛;孫暉;汪超)






