公布日:2023.10.17
申請日:2023.08.08
分類號:B01D29/03(2006.01)I;B01D29/64(2006.01)I;C02F1/52(2023.01)I
摘要
本發明公開了一種鋰電池潔凈室用廢水凈化系統,包括潔凈室用廢水處理桶,所述潔凈室用廢水處理桶上設有廢水添加組件,所述潔凈室用廢水處理桶上設有過濾腔體和混合腔體,過濾腔體和混合腔體相通,所述過濾腔體的一側內壁上固定安裝有過濾板,本發明中,該鋰電池潔凈室用廢水凈化系統,將廢水通過廢液添加組件上的廢水進管添加,將會落在過濾板的一側上方位置,設置的過濾板,能夠對進入的廢水中的雜質進行有效過濾,過濾后的雜質有的會從過濾板上滑落,有的落在過濾板上,移動雜質清掃組件上的手握把手,能夠帶動清掃桿和清掃刷移動,通過來回不斷的移動,能夠帶動過濾板上的雜質被掃至兩側,從而將過濾板上的雜質進行有效清掃。

權利要求書
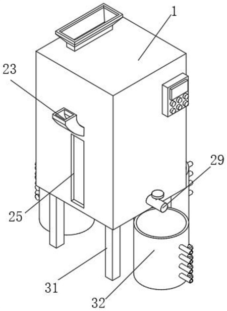
1.一種鋰電池潔凈室用廢水凈化系統,包括潔凈室用廢水處理桶(1),其特征在于,所述潔凈室用廢水處理桶(1)上設有廢水添加組件,所述潔凈室用廢水處理桶(1)上設有過濾腔體(4)和混合腔體(5),過濾腔體(4)和混合腔體(5)相通,所述過濾腔體(4)的一側內壁上固定安裝有過濾板(6),過濾板(6)呈傾斜設置,且過濾板(6)的外側不與過濾腔體(4)的內壁接觸,過濾板(6)上設有雜質清掃組件,過濾板(6)的下方設有雜質收集組件;所述潔凈室用廢水處理桶(1)的一側設有藥液添加組件,所述混合腔體(5)內設有添加混合組件,所述潔凈室用廢水處理桶(1)的外側設有多個出液管(29),多個出液管(29)上均設有控制閥(30),多個出液管(29)的下方位置均設有收集沉淀組件,所述潔凈室用廢水處理桶(1)的一側設有控制面板(34);所述廢水添加組件包括固定安裝在潔凈室用廢水處理桶(1)頂側上的廢水進管(2),過濾腔體(4)的頂側內壁上開設有進液孔(3),廢水進管(2)與進液孔(3)相連通,廢水進管(2)設置在過濾板(6)的一側上方位置,所述雜質清掃組件包括固定安裝在過濾腔體(4)內壁上的兩個滑動導桿(16),兩個滑動導桿(16)上均滑動套接有滑動導塊(17),兩個滑動導塊(17)的底側固定安裝有同一個清掃桿(18),清掃桿(18)呈傾斜設置,并與過濾板(6)相平行,清掃桿(18)的底側安裝有清掃刷(19),清掃刷(19)與過濾板(6)相接觸。
2.根據權利要求1所述的一種鋰電池潔凈室用廢水凈化系統,其特征在于,所述清掃桿(18)的一側固定安裝有L型帶動桿(20),過濾腔體(4)的一次內壁上開設有移動孔(21),L型帶動桿(20)的一端活動貫穿移動孔(21),并固定安裝有手握把手(22)。
3.根據權利要求1所述的一種鋰電池潔凈室用廢水凈化系統,其特征在于,所述雜質收集組件包括活動安裝在過濾腔體(4)內的U型框(9),U型框(9)設置在過濾板(6)的外側位置,U型框(9)的頂側開設有收集槽(12),收集槽(12)的內壁上開設有多個液體漏孔(13)。
4.根據權利要求3所述的一種鋰電池潔凈室用廢水凈化系統,其特征在于,所述潔凈室用廢水處理桶(1)的一側開設有密封槽(7),密封槽(7)的一側內壁上開設有放置孔(8),U型框(9)的一側貫穿放置孔(8),并固定安裝有密封板(10),密封板(10)位于密封槽(7)內,密封板(10)的一側固定安裝有拉動把手(11),放置孔(8)和過濾腔體(4)的兩側內壁上開設有限位槽(14),U型框(9)的兩側均固定安裝有限位塊(15),兩個限位塊(15)滑動安裝在兩側的限位槽(14)內。
5.根據權利要求1所述的一種鋰電池潔凈室用廢水凈化系統,其特征在于,所述藥液添加組件包括固定安裝在潔凈室用廢水處理桶(1)一側的藥液添加管(23),混合腔體(5)的一側內壁上開設有添加孔(24),添加孔(24)與藥液添加管(23)相連通,潔凈室用廢水處理桶(1)的一側開設有觀察窗(25),觀察窗(25)設置在藥液添加管(23)的下方位置。
6.根據權利要求1所述的一種鋰電池潔凈室用廢水凈化系統,其特征在于,所述添加混合組件包括固定安裝在潔凈室用廢水處理桶(1)底側上的轉動電機(26),轉動電機(26)的輸出端安裝有轉動軸(27),轉動軸(27)的頂端延伸至混合腔體(5)內,轉動軸(27)上固定安裝有多個攪拌桿(28),潔凈室用廢水處理桶(1)的底側固定安裝有多個支撐腿(31)。
7.根據權利要求1所述的一種鋰電池潔凈室用廢水凈化系統,其特征在于,所述收集沉淀組件包括設置在潔凈室用廢水處理桶(1)下方的收集沉淀桶(32),收集沉淀桶(32)設置在出液管(29)的下方位置,收集沉淀桶(32)的上設有多個液體出管(33),多個液體出管(33)呈豎向陣列設置。
8.根據權利要求1所述的一種鋰電池潔凈室用廢水凈化系統,其特征在于,所述清掃刷(19)的頂側安裝有刷體連接板(35),刷體連接板(35)的頂側與清掃桿(18)的底側相接處,清掃桿(18)上安裝有固定螺栓(36),固定螺栓(36)的一端螺紋安裝在刷體連接板(35)上。
發明內容
針對現有技術的不足,本發明提供了一種鋰電池潔凈室用廢水凈化系統,用于解決生產鋰電池的過程中所產生的含有大量鋰電池生產剩余雜質的廢水的處理。
本發明解決上述技術問題所采用的技術方案為:
一種鋰電池潔凈室用廢水凈化系統,包括潔凈室用廢水處理桶,所述潔凈室用廢水處理桶上設有廢水添加組件,所述潔凈室用廢水處理桶上設有過濾腔體和混合腔體,過濾腔體和混合腔體相通,所述過濾腔體的一側內壁上固定安裝有過濾板,過濾板呈傾斜設置,且過濾板的外側不與過濾腔體的內壁接觸,過濾板上設有雜質清掃組件,過濾板的下方設有雜質收集組件,所述潔凈室用廢水處理桶的一側設有藥液添加組件,所述混合腔體內設有添加混合組件,所述潔凈室用廢水處理桶的外側設有多個出液管,多個出液管上均設有控制閥,多個出液管的下方位置均設有收集沉淀組件,所述潔凈室用廢水處理桶的一側設有控制面板,所述廢水添加組件包括固定安裝在潔凈室用廢水處理桶頂側上的廢水進管,過濾腔體的頂側內壁上開設有進液孔,廢水進管與進液孔相連通,廢水進管設置在過濾板的一側上方位置,所述雜質清掃組件包括固定安裝在過濾腔體內壁上的兩個滑動導桿,兩個滑動導桿上均滑動套接有滑動導塊,兩個滑動導塊的底側固定安裝有同一個清掃桿,清掃桿呈傾斜設置,并與過濾板相平行,清掃桿的底側安裝有清掃刷,清掃刷與過濾板相接觸。
進一步地,所述清掃桿的一側固定安裝有L型帶動桿,過濾腔體的一次內壁上開設有移動孔,L型帶動桿的一端活動貫穿移動孔,并固定安裝有手握把手。
進一步地,所述雜質收集組件包括活動安裝在過濾腔體內的U型框,U型框設置在過濾板的外側位置,U型框的頂側開設有收集槽,收集槽的內壁上開設有多個液體漏孔。
進一步地,所述潔凈室用廢水處理桶的一側開設有密封槽,密封槽的一側內壁上開設有放置孔,U型框的一側貫穿放置孔,并固定安裝有密封板,密封板位于密封槽內,密封板的一側固定安裝有拉動把手,放置孔和過濾腔體的兩側內壁上開設有限位槽,U型框的兩側均固定安裝有限位塊,兩個限位塊滑動安裝在兩側的限位槽內。
進一步地,所述藥液添加組件包括固定安裝在潔凈室用廢水處理桶一側的藥液添加管,混合腔體的一側內壁上開設有添加孔,添加孔與藥液添加管相連通,潔凈室用廢水處理桶的一側開設有觀察窗,觀察窗設置在藥液添加管的下方位置。
進一步地,所述添加混合組件包括固定安裝在潔凈室用廢水處理桶底側上的轉動電機,轉動電機的輸出端安裝有轉動軸,轉動軸的頂端延伸至混合腔體內,轉動軸上固定安裝有多個攪拌桿,潔凈室用廢水處理桶的底側固定安裝有多個支撐腿。
進一步地,所述收集沉淀組件包括設置在潔凈室用廢水處理桶下方的收集沉淀桶,收集沉淀桶設置在出液管的下方位置,收集沉淀桶的上設有多個液體出管,多個液體出管呈豎向陣列設置
進一步地,所述清掃刷的頂側安裝有刷體連接板,刷體連接板的頂側與清掃桿的底側相接處,清掃桿上安裝有固定螺栓,固定螺栓的一端螺紋安裝在刷體連接板上。
與現有技術相比,本發明的有益效果為:
1、本申請鋰電池潔凈室用廢水凈化系統,將廢水通過廢液添加組件上的廢水進管添加,進入過濾腔體內,落在過濾板的一側上方位置,所設置的過濾板能夠對進入廢水中的雜質進行有效過濾,過濾后的雜質有的會從過濾板上滑落,有的落在過濾板上,移動雜質清掃組件上的手握把手,能夠帶動清掃桿和清掃刷移動,通過來回不斷的移動,能夠帶動過濾板上的雜質被掃至兩側,將過濾板上的雜質進行有效清掃;
2、本申請中,清掃后的雜質,將會落在下方的雜質收集組件上的U型框內進行集中收集,落下的液體會隨著設置的液體漏孔漏下,經過雜質過濾后的廢水將會存儲于混合腔體內,通過一側的觀察窗能夠觀察內部的廢水容量,當到達一定的深度后,停止廢水添加;
3、在本申請中,從藥液添加組件上的藥液添加管,添加氧化鈣或者硫酸鈣助沉劑與廢水接觸,使得廢水中的有機物能夠聚集到沉淀物中;藥液添加結束后,啟動添加混合組件上的轉動電機,帶動多個攪拌桿轉動,通過不斷的攪拌轉動,實現添加的藥液與廢水充分混合;
4、在本申請中,混合充分后,打開潔凈室用廢水處理桶上的出液管上的控制閥,混合后的廢水將從出液管排出,并落在收集沉淀組件上的收集沉淀桶內,落在收集沉淀桶內的廢水,能夠在藥液的作用下,有機物聚集沉淀;通過一段時間的沉淀,根據沉淀的高度,選擇打開合適的液體出管,將位于上方的液體通過液體出管排出,留下沉淀物,便于后續清理處理,排出的液體能夠進行排放。
(發明人:向雙林;蘭永成;向小剛)






