公布日:2024.04.02
申請日:2023.12.21
分類號:C02F3/34(2023.01)I;C02F101/16(2006.01)N;C02F101/38(2006.01)N
摘要
本發明涉及污水處理技術領域,具體涉及一種基于脫氮硫桿菌的污水精確脫氮處理方法,包括兩排依次布置在支進水管上的脫氮單元所構成的脫氮系統。向各個脫氮單元中裝填填料并接種脫氮硫桿菌,而后通入污水,脫氮硫桿菌的超強還原能力,能夠實現對污水中硝酸鹽氮的還原與去除,隨著運行時間的延長,填料層不可避免的會出現板結的現象,此時依次翻轉兩排支進水管上的脫氮單元,于是能夠對板結、堵塞的填料層進行強制性的破壞,從而使得脫氮單元中的填料層猶如新裝填的一般,無需更換填料,同時由于脫氮單元上下兩側對稱布置,翻轉后的脫氮單元可以直接使用,在保證了污水處理效果的同時,也有效的降低運維成本,對后續的推廣打下堅實的基礎。

權利要求書
1.一種基于脫氮硫桿菌的污水精確脫氮處理方法,其特征在于,包括以下步驟:S1、脫氮系統的布置從污水處理系統的總進水管(8)上引出兩條相互并聯的支進水管(81),在每條支進水管(81)上依次布置安裝有多個脫氮單元,支進水管(81)分別對每個脫氮單元進行向上流方式供水,將每個脫氮單元深度脫氮后的污水匯總后排出;S2、向S1中各個脫氮單元中裝填脫氮填料;S3、對S1脫氮系統進水,自然條件下實現脫氮硫桿菌的培養,啟動脫氮系統;S4、系統啟動成功后,逐步加大水量,直至設計水量,穩定運行一段時間后,當檢測到脫氮單元脫氮能力下降后,將各個脫氮單元進行翻轉,對脫氮填料進行反沖洗與再生,并記錄下系統穩定運行的持續時間;S5、隨著系統的穩定運行,依據S4中確定的穩定運行的持續時間,依次對各個脫氮單元提前進行翻轉,對脫氮填料進行反沖洗與再生,實現脫氮系統的穩定精確脫氮過程。
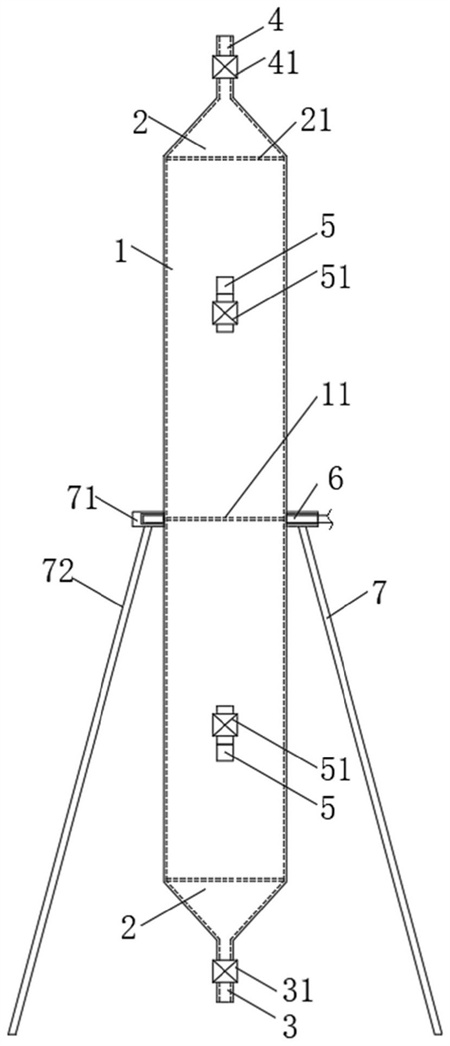
2.根據權利要求1所述的一種基于脫氮硫桿菌的污水精確脫氮處理方法,其特征在于:所述的S1中,脫氮單元包括有罐體(1),在罐體(1)的中間部位設置有轉動軸(6),罐體(1)的上下兩側相對于轉動軸(6)對稱設置;在罐體(1)上下兩端設置有封頭(2),在上下封頭(2)與罐體(1)之間設置有篩網(21),在罐體(1)內部中間設置有篦子(11),在下封頭(2)處設置有進水管(3),在進水管(3)上設置有進水閥(31),在上封頭(2)處與進水管相對稱的設置有出水管(4),在出水管(4)上設置有出水閥(41),在罐體(1)的上下側對稱設置有排污管(5),排污管(5)的安裝位置高于填料層的高度,在排污管(5)上設置有排污閥(51)。
3.根據權利要求2所述的一種基于脫氮硫桿菌的污水精確脫氮處理方法,其特征在于:所述的脫氮單元上設置有支架(7),在支架(7)中設置有支撐板(71),在支撐板(71)的下方周邊設置有支腿(72),支撐板(71)對轉動軸(6)進行支撐,轉動軸(6)在電機的帶動下實現對脫氮單元的翻轉。
4.根據權利要求2所述的一種基于脫氮硫桿菌的污水精確脫氮處理方法,其特征在于:所述的S1中,每條支進水管(81)上依次布置有五個脫氮單元,每個脫氮單元的出水經高位水槽(9)匯集后,從高位水槽(9)的下水管(91)排出。
5.根據權利要求1所述的一種基于脫氮硫桿菌的污水精確脫氮處理方法,其特征在于:所述的S2中,硫自養反硝化填料為硫磺顆粒與碳酸鈣顆粒,硫磺顆粒與碳酸鈣顆粒的體積比為7:3,硫磺顆粒與碳酸鈣顆粒的粒徑為5~8mm,硫自養反硝化填料的填充體積為脫氮單元體積的50~60%。
6.根據權利要求1所述的一種基于脫氮硫桿菌的污水精確脫氮處理方法,其特征在于:所述的S3中,進水流量控制在設計流量的三分之一到二分之一,進水的pH為6~8,進水總堿度不低于130mg/L,自然培養時間為4~5天。
7.根據權利要求1所述的一種基于脫氮硫桿菌的污水精確脫氮處理方法,其特征在于:所述的S3中,當脫氮系統出水硝酸鹽氮低于0.5mg/L,亞硝酸鹽氮低于0.005mg/L,氨氮與進水相差±0.2mg/L時,系統啟動成功。
8.根據權利要求2所述的一種基于脫氮硫桿菌的污水精確脫氮處理方法,其特征在于:所述的S4中,當檢測到脫氮單元出水中總氮的含量呈穩定的上升趨勢時,則認為脫氮單元的脫氮能力下降,此時開始對脫氮單元進行翻轉。
9.根據權利要求4所述的一種基于脫氮硫桿菌的污水精確脫氮處理方法,其特征在于:所述的S5中,一次只對1~3個脫氮單元進行翻轉,待翻轉后脫氮單元運行穩定后,進行剩下脫氮單元的翻轉,直至所有的脫氮單元翻轉完全,而后進入下一個運行周期。
10.根據權利要求2所述的一種基于脫氮硫桿菌的污水精確脫氮處理方法,其特征在于:所述的S4、S5中,脫氮單元翻轉后,開通系統進水,當頂端出水時,打開側面排污閥(5),使填料層上方的富含污泥的污水快速排出罐體(1),重復該操作1~3次,直到出水與進水無明顯外觀差別。
發明內容
本發明的目的是提供一種基于脫氮硫桿菌的污水精確脫氮處理方法,以解決現有的脫氮硫桿菌脫氮系統,在運行的過程中,容易出現填料層板結等問題,從而造成脫氮效率降低、脫氮效果差以及運維成本高的問題。
為實現上述目的,本發明采用如下技術方案:一種基于脫氮硫桿菌的污水精確脫氮處理方法,包括以下步驟:
S1、脫氮系統的布置
從污水處理系統的總進水管上引出兩條相互并聯的支進水管,在每條支進水管上依次布置安裝有多個脫氮單元,支進水管分別對每個脫氮單元進行向上流方式供水,將每個脫氮單元深度脫氮后的污水匯總后排出;
S2、向S1中各個脫氮單元中裝填硫自養反硝化脫氮填料;
S3、對S1脫氮系統進水,自然條件下實現脫氮硫桿菌的富集,啟動脫氮系統;
S4、系統啟動成功后,逐步加大水量,直至設計水量,穩定運行一段時間后,當檢測到脫氮單元脫氮能力下降后,將各個脫氮單元進行翻轉,對脫氮填料進行反沖洗與再生,并記錄下系統穩定運行的持續時間;
S5、隨著系統的穩定運行,依據S4中確定的穩定運行的持續時間,依次對各個脫氮單元提前進行翻轉,對脫氮填料進行反沖洗與再生,實現脫氮系統的穩定精確脫氮過程。
進一步地,所述的S1中,脫氮單元包括有罐體,在罐體的中間部位設置有轉動軸,罐體的上下兩側相對于轉動軸對稱設置;在罐體上下兩端設置有封頭,在上下封頭與罐體之間設置有篩網,在罐體內部中間設置有篦子,在下封頭處設置有進水管,在進水管上設置有進水閥,在上封頭處與進水管相對稱的設置有出水管,在出水管上設置有出水閥,在罐體的上下側對稱設置有排污管,排污管的安裝位置高于填料層的高度,在排污管上設置有排污閥。
進一步地,所述的脫氮單元上設置有支架,在支架中設置有支撐板,在支撐板的下方周邊設置有支腿,支撐板對轉動軸進行支撐,轉動軸在電機的帶動下實現對脫氮單元的翻轉。
進一步地,所述的S1中,每條支進水管上依次布置有五個脫氮單元,每個脫氮單元的出水經高位水槽匯集后,從高位水槽的下水管排出。
進一步地,所述的S2中,硫自養反硝化填料為硫磺顆粒與碳酸鈣顆粒,硫磺顆粒與碳酸鈣顆粒的體積比為7:3,硫磺顆粒與碳酸鈣顆粒的粒徑為5~8mm,硫自養反硝化填料的填充體積為脫氮單元體積的50~60%。
進一步地,所述的S3中,進水流量控制在設計流量的三分之一到二分之一,進水的pH為6~8,進水總堿度不低于130mg/L,自然培養時間為4~5天。
進一步地,所述的S3中,當脫氮系統出水硝酸鹽氮低于0.5mg/L,亞硝酸鹽氮低于0.005mg/L,氨氮于進水相差±0.2mg/L時,系統啟動成功。
進一步地,所述的S4中,當檢測到脫氮單元出水中總氮的含量呈穩定的上升趨勢時,則認為脫氮單元的脫氮能力下降,此時進行脫氮單元的翻轉。
進一步地,所述的S5中,一次只對1~3個脫氮單元進行翻轉,待翻轉后脫氮單元運行穩定后,進行剩下脫氮單元的翻轉,直至所有的脫氮單元翻轉完全,而后進入下一個運行周期。
進一步地,所述的S4、S5中,脫氮單元翻轉后,開通系統進水,當頂端出水時,打開側面排污閥,使填料層上方富含污泥的污水快速排出罐體,重復該操作1~3次,直到出水與進水無明顯外觀差別。
本發明的有益效果:
1、通過布置多個脫氮單元,將污水進行進行分散處理,充分的發揮了每個脫氮單元的處理能力,于是進水不需要高速進水,一方面避免填料層的嚴重堵塞,另一方面,也使得水流與填料層接觸更加的充分,有效的保證脫氮效率;
2、反應器可以設計成較大的高徑比,從而減少原材料投入和占地面積,有助于污水處理成本的降低;此外,分散式的設計,降低了單個脫氮單元中污水于填料層接觸的時間,從而不再擔心毛細擴大和脫氮硫桿菌的超級還原能力造成的氨氮升高和硫化物生成,能夠有效保證的污水處理的效果;
3、采用翻轉脫氮單元反應器的方法,使得對板結以及堵塞的填料層進行強制性的破壞,破壞后的填料層猶如新裝填的填料層,徹底的解決了填料層板結以及堵塞等問題,更加的低廉高效;
4、本發明方法成本低廉,過程中無需碳源的消耗,同時填料消耗少,能夠有效的降低污水處理的成本,同時能夠有效的保證污水處理的效果,對于污水處理的節能降耗以及環境的保護都有著重要的意義。
(發明人:高彥生;張聰;譚忠奇;楊洪亮;范延武;李剛強;李聰;宋紅巖;張春曉;劉旭波;常冠甲;梁克鵬)






