公布日:2023.10.24
申請日:2023.07.20
分類號:B01D36/04(2006.01)I;C02F9/00(2023.01)I;C02F1/04(2023.01)N;C02F1/52(2023.01)N;C02F1/00(2023.01)N
摘要
本發明具體為一種含有機物的高鹽廢水用分鹽結晶系統及裝置,其中,一種含有機物的高鹽廢水用分鹽結晶裝置,具有底座,底座上方通過支架固定有豎直延伸的過濾筒,過濾筒底部為錐形部,過濾筒的錐形部的兩側分別相通連接有排污管B和導管A,排污管B上安裝有控制閥。本發明中的含有機物的高鹽廢水用分鹽結晶系統及裝置能夠有效代替傳統的沉淀過濾系統對廢水進行初級處理,整體結構布局小巧,不會占用過多空間,且過濾快速,提高廢水處理效率,利用過濾盤和過濾網實現雙重過濾,除雜效果更好。利用反沖洗機構向過濾筒內沖水,可對過濾筒內進行清潔維護,清潔過程無需人工過多參與,保證裝置整體的清潔維護更加方便。

權利要求書
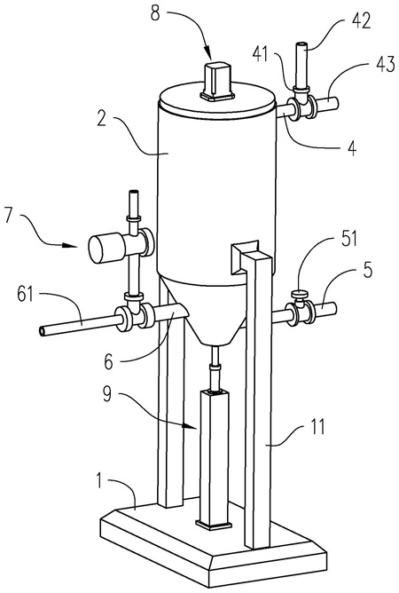
1.一種含有機物的高鹽廢水用分鹽結晶裝置,具有底座(1),所述底座(1)上方通過支架(11)固定有豎直延伸的過濾筒(2),其特征在于:所述過濾筒(2)底部為錐形部,所述過濾筒(2)的錐形部的兩側分別相通連接有排污管B(5)和導管A(6),所述排污管B(5)上安裝有控制閥(51),所述導管A(6)內靠近所述過濾筒(2)處設有過濾網(601);所述過濾筒(2)上靠近其頂部處相通連接有導流管(4),所述過濾筒(2)內設有過濾盤(3),所述過濾盤(3)周側表面與所述過濾筒(2)內壁可活動地貼合;所述導管A(6)端部連通有將過濾后的廢液排出的排出管(61),所述導管A(6)和所述排出管(61)的連接處設有用于向所述過濾筒(2)內沖水的反沖洗機構(7);所述導流管(4)的端部與三通閥門A(41)的其中一端口相通連接,所述三通閥門A(41)的另外兩端口分別相通連接有進流管(42)和排污管A(43);所述底座(1)上方設有升降調節機構(9),用于帶動所述過濾盤(3)貼合所述過濾筒(2)內壁上下移動;所述過濾筒(2)的頂部設有旋轉刮掃機構(8),用于將所述過濾盤(3)上方積聚的雜質刮下。
2.根據權利要求1所述的一種含有機物的高鹽廢水用分鹽結晶裝置,其特征在于:所述反沖洗機構(7)包括三通閥門B(71)、進水管(72)和水泵(73);所述排出管(61)和所述導管A(6)與所述三通閥門B(71)其中的兩端口對應相通連接,所述進水管(72)與所述三通閥門B(71)另外的端部相通連接;所述水泵(73)的輸出端與所述進水管(72)相通連接,所述水泵(73)的輸入端相通連接有導管B(74);所述導管B(74)與蓄水池相通連接。
3.根據權利要求1所述的一種含有機物的高鹽廢水用分鹽結晶裝置,其特征在于:所述旋轉刮掃機構(8)包括驅動電機(81)、安裝盤(82)和刮片(84);所述驅動電機(81)固定在所述過濾筒(2)的頂部,所述過濾筒(2)的內頂壁轉動安裝有軸桿(83),所述驅動電機(81)的輸出軸貫穿延伸至所述過濾筒(2)內與所述軸桿(83)固定連接;若干所述刮片(84)間隔固定在所述安裝盤(82)的下表面。
4.根據權利要求1所述的一種含有機物的高鹽廢水用分鹽結晶裝置,其特征在于:所述升降調節機構(9)包括氣缸(91)和連接桿(92);所述連接桿(92)豎直地固定在所述過濾盤(3)的底部,并貫穿延伸至所述過濾筒(2)的下方;所述氣缸(91)固定在所述底座(1)的上表面,所述氣缸(91)的伸縮桿(911)與所述連接桿(92)的下端部固定連接。
5.一種含有機物的高鹽廢水用分鹽結晶系統,采用權利要求1-4中任一項所述的含有機物的高鹽廢水用分鹽結晶裝置,其特征在于:包括濃縮處理系統(01)、結晶處理系統(02)、洗滌處理系統(03)、干燥處理系統(04)和分離廢水回流機構;所述濃縮處理系統(01)設在所述排出管(61)的下游,所述結晶處理系統(02)設在所述濃縮處理系統(01)的下游,所述洗滌處理系統(03)設在所述結晶處理系統(02)的下游,所述干燥處理系統(04)設在所述洗滌處理系統(03)的下游。
6.根據權利要求5所述的一種含有機物的高鹽廢水用分鹽結晶系統及裝置,其特征在于:所述濃縮處理系統(01)包括蒸發器(011)、蒸餾設備(012)和熱泵(013);其中,若干所述蒸發器(011)依次并立設置,最上游的所述蒸發器(011)的進料口與所述排出管(61)相通連接,上游所述蒸發器(011)出料口與下游所述蒸發器(011)的進料口相通連接,最下游的所述蒸發器(011)的排料口通過管道與所述蒸餾設備(012)的進料口相通連接;所述熱泵(013)通過管道對應與所述蒸發器(011)連接。
7.根據權利要求6所述的一種含有機物的高鹽廢水用分鹽結晶系統,其特征在于:所述結晶處理系統(02)包括結晶器(021)、沉淀器(022)和分離器(023);所述蒸餾設備(012)、所述沉淀器(022)和所述分離器(023)依次相通連接;所述結晶器(021)的進料口與所述蒸餾設備(012)的出料口相通連接;所述結晶器(021)、所述沉淀器(022)和所述分離器(023)內均設有攪拌器。
8.根據權利要求7所述的一種含有機物的高鹽廢水用分鹽結晶系統,其特征在于:所述洗滌處理系統(03)包括洗滌器(031)和過濾器A(032);所述洗滌器(031)輸入端與所述結晶器(021)的輸出端相通連接,所述洗滌器(031)輸出端與所述過濾器A(032)輸入端相通連接。
9.根據權利要求8所述的一種含有機物的高鹽廢水用分鹽結晶系統,其特征在于:所述干燥處理系統(04)包括干燥器(041)和循環風機(042);所述干燥器(041)輸入端與所述洗滌器(031)的輸出端相通連接;所述循環風機(042)設在所述干燥器(041)排出口一側的管道內部。
10.根據權利要求9所述的一種含有機物的高鹽廢水用分鹽結晶系統,其特征在于:所述分離廢水回流機構包括過濾器B(05)和所述進流管(42);所述分離器(023)的液體排出口以及所述過濾器A(032)的液體排出口均與所述過濾器B(05)的輸入端相通連接;所述過濾器B(05)的液體排出口與所述進流管(42)相通連接。
發明內容
本發明的目的在于提供一種布局合理、投入成本小、便于維護、且能夠對分離的廢水進行循環使用的含有機物的高鹽廢水用分鹽結晶系統及裝置。
為實現上述目的,本發明提供如下技術方案。
一種含有機物的高鹽廢水用分鹽結晶系統及裝置,其中,一種含有機物的高鹽廢水用分鹽結晶裝置,具有底座,底座上方通過支架固定有豎直延伸的過濾筒,過濾筒底部為錐形部,過濾筒的錐形部的兩側分別相通連接有排污管B和導管A,排污管B上安裝有控制閥,導管A內靠近過濾筒處設有過濾網;過濾筒上靠近其頂部處相通連接有導流管,過濾筒內設有過濾盤,過濾盤周側表面與過濾筒內壁可活動地貼合;導管A端部連通有將過濾后的廢液排出的排出管,導管A和排出管的連接處設有用于向過濾筒內沖水的反沖洗機構;導流管的端部與三通閥門A的其中一端口相通連接,三通閥門A的另外兩端口分別相通連接有進流管和排污管A;底座上方設有升降調節機構,用于帶動過濾盤貼合過濾筒內壁上下移動;過濾筒的頂部設有旋轉刮掃機構,用于將過濾盤上方積聚的雜質刮下。
由此可見,本發明通過進流管的一個進水口將待處理的廢水經三通閥門A和導流管注入過濾筒內,經過濾盤將大顆粒雜質濾去后的廢水依次經導管A和排出管流入至下一工序中,在該過程中,通過過濾網能夠對廢水進行再次精細的過濾,能夠有效代替傳統的沉淀過濾系統對廢水進行初級處理,整體結構布局小巧,不會占用過多空間,且過濾快速,提高廢水處理效率,利用過濾盤和過濾網實現雙重過濾,除雜效果更好。利用反沖洗機構向過濾筒內沖水,可對過濾筒內進行清潔維護,清潔過程無需人工過多參與,保證裝置整體的清潔維護更加方便。反沖水與排水共用一套管路系統,進水與過濾筒上方排污共用一套管路系統,避免額外布置較多管路,大大降低了成本的投入,具體較高的經濟回報價值。
進一步的,反沖洗機構包括三通閥門B、進水管和水泵;排出管和導管A與三通閥門B其中的兩端口對應相通連接,進水管與三通閥門B另外的端部相通連接;水泵的輸出端與進水管相通連接,水泵的輸入端相通連接有導管B;導管B與蓄水池相通連接。
在將過濾后的廢水經排出管排出時,通過調控三通閥門B使排出管僅與導管A相通即可,在對過濾筒內進行反沖水時,調控三通閥門B使進水管僅與導管A相通即可,此時蓄水池內的水體經水泵泵入導管A內,并沖向過濾筒內,即可實現對過濾筒內的清潔維護,操作便捷。
進一步的,旋轉刮掃機構包括驅動電機、安裝盤和刮片;驅動電機固定在過濾筒的頂部,過濾筒的內頂壁轉動安裝有軸桿,驅動電機的輸出軸貫穿延伸至過濾筒內與軸桿固定連接;若干刮片間隔固定在安裝盤的下表面。
在過濾盤上移并與刮片貼合時,通過驅動電機工作,其輸出軸帶動軸桿和安裝盤轉動,從而帶動刮片旋轉,能夠將過濾盤上表面的污物刮除,避免造成過濾盤上的濾眼堵塞。
進一步的,升降調節機構包括氣缸和連接桿;連接桿豎直地固定在過濾盤的底部,并貫穿延伸至過濾筒的下方;氣缸固定在底座的上表面,氣缸的伸縮桿與連接桿的下端部固定連接。
通過氣缸伸縮工作,伸縮桿帶動連接桿和過濾盤能夠同步升降,從而實現過濾盤的升降調節功能,不僅便于推動過濾盤上移進行刮掃清潔,同時也便于對過濾盤的位置進行調節,以便實現不同效果的過濾,實用性高。
一種含有機物的高鹽廢水用分鹽結晶系統,采用上述任一項的含有機物的高鹽廢水用分鹽結晶裝置,包括濃縮處理系統、結晶處理系統、洗滌處理系統、干燥處理系統和分離廢水回流機構;濃縮處理系統設在排出管的下游,結晶處理系統設在濃縮處理系統的下游,洗滌處理系統設在結晶處理系統的下游,干燥處理系統設在洗滌處理系統的下游。
經上述分鹽結晶裝置初步處理后的高鹽廢水由排出管導入至濃縮處理系統內進行濃縮處理,能夠濃縮出含有大量鹽分的濃縮液,通過結晶處理系統能夠將濃縮液進行結晶處理,并對晶體和母液進行分離,通過洗滌處理系統能夠將分離出的晶體進行洗滌處理,去除晶體表面的雜質,以提高鹽的質量,通過干燥處理系統將洗滌后的鹽晶進行干燥處理,保證了所得物的含水率和產品質量,通過分離廢水回流機構能夠將上述系統中分離出的母液進行回收再利用,避免水資源的浪費
進一步的,濃縮處理系統包括蒸發器、蒸餾設備和熱泵;其中,若干蒸發器依次并立設置,最上游的蒸發器的進料口與排出管相通連接,上游蒸發器出料口與下游蒸發器的進料口相通連接,最下游的蒸發器的排料口通過管道與蒸餾設備的進料口相通連接;熱泵通過管道對應與蒸發器連接。
通過利用蒸發器和蒸餾設備能夠將初步處理后的廢水進行濃縮,從而濃縮出含有大量鹽分的濃縮液,若干蒸發器串聯形成了蒸發系統,上一蒸發器的蒸發熱量用來加熱下一蒸發器的進料,更加節能,同時蒸餾設備將低溫低熱的廢水中的熱量提取出來,再通過壓縮和冷凝的過程,將熱量轉移到蒸發器中,使廢水中的水分得以蒸發。蒸發器與蒸餾設備配套使用,通能夠互相銜接和協同工作,提高了熱能的利用率。而當高鹽廢水蒸發到一定濃度時,會出現結晶困難、容易發生結垢等問題,這時利用熱泵能夠將溶液中的可結晶物質進行進一步提純,從而提高了結晶的質量。
進一步的,結晶處理系統包括結晶器、沉淀器和分離器;蒸餾設備、沉淀器和分離器依次相通連接;結晶器的進料口與蒸餾設備的出料口相通連接;結晶器、沉淀器和分離器內均設有攪拌器。
在結晶器中加入高濃度鹽水和一定量的晶種和結晶劑,通過攪拌器進行攪拌,能夠使鹽分析逐漸沉積到結晶器的底部,在沉淀器中通過添加化學藥品或自然沉淀方式將雜質沉淀到底部,并通過攪拌器將其混合,便于后續的分離處理,雜質沉淀后,通過分離器將沉淀物和鹽水進行固液分離,再將過濾后的鹽水回輸至結晶器內進行結晶處理。
進一步的,洗滌處理系統包括洗滌器和過濾器A;洗滌器輸入端與結晶器的輸出端相通連接,洗滌器輸出端與過濾器A輸入端相通連接。洗滌器主要用于將經過結晶處理的固體顆粒進行洗滌,以去除表面附著的雜質,在洗滌過程中,固體顆粒被冷卻水和清洗水依次沖洗,隨后得到相對純凈的固態產品。
過濾器A是將廢水中的雜質、懸浮物和顆粒進行過濾,以便將廢水中的液體分離出來,進一步深度凈化,期間加入一些化學藥劑,以幫助過濾廢水中的部分物質。
進一步的,干燥處理系統包括干燥器和循環風機;干燥器輸入端與洗滌器的輸出端相通連接;循環風機設在干燥器排出口一側的管道內部。
將洗滌器洗滌后的晶體導入干燥器內進行干燥,干燥器將干燥后的晶體通過管道輸送到循環風機出,通過循環風機便于將晶體輸送至下一步驟或存儲。
進一步的,分離廢水回流機構包括過濾器B和進流管;分離器的液體排出口以及過濾器A的液體排出口均與過濾器B的輸入端相通連接;過濾器B的液體排出口與進流管相通連接。
通過將由分離器和過濾器A分離出的廢水導入至過濾器B,將過濾后的水體經進流管的第二進水口回輸,實現分離廢水的循環使用,降低了水體的浪費。
(發明人:李軍)






