公布日:2024.04.16
申請日:2024.03.18
分類號:C02F1/02(2023.01)I;B01D46/30(2006.01)I;B01F27/112(2022.01)I;B01F27/07(2022.01)I;B01F27/90(2022.01)I;B08B9/087(2006.01)I;B01F101/00(2022.01)N
摘要
本發明涉及污水加熱消毒技術領域,尤其涉及一種工廠用污水加熱消毒裝置。一種工廠用污水加熱消毒裝置,包括筒體、支腿、出水管、進水管、加熱器、殼體和過濾件,所述殼體上所述開口的外側固接有環形框,所述環形框內連接有安裝架,所述安裝架內設置有減速電機,所述減速電機的輸出軸安裝有扇葉,所述環形框的上端面固接有環形架,所述環形框的外側面通過支架連接有蓋體。本發明通過減速電機工作使扇葉抽取空氣,并采用過濾件對蒸汽中的雜質進行攔截,利用水對氣體進行過濾清洗,防止氣體中較小的雜質隨之飄散,同時通過水洗的方式能夠將氣體中的異味進行去除,防止氣體直接流出污染周圍的空氣。

權利要求書
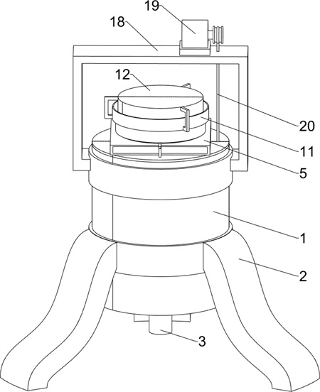
1.一種工廠用污水加熱消毒裝置,其特征是:包括筒體(1),所述筒體(1)的下側設置有支腿(2),所述筒體(1)的底部連通有出水管(3),所述出水管(3)內設置有電磁閥,所述筒體(1)的上側面設置有進水管(301),所述筒體(1)內的頂部設置有加熱器(4),所述筒體(1)的上側面設置有殼體(5),所述殼體(5)設置有上下貫穿的開口,所述筒體(1)的上側面設置有周向等距分布的通孔,周向等距分布的所述通孔位于所述開口的內側,和所述筒體(1)的上側面均設置有同心的開口,所述殼體(5)內放置有用于濾除氣體中雜質的過濾件(6),所述殼體(5)上所述開口的外側固接有環形框(7),所述環形框(7)內連接有安裝架(8),所述安裝架(8)內設置有減速電機(9),所述減速電機(9)的輸出軸安裝有扇葉(10),所述環形框(7)的上端面固接有環形架(11),所述環形框(7)的外側面通過支架連接有蓋體(12);所述蓋體(12)的下端面位于所述環形架(11)內,所述蓋體(12)的下端面與所述環形架(11)內的底部留有供氣體流動的空間;所述環形架(11)內填充有用于洗滌氣體的水,所述水的液面高于所述蓋體(12)的下端面。
2.按照權利要求1所述的一種工廠用污水加熱消毒裝置,其特征是:還包括第一刮板(13),所述第一刮板(13)限位滑動連接于所述筒體(1)的內側面,所述第一刮板(13)的內側面通過連接板(14)固接有第二刮板(15),所述連接板(14)的上側面設有等距分布的第一葉輪(16),所述筒體(1)的上側固接有固定架(18),所述固定架(18)安裝有用于所述第一刮板(13)和所述第二刮板(15)上移的卷繞機(19),所述卷繞機(19)上設置有拉繩(20),所述拉繩(20)貫穿所述固定架(18)和所述筒體(1)的上側面,與所述第一刮板(13)固接。
3.按照權利要求2所述的一種工廠用污水加熱消毒裝置,其特征是:所述第一刮板(13)和第二刮板(15)的厚度由中部向兩側逐漸減少,所述第一刮板(13)和第二刮板(15)的上下兩側均為用于清理加熱器(4)外側面和筒體(1)內側面雜質的刃狀。
4.按照權利要求2所述的一種工廠用污水加熱消毒裝置,其特征是:還包括加熱件(22),所述筒體(1)上設置有用于防止熱量外泄的隔熱腔(21),所述隔熱腔(21)內設置有用于溫度升高的加熱件(22)。
5.按照權利要求4所述的一種工廠用污水加熱消毒裝置,其特征是:還包括安裝盤(23),所述安裝盤(23)固接于所述筒體(1)內的底部,所述安裝盤(23)的中心處設置有下料口,所述下料口的直徑大于所述出水管(3)的內直徑,所述出水管(3)的上端面轉動連接有位于所述下料口內的環形板(24),所述環形板(24)的外側面設置有等距分布的清理板(25),所述環形板(24)內通過支板安裝有第二葉輪(26)。
6.按照權利要求5所述的一種工廠用污水加熱消毒裝置,其特征是:所述安裝盤(23)的厚度由外側逐漸向其中心處減少,所述安裝盤(23)的橫截面呈V形,用于處理后的污水排出。
7.按照權利要求5所述的一種工廠用污水加熱消毒裝置,其特征是:所述第一葉輪(16)和所述第二葉輪(26)的葉片均為傾斜設置,用于水流作為驅動。
8.按照權利要求7所述的一種工廠用污水加熱消毒裝置,其特征是:所述第一葉輪(16)和所述第二葉輪(26)上均同軸連接有分流塊(17),所述分流塊(17)為錐形用于減少上移阻力。
發明內容
為了克服上述背景技術所提出的缺點,本發明的技術問題是:提供一種工廠用污水加熱消毒裝置。
一種工廠用污水加熱消毒裝置,包括筒體,所述筒體的下側設置有支腿,所述筒體的底部連通有出水管,所述出水管內設置有電磁閥,所述筒體的上側面設置有進水管,所述筒體內的頂部設置有加熱器,所述筒體的上側面設置有殼體,所述殼體設置有上下貫穿的開口,所述筒體的上側面設置有周向等距分布的通孔,周向等距分布的所述通孔位于所述開口的內側,所述殼體內放置有用于濾除氣體中雜質的過濾件,所述殼體上所述開口的外側固接有環形框,所述環形框內連接有安裝架,所述安裝架內設置有減速電機,所述減速電機的輸出軸安裝有扇葉,所述環形框的上端面固接有環形架,所述環形框的外側面通過支架連接有蓋體。
進一步,所述蓋體的下端面位于所述環形架內,所述蓋體的下端面與所述環形架內的底部留有供氣體流動的空間。
進一步,所述環形架內填充有用于洗滌氣體的介質,所述介質的液面高于所述蓋體的下端面。
進一步,還包括第一刮板,所述第一刮板限位滑動連接于所述筒體的內側面,所述第一刮板的內側面通過連接板固接有第二刮板,所述連接板的上側面設有等距分布的第一葉輪,所述筒體的上側固接有固定架,所述固定架安裝有用于所述第一刮板和所述第二刮板上移的卷繞機,所述卷繞機上設置有拉繩,所述拉繩貫穿所述固定架和所述筒體的上側面,與所述第一刮板固接。
進一步,所述第一刮板和第二刮板的厚度由中部向兩側逐漸減少,所述第一刮板和第二刮板的上下兩側均為用于清理加熱器外側面和筒體內側面雜質的刃狀。
進一步,還包括加熱件,所述筒體上設置有用于防止熱量外泄的隔熱腔,所述隔熱腔內設置有用于溫度升高的加熱件。
進一步,還包括安裝盤,所述安裝盤固接于所述筒體內的底部,所述安裝盤的中心處設置有下料口,所述下料口的直徑大于所述出水管的內直徑,所述出水管的上端面轉動連接有位于所述下料口內的環形板,所述環形板的外側面設置有等距分布的清理板,所述環形板內通過支板安裝有第二葉輪。
進一步,所述安裝盤的厚度由外側逐漸向其中心處減少,所述安裝盤的橫截面呈V形,用于處理后的污水排出。
進一步,所述第一葉輪和所述第二葉輪的葉片均為傾斜設置,用于水流作為驅動。
進一步,所述第一葉輪和所述第二葉輪上均同軸連接有分流塊,所述分流塊為錐形用于減少上移阻力。
本發明通過減速電機工作使扇葉抽取空氣,并采用過濾件對蒸汽中的雜質進行攔截,利用水對氣體進行過濾清洗,防止氣體中較小的雜質隨之飄散,同時通過水洗的方式能夠將氣體中的異味進行去除,防止氣體直接流出污染周圍的空氣。
本發明通過第一刮板和第二刮板向上和向下移動能夠分別對加熱器的外側面和筒體的內側面上附著的雜質進行清理,且筒體內的污水會給向上移動的第一葉輪施加向下的力,且因第一葉輪的葉片為傾斜設置,為此第一葉輪能夠轉動對筒體內的水進行攪動,避免筒體內的水無法流動,進而影響污水加熱消毒的處理效率。
本發明通過加熱件工作對隔熱腔內的空氣進行加熱,避免筒體內的溫度向外散發,影響污水加熱消毒的效率。
本發明通過污水流出過程中沖擊第二葉輪使其轉動,第二葉輪轉動會通過支板帶動環形板轉動,環形板轉動帶動清理板轉動對安裝盤表面附著的雜質進行清理,避免安裝盤上附著的雜質無法清理,導致逐漸堆積進而影響污水加熱處理。
(發明人:朱江麗;朱姜龍;袁艷伍)






