公布日:2023.10.10
申請日:2023.07.11
分類號:C02F11/00(2006.01)I;C02F11/18(2006.01)I;C02F11/121(2019.01)I
摘要
本發明公開了一種污泥資源化用污泥壓塊設備,屬于污泥處理設備技術領域,包括第一箱體,以及對稱安裝在第一箱體兩側的第二箱體和第三箱體,第一箱體的頂部安裝有與其內部相互連通的進料管。本發明通過進料管和彈力連接機構的設置,能夠在使用的過程中通過彈力連接機構與污泥運輸車的排污管進行密封連接,防止在排放污泥的過程中導致污泥中的細菌或病毒泄露,同時在污泥通過進料管進入第一箱體的內部的過程中加熱套管還能夠對污泥進行加熱對細菌和病毒進行初步滅殺,通過第一箱體、排料機構、第一擠壓機構和第二擠壓機構的設置,能夠在密封的環境下對污泥進行壓塊處理,防止在壓塊的過程中導致污泥中的細菌或病毒泄露。

權利要求書
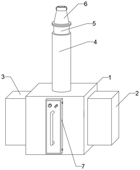
1.一種污泥資源化用污泥壓塊設備,其特征在于,包括第一箱體(1),以及對稱安裝在所述第一箱體(1)兩側的第二箱體(2)和第三箱體(3),所述第一箱體(1)的頂部安裝有與其內部相互連通的進料管(5),所述第二箱體(2)和所述第三箱體(3)的內部分別安裝有第一擠壓機構(8)和第二擠壓機構(9),所述第一擠壓機構(8)和所述第二擠壓機構(9)的一端均延伸至所述第一箱體(1)的內部,且與所述第一箱體(1)內的內壁滑動連接,所述第一箱體(1)的正面安裝有排料機構(7),所述進料管(5)的外側安裝有加熱套管(4),所述進料管(5)的頂端固定連接有彈力連接機構(6)。
2.如權利要求1所述的一種污泥資源化用污泥壓塊設備,其特征在于,所述加熱套管(4)包括固定安裝在所述進料管(5)外側的保溫套(401)。
3.如權利要求2所述的一種污泥資源化用污泥壓塊設備,其特征在于,所述保溫套(401)的內壁上安裝有螺旋環繞在所述進料管(5)外側的電加熱管(402)。
4.如權利要求1所述的一種污泥資源化用污泥壓塊設備,其特征在于,所述彈力連接機構(6)包括彈力套管(601),所述彈力套管(601)的底端固定連接有與所述進料管(5)頂端相互連接的安裝座(602)。
5.如權利要求4所述的一種污泥資源化用污泥壓塊設備,其特征在于,所述彈力套管(601)的頂端固定連接有彈性卡箍(603),所述彈性卡箍(603)的外側固定安裝有多個均勻分布的C形的拉手(604)。
6.如權利要求1所述的一種污泥資源化用污泥壓塊設備,其特征在于,所述排料機構(7)包括安裝在所述第一箱體(1)正面的排料管(701),所述排料管(701)的內側滑動安裝有密封塊(702)。
7.如權利要求,6所述的一種污泥資源化用污泥壓塊設備,其特征在于,所述排料管(701)的正面安裝有把手(706),所述把手(706)的上方設有安裝在所述密封塊(702)正面的壓力表(704),所述壓力表(704)的一側設有貫穿安裝在所述密封塊(702)上的排氣管(705),所述排氣管(705)的中部安裝有閥門。
8.如權利要求7所述的一種污泥資源化用污泥壓塊設備,其特征在于,所述排料管(701)的兩側均螺紋連接有多個用于固定所述密封塊(702)的鎖緊螺柱(703)。
9.如權利要求1所述的一種污泥資源化用污泥壓塊設備,其特征在于,所述第一擠壓機構(8)和所述第二擠壓機構(9)均包括L形的擠壓板(801),所述擠壓板(801)的一側安裝有多個均勻分布的液壓缸(802)。
10.如權利要求9所述的一種污泥資源化用污泥壓塊設備,其特征在于,所述擠壓板(801)的內部設有空腔,所述空腔的內部安裝有電加熱板(803)。
發明內容
本發明的主要目的是為了解決現有技術不足,而提供的一種污泥資源化用污泥壓塊設備。
本發明的目的可以通過采用如下技術方案達到:
一種污泥資源化用污泥壓塊設備,包括第一箱體,以及對稱安裝在所述第一箱體兩側的第二箱體和第三箱體,所述第一箱體的頂部安裝有與其內部相互連通的進料管,所述第二箱體和所述第三箱體的內部分別安裝有第一擠壓機構和第二擠壓機構,所述第一擠壓機構和所述第二擠壓機構的一端均延伸至所述第一箱體的內部,且與所述第一箱體內的內壁滑動連接,所述第一箱體的正面安裝有排料機構,所述進料管的外側安裝有加熱套管,所述進料管的頂端固定連接有彈力連接機構。
優選的,所述加熱套管包括固定安裝在所述進料管外側的保溫套。
優選的,所述保溫套的內壁上安裝有螺旋環繞在所述進料管外側的電加熱管。
優選的,所述彈力連接機構包括彈力套管,所述彈力套管的底端固定連接有與所述進料管頂端相互連接的安裝座。
優選的,所述彈力套管的頂端固定連接有彈性卡箍,所述彈性卡箍的外側固定安裝有多個均勻分布的C形的拉手。
優選的,所述排料機構包括安裝在所述第一箱體正面的排料管,所述排料管的內側滑動安裝有密封塊。
優選的,所述排料管的正面安裝有把手,所述把手的上方設有安裝在所述密封塊正面的壓力表,所述壓力表的一側設有貫穿安裝在所述密封塊上的排氣管,所述排氣管的中部安裝有閥門。
優選的,所述排料管的兩側均螺紋連接有多個用于固定所述密封塊的鎖緊螺柱。
優選的,所述第一擠壓機構和所述第二擠壓機構均包括L形的擠壓板,所述擠壓板的一側安裝有多個均勻分布的液壓缸。
優選的,所述擠壓板的內部設有空腔,所述空腔的內部安裝有電加熱板。
本發明的有益技術效果:按照本發明的污泥資源化用污泥壓塊設備,通過進料管和彈力連接機構的設置,能夠在使用的過程中通過彈力連接機構與污泥運輸車的排污管進行密封連接,防止在排放污泥的過程中導致污泥中的細菌或病毒泄露,同時在污泥通過進料管進入第一箱體的內部的過程中加熱套管還能夠對污泥進行加熱對細菌和病毒進行初步滅殺,通過第一箱體、排料機構、第一擠壓機構和第二擠壓機構的設置,能夠在密封的環境下對污泥進行壓塊處理,防止在壓塊的過程中導致污泥中的細菌或病毒泄露。
(發明人:孫理想)






