申請日2015.10.19
公開(公告)日2016.05.04
IPC分類號C02F9/14
摘要
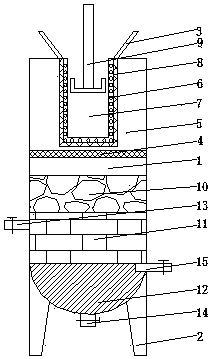
本實用新型涉及一種改進的船舶水處理設備,包括外殼,外殼底部設有支撐腳,外殼內部從上到下依次設有進料口、過濾區和沉淀區,過濾區和沉淀區之間設有過濾網A,過濾區包括過濾組件和包裹于過濾組件外的過濾腔,過濾組件包括帶有濾孔的濾筒以及濾筒外的過濾網,濾筒內設有推壓組件,沉淀區從上到下依次設有植物型沸石處理區、生物酶處理區以及螺旋槽。本實用新型的優點是:結構簡單,使用方便,處理船舶污水方便快速。
權利要求書
1.一種改進的船舶水處理設備,其特征在于:包括外殼,所述外殼底部設有支撐腳,所述外殼內部從上到下依次設有進料口、過濾區和沉淀區,所述過濾區和沉淀區之間設有過濾網A,所述過濾區包括過濾組件和包裹于過濾組件外的過濾腔,所述過濾組件包括帶有濾孔的濾筒以及濾筒外的過濾網,所述濾筒內設有推壓組件,所述沉淀區從上到下依次設有植物型沸石處理區、生物酶處理區以及螺旋槽。
2.根據權利要求1所述的一種改進的船舶水處理設備,其特征在于:所述生物酶處理區一側連接添加口。
3.根據權利要求1所述的一種改進的船舶水處理設備,其特征在于:所述螺旋槽底部設有出料口,邊側設有出水口。
說明書
一種改進的船舶水處理設備
技術領域
本實用新型涉及一種船舶污水處理設備,尤其涉及一種改進的船舶水處理設備。
背景技術
船舶算是在水路航運方面的交通工具,通常航運的時間較長,在船舶在航運過程中會產生很多的污水。由于現在水污染非常嚴重,因此在將船舶內的污水排入到海或江河海內之前,必須對污水進行處理,以其達到排放標準,但是現有的污水處理設備,多是針對陸地上使用,其占地面積大,操作流程復雜,處理費用高,維護不便。因此,應該提供一種新的技術方案解決上述問題。
發明內容
本實用新型的目的是:提供一種改進的船舶水處理設備。
為實現上述目的,本實用新型采用的技術方案是:
一種改進的船舶水處理設備,包括外殼,外殼底部設有支撐腳,外殼內部從上到下依次設有進料口、過濾區和沉淀區,過濾區和沉淀區之間設有過濾網A,過濾區包括過濾組件和包裹于過濾組件外的過濾腔,過濾組件包括帶有濾孔的濾筒以及濾筒外的過濾網,濾筒內設有推壓組件,沉淀區從上到下依次設有植物型沸石處理區、生物酶處理區以及螺旋槽。
生物酶處理區一側連接添加口。
螺旋槽底部設有出料口,邊側設有出水口。
在上述技術方案中,與現有技術相比所達到的優點是:結構簡單,使用方便,處理船舶污水方便快速。







