申請日2015.08.21
公開(公告)日2016.03.02
IPC分類號E04H1/12; E03C1/12; E03C1/264
摘要
本實用新型公開了一種具有污水回收功能的智能沖涼室,其包括沖涼室地漏、污水箱和馬桶。污水箱內設置有過濾裝置,污水箱內還設置有水泵,水泵的出水口通過一回水管與馬桶的儲水箱相連通。過濾裝置包括進水管、出水管和至少一層過濾件;進水管與沖涼室地漏相連通,出水管與水泵的進水口相連通;且進水管處設有進水控制閥,出水管處設有出水開關閥。實施本實用新型的技術方案,將污水箱設置于沖涼室地漏下方的地面以下,使得沖涼后產生的生活污水得到回收,并通過污水箱內的過濾裝置和水泵實現生活污水的重復利用。且配合進水控制閥和出水開關閥可以實現生活污水回收利用的自動化,從而智能沖涼室的結構簡單、安裝方便、節水效果明顯。
權利要求書
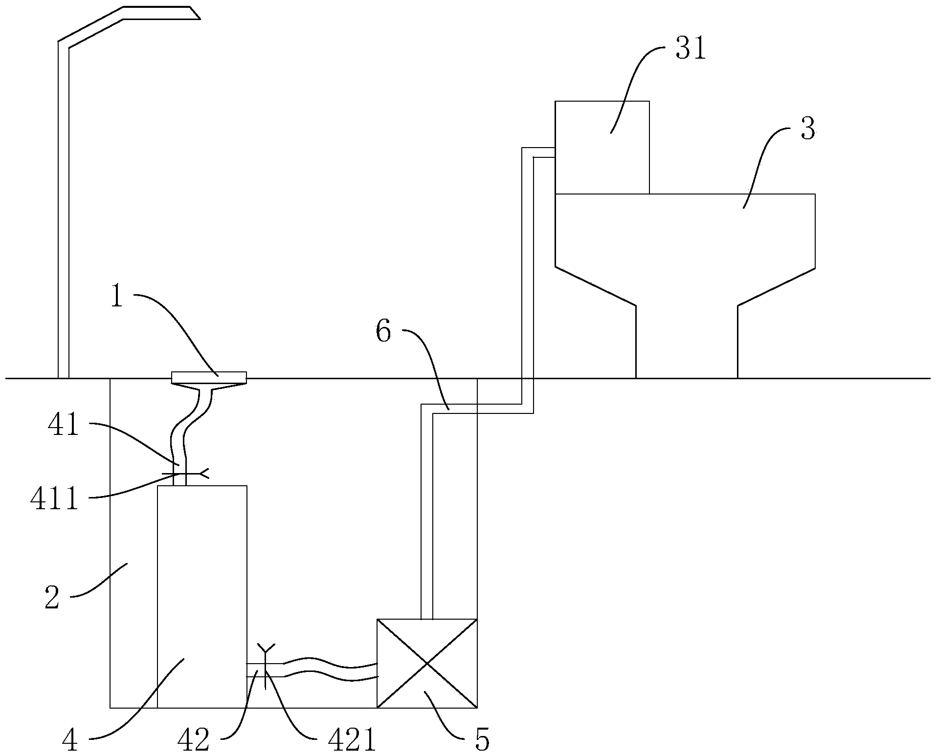
1.一種具有污水回收功能的智能沖涼室,其特征在于,包括沖涼室地漏(1)、設置在所述沖涼室地漏(1)下方的污水箱(2),以及設置在所述所述沖涼室旁的馬桶(3);
所述污水箱(2)內設置有過濾裝置(4),所述污水箱(2)內還設置有水泵(5),所述水泵(5)的出水口通過一回水管(6)與所述馬桶(3)的儲水箱(31)相連通;
所述過濾裝置(4)包括進水管(41)、出水管(42),以及設置在所述過濾裝置(4)的內腔中的至少一層過濾件;所述進水管(41)與所述沖涼室地漏(1)相連通,所述出水管(42)與所述水泵(5)的進水口相連通;且所述進水管(41)處設有進水控制閥(411),所述出水管(42)處設有出水開關閥(421)。
2.根據權利要求1所述的具有污水回收功能的智能沖涼室,其特征在于,所述過濾裝置(4)由上蓋、下蓋密封螺紋連接構成,所述上蓋內頂面、下蓋內底面設有定位所述過濾件的定位部。
3.根據權利要求2所述的具有污水回收功能的智能沖涼室,其特征在于,所述過濾件與所述定位部之間的連接為螺紋配合、扣合或嵌合的任意一種或兩種組合。
4.根據權利要求1所述的具有污水回收功能的智能沖涼室,其特征在于,所述進水管(41)和/或出水管(42)中連接污水處理塊,所述污水處理塊由礦物質構成且溶于水的物質。
5.根據權利要求1所述的具有污水回收功能的智能沖涼室,其特征在于,所述污水箱(2)與家庭污水排水管連通且所述污水排水管中設有閥門及過濾網。
6.根據權利要求5所述的具有污水回收功能的智能沖涼室,其特征在于,所述污水箱(2)中設有溢流管,所述溢流管的上部與所述污水箱(2)連通,所述溢流管的底部通過所述污水排水管與下水道連通。
7.根據權利要求1所述的具有污水回收功能的智能沖涼室,其特征在于,所述過濾件為設置在所述過濾裝置(4)內的過濾板,所述過濾板上方的空間與所述進水管(41)相連通,所述過濾板下方的空間與所述出水管(42)相連通。
8.根據權利要求7所述的具有污水回收功能的智能沖涼室,其特征在于,所述過濾板的最低處設有孔并放置有球閥,所述球閥上設有拉線并通過管線延伸至所述污水箱(2)外。
9.根據權利要求7所述的具有污水回收功能的智能沖涼室,其特征在于,所述過濾板在所述過濾裝置內呈傾斜放置,所述過濾板與所述過濾裝置的最高點有一個相交點,所述過濾板與所述過濾裝置的最低點有一個相交點。
10.根據權利要求7所述的具有污水回收功能的智能沖涼室,其特征在于,所述過濾裝置(4)的中部還設置有濾網,所述濾網為多層濾網。
說明書
具有污水回收功能的智能沖涼室
技術領域
本實用新型涉及一種具有污水回收功能的智能沖涼室。
背景技術
目前,我國有200多個城市缺水,水的供需矛盾日益突出。如何解決目前的缺水狀態,只有從節約用水及處理好污水的方面著手工作。比如廁所用水箱實現定時定量供水,防止水的浪費。以及其它在用水裝置上所使用的污水處理裝置等。這些都是一種有效地節水方法。就家庭生活污水而言,其重復利用無疑是節約用水的一條重要而現實的途徑。但現有家庭所用的污水二次利用裝置,比較復雜,成本較高,一般家庭并不合適。也有的污水二次利用裝置,開始時使用效果還可以,一段時間后,使用效果變差,不能進行方便的清污處理,也不適合家庭使用。
實用新型內容
本實用新型要解決的技術問題在于,提供一種改進的具有污水回收功能的智能沖涼室。
本實用新型解決其技術問題所采用的技術方案是:構造一種具有污水回收功能的智能沖涼室,其包括沖涼室地漏、設置在所述沖涼室地漏下方的污水箱,以及設置在所述所述沖涼室旁的馬桶;
所述污水箱內設置有過濾裝置,所述污水箱內還設置有水泵,所述水泵的出水口通過一回水管與所述馬桶的儲水箱相連通;
所述過濾裝置包括進水管、出水管,以及設置在所述過濾裝置的內腔中的至少一層過濾件;所述進水管與所述沖涼室地漏相連通,所述出水管與所述水泵的進水口相連通;且所述進水管處設有進水控制閥,所述出水管處設有出水開關閥。
本實用新型的具有污水回收功能的智能沖涼室中,所述過濾裝置由上蓋、下蓋密封螺紋連接構成,所述上蓋內頂面、下蓋內底面設有定位所述過濾件的定位部。
本實用新型的具有污水回收功能的智能沖涼室中,所述過濾件與所述定位部之間的連接為螺紋配合、扣合或嵌合的任意一種或兩種組合。
本實用新型的具有污水回收功能的智能沖涼室中,所述進水管和/或出水管中連接污水處理塊,所述污水處理塊由礦物質構成且溶于水的物質。
本實用新型的具有污水回收功能的智能沖涼室中,所述污水箱與家庭污水排水管連通且所述污水排水管中設有閥門及過濾網。
本實用新型的具有污水回收功能的智能沖涼室中,所述污水箱中設有溢流管,所述溢流管的上部與所述污水箱連通,所述溢流管的底部通過所述污水排水管與下水道連通。
本實用新型的具有污水回收功能的智能沖涼室中,所述過濾件為設置在所述過濾裝置內的過濾板,所述過濾板上方的空間與所述進水管相連通,所述過濾板下方的空間與所述出水管相連通。
本實用新型的具有污水回收功能的智能沖涼室中,所述過濾板的最低處設有孔并放置有球閥,所述球閥上設有拉線并通過管線延伸至所述污水箱外。
本實用新型的具有污水回收功能的智能沖涼室中,所述過濾板在所述過濾裝置內呈傾斜放置,所述過濾板與所述過濾裝置的最高點有一個相交點,所述過濾板與所述過濾裝置的最低點有一個相交點。
本實用新型的具有污水回收功能的智能沖涼室中,所述過濾裝置的中部還設置有濾網,所述濾網為多層濾網。
實施本實用新型的技術方案,至少具有以下的有益效果:將污水箱設置于沖涼室地漏下方的地面以下,使得沖涼后產生的生活污水得到回收,并通過污水箱內的過濾裝置和水泵實現生活污水的重復利用。且配合進水控制閥和出水開關閥可以實現生活污水回收利用的自動化,從而智能沖涼室的結構簡單、安裝方便、節水效果明顯。







