申請日2015.07.07
公開(公告)日2015.11.04
IPC分類號C02F3/34; C02F3/02
摘要
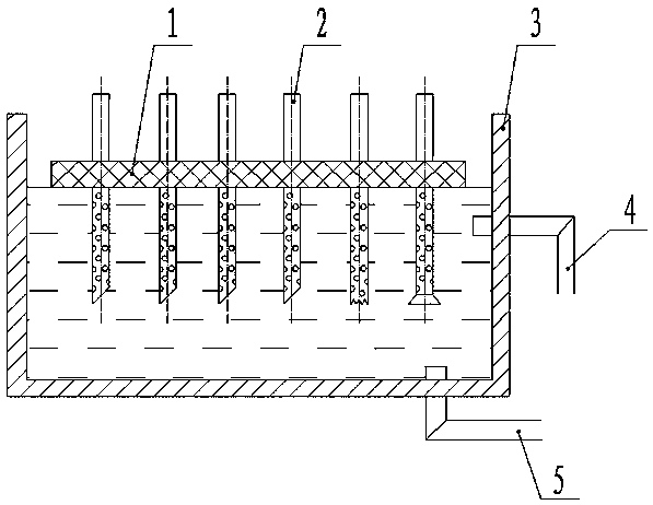
本實用新型公開了一種微生物絮凝懸浮廢水處理裝置,屬于廢水處理裝置;旨在提供一種結構簡單、無動力消耗、運行維護成本低的煤礦廢水處理裝置。它包括廢水處理池;廢水處理池(3)中有漂浮板(1),該漂浮板上固定有若干向下伸入廢水處理池(3)中的加料管(2),各加料管(2)位于漂浮板(1)以下的部位分布有若干小孔。本實用新型能保證加料管的下半段始終浸沒于水體中而生成微生物膜;不僅可在滿足供氧需求的情況下省略曝氣裝置,降低成本、節約電力,而且還能保證絮凝劑均勻分散于水體中。是一種用于煤礦廢水處理裝置的微生物絮凝懸浮處理裝置。
權利要求書
1.一種微生物絮凝懸浮廢水處理裝置,包括廢水處理池;其特征在于:廢水處理池(3)中有漂浮板(1),該漂浮板上固定有若干向下伸入廢水處理池(3)中的加料管(2),各加料管(2)位于漂浮板(1)以下的部位分布有若干小孔。
2.根據權利要求1所述的微生物絮凝懸浮廢水處理裝置,其特征在于:加料管(2)的下端口為斜剖口。
3.根據權利要求1所述的微生物絮凝懸浮廢水處理裝置,其特征在于:加料管(2)的下端口為鋸齒口。
4.根據權利要求1所述的微生物絮凝懸浮廢水處理裝置,其特征在于:加料管(2)的下端口為喇叭口。
說明書
微生物絮凝懸浮廢水處理裝置
技術領域
本實用新型涉及一種煤礦廢水處理裝置,尤其涉及一種用于處理煤礦廢水的微生物絮凝懸浮裝置;屬于廢水處理裝置。
背景技術
煤礦廢水是在煤產品生產或加工過程中形成的廢水,其中除了含有原煤本身具有的物質外,還可能含有煤轉化的中間產物,以及生產過程中加入的其它化學物質等;因此污染物濃度高,成分復雜,生物毒性大,如果未經處理而直接排放,會對環境及人健康產生嚴重影響。
目前,通常采用懸浮生物填料氧化池來處理煤礦廢水(如:CN204417295U);在該專利中,由塑料制成的懸浮生物填料雖然能夠吸附水體中的微生物,并生成微生物膜而除去水體中的氨、氮等有機物,具有凈化效果好的優點;但存在結構復雜、動力消耗大、運行不穩定等缺陷,而且還需經常清洗曝氣頭和懸浮生物填料;運行成本高、維護麻煩。
發明內容
針對現有技術中存在的上述缺陷,本實用新型旨在提供一種結構簡單、無動力消耗、運行維護成本低的微生物絮凝懸浮廢水處理裝置。
為了實現上述目的,本實用新型采用以下技術方案:它包括廢水處理池;廢水處理池中有漂浮板,該漂浮板上固定有若干向下伸入廢水處理池中的加料管,各加料管位于漂浮板以下的部位分布有若干小孔。
加料管的下端口為斜剖口、或鋸齒口、或喇叭口。
與現有技術比較,本實用新型由于上述技術方案,利用漂浮于水體表面的漂浮板來作為固定加料管的載體;因此無論液面高度如何變化,都能保證加料管的下半段始終浸沒于水體中而生成微生物膜。另外,由于加料管的下半段分布有若干小孔,因此不僅可實現對水體進行增氧,省略曝氣裝置、降低成本、節約電力,而且還能保證從加料管添加的絮凝劑均勻分散于水體中。







